GM Service Manual Online
For 1990-2009 cars only
Makes
🢒
Chevrolet
🢒
2000
🢒
Blazer - 4WD - RHD
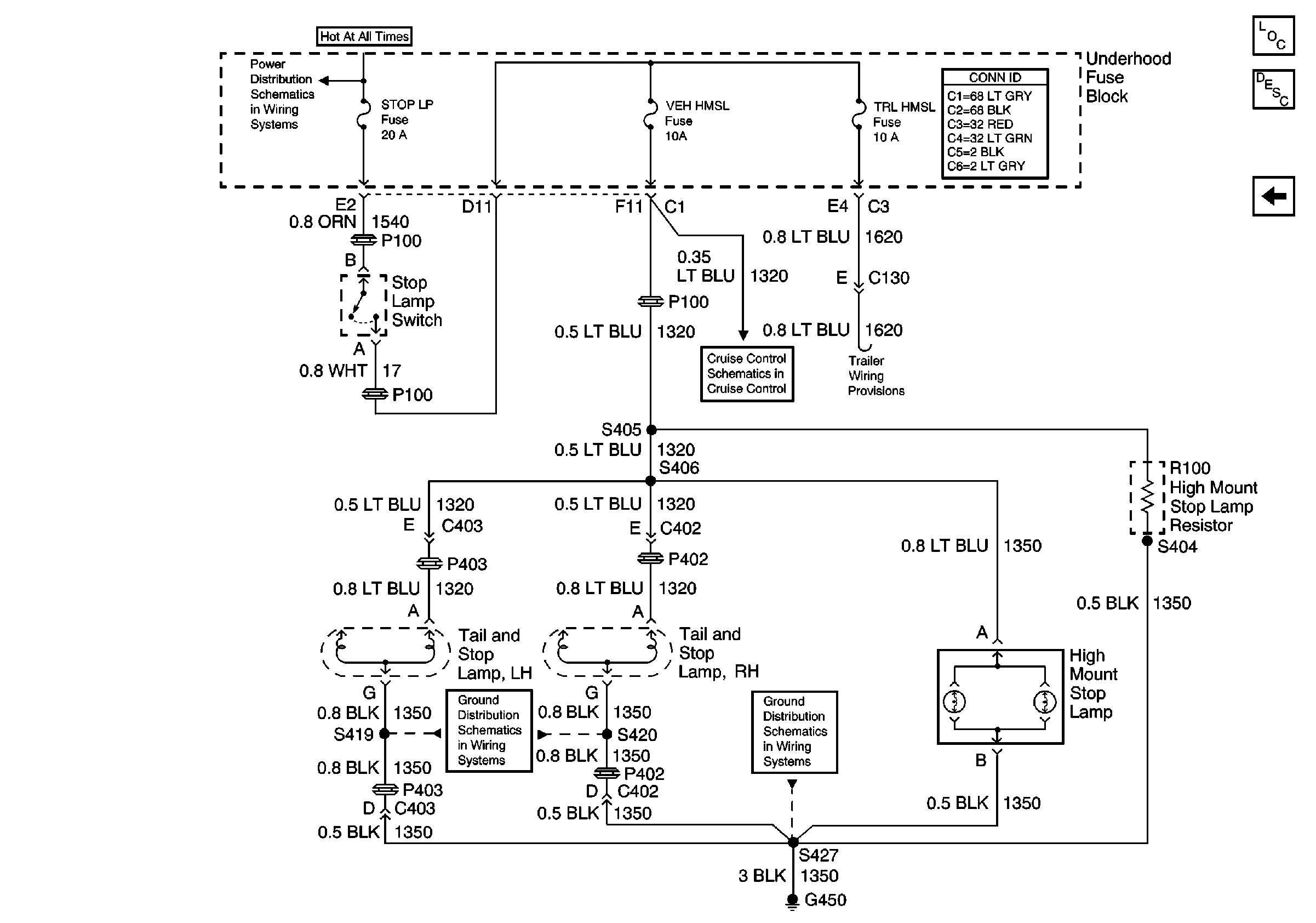
🢒 STOP LP, VEH HMSL, and TRL HMSL Fuses
STOP LP, VEH HMSL, and TRL HMSL Fuses
STOP LP, VEH HMSL, and TRL HMSL Fuses
Lighting Systems Component Views
Exterior Lights Circuit Description
Hazard Switch, TURN, and HAZ LP Fuses
B+ Bus Bar
Power and Grounding Connector End Views
Cruise Control Schematic
G450
G450