GM Service Manual Online
For 1990-2009 cars only
Makes
🢒
Chevrolet
🢒
2000
🢒
Blazer - 4WD - RHD
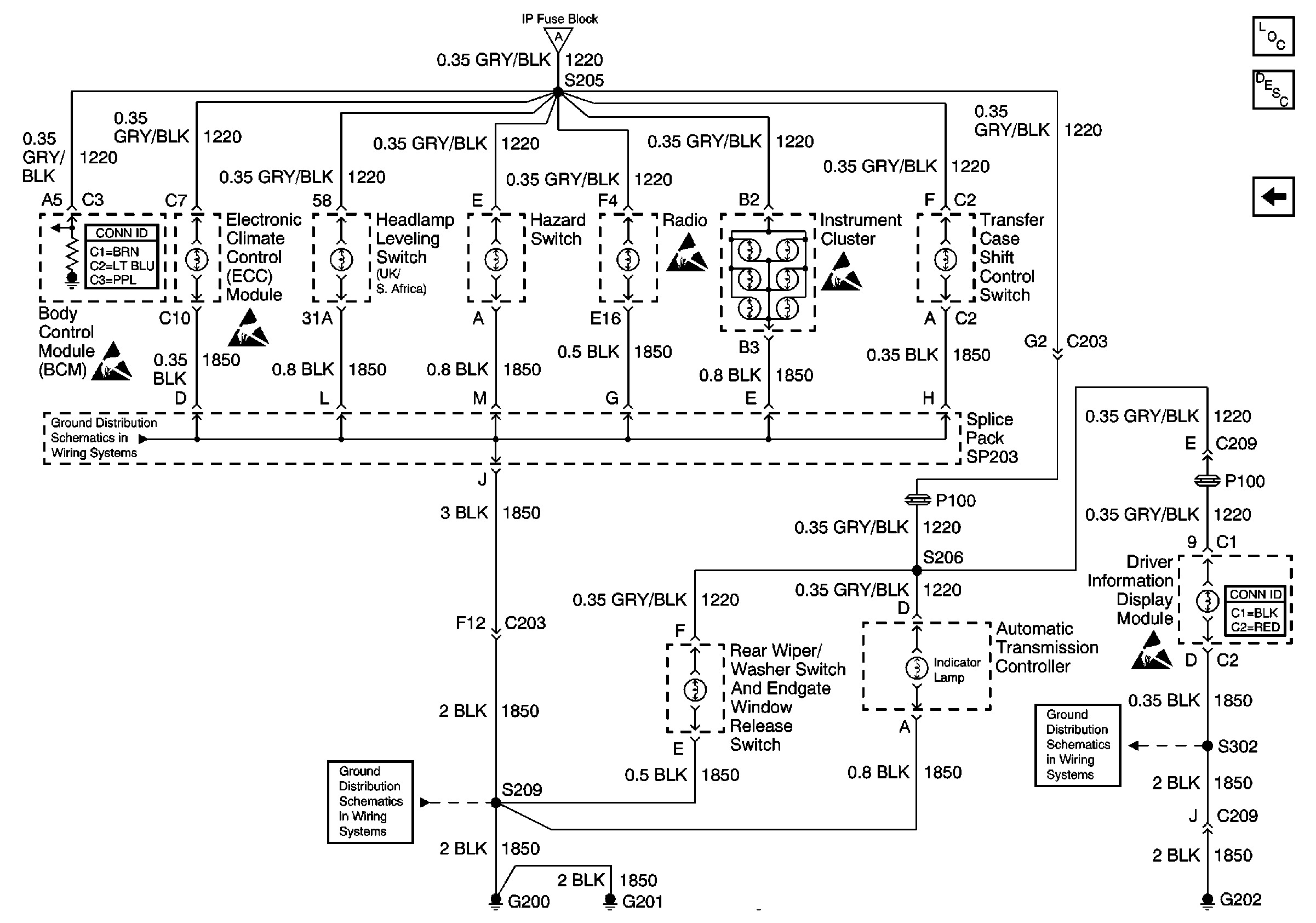
🢒 Hazard Switch, Radio, Instrument Cluster and Ground
Hazard Switch, Radio, Instrument Cluster and Ground
Hazard Switch, Radio, Instrument Cluster and Ground
Lighting Systems Component Views
Interior Lights Dimming Circuit Description
Power, Ground and BCM
Power, Ground and BCM
Body Control System Connector End Views
G200 and G201
G202 and G204
Driver Information Systems Connector End Views
Handling ESD Sensitive Parts Notice
Handling ESD Sensitive Parts Notice
Handling ESD Sensitive Parts Notice
Handling ESD Sensitive Parts Notice
Handling ESD Sensitive Parts Notice