GM Service Manual Online
For 1990-2009 cars only
Makes
🢒
Chevrolet
🢒
2000
🢒
Blazer - 4WD - RHD
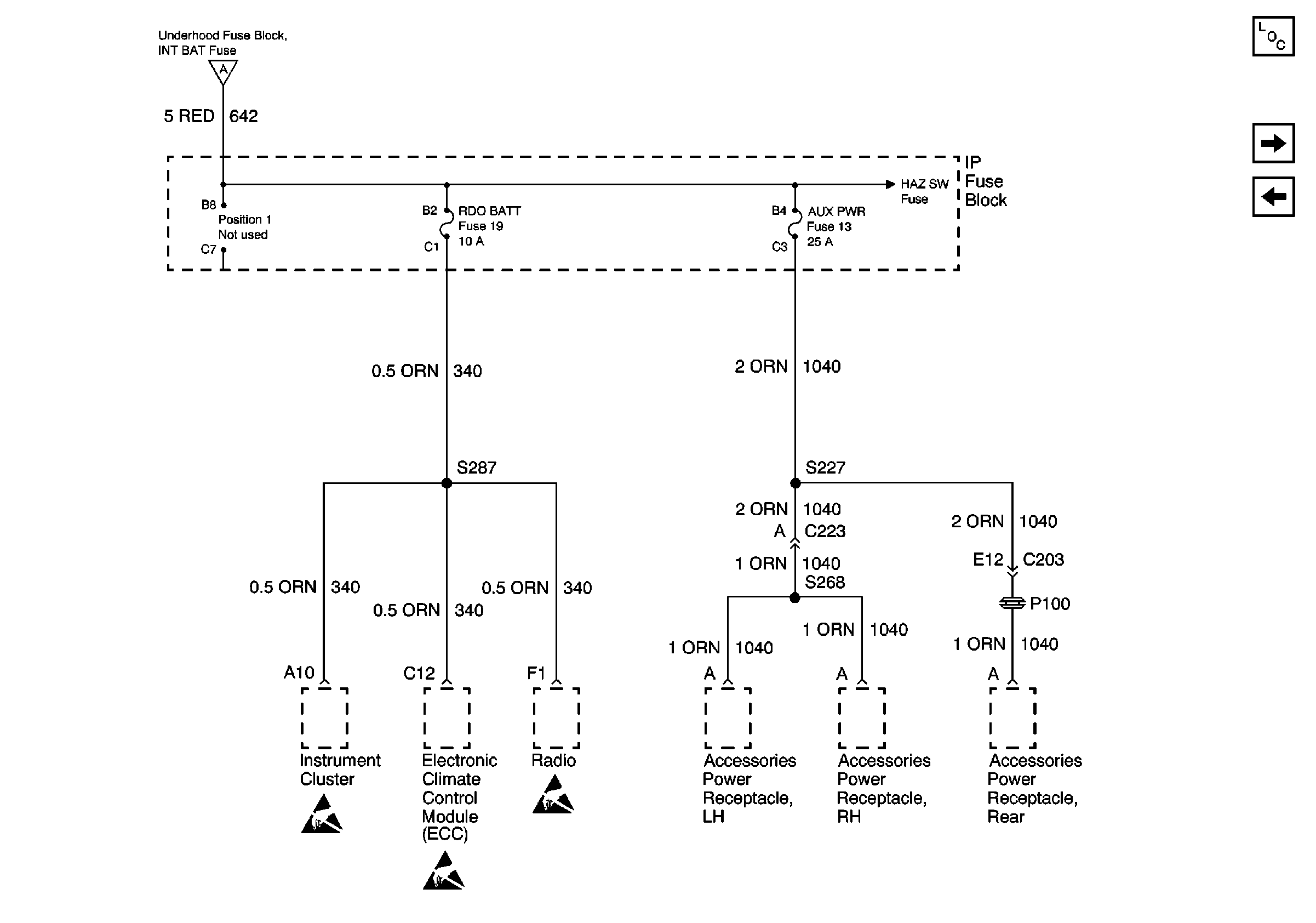
🢒 RDO BAT and AUX PWR Fuses
RDO BAT and AUX PWR Fuses
RDO BAT and AUX PWR Fuses
Power and Grounding Components
TURN, HAZ SW, LT TURN, TRL TRN, LT TRN, TRR TRN, RT TRN, and RT TURN Fuses
STUD 2, INT BAT, CIGAR LTR, CTSY LP and PWR LKS Fuses
STUD 2, INT BAT, CIGAR LTR, CTSY LP and PWR LKS Fuses
TURN, HAZ SW, LT TURN, TRL TRN, LT TRN, TRR TRN, RT TRN, and RT TURN Fuses
Handling ESD Sensitive Parts Notice
Handling ESD Sensitive Parts Notice
Handling ESD Sensitive Parts Notice