GM Service Manual Online
For 1990-2009 cars only
Makes
🢒
Chevrolet
🢒
2000
🢒
Blazer - 4WD - RHD
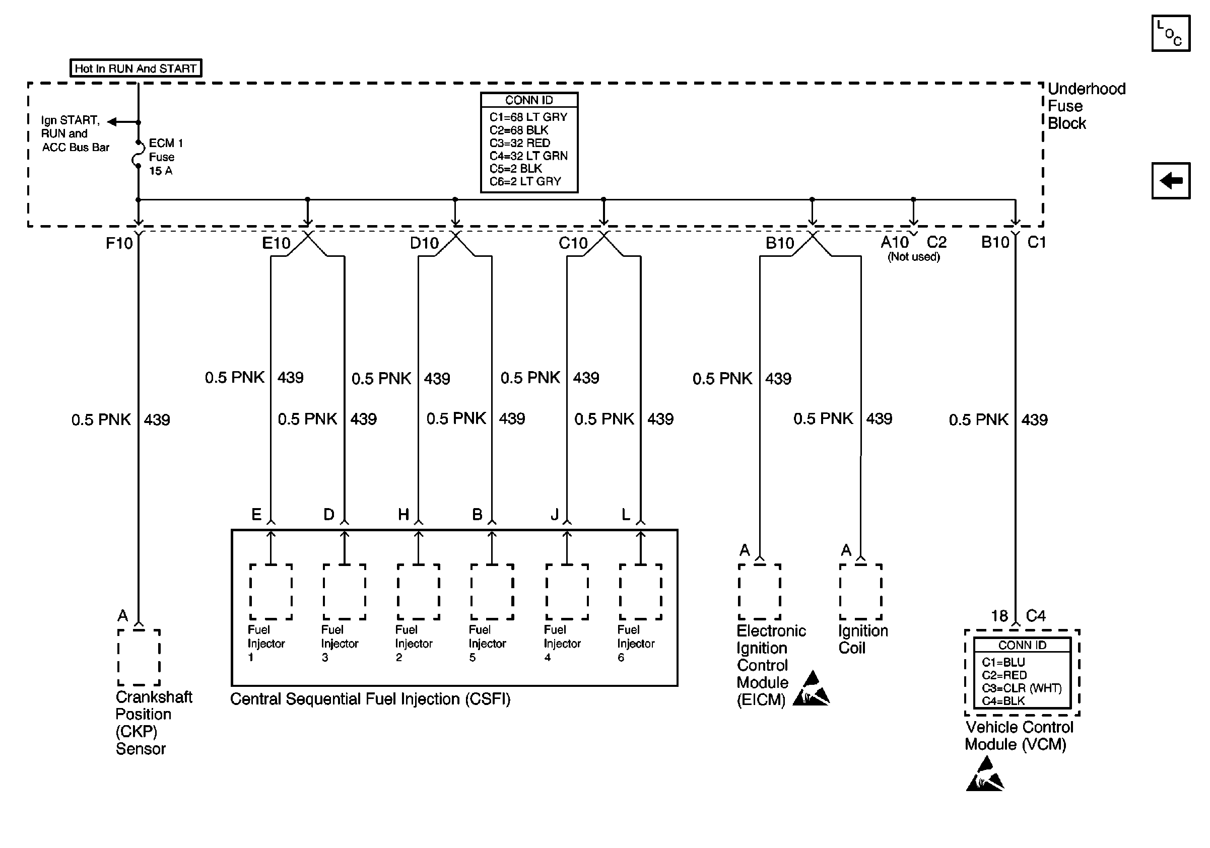
🢒 ECM I Fuse
ECM I Fuse
ECM I Fuse
Power and Grounding Components
B/U LP, OXYSEN, ENG I, TRL B/U, VEH B/U and BTSI Fuses
Ign START, RUN and ACC Bus Bar
Power and Grounding Connector End Views
Handling ESD Sensitive Parts Notice
VCM Connector End Views
Handling ESD Sensitive Parts Notice