GM Service Manual Online
For 1990-2009 cars only
Makes
🢒
Chevrolet
🢒
2001
🢒
Blazer - 4WD - RHD
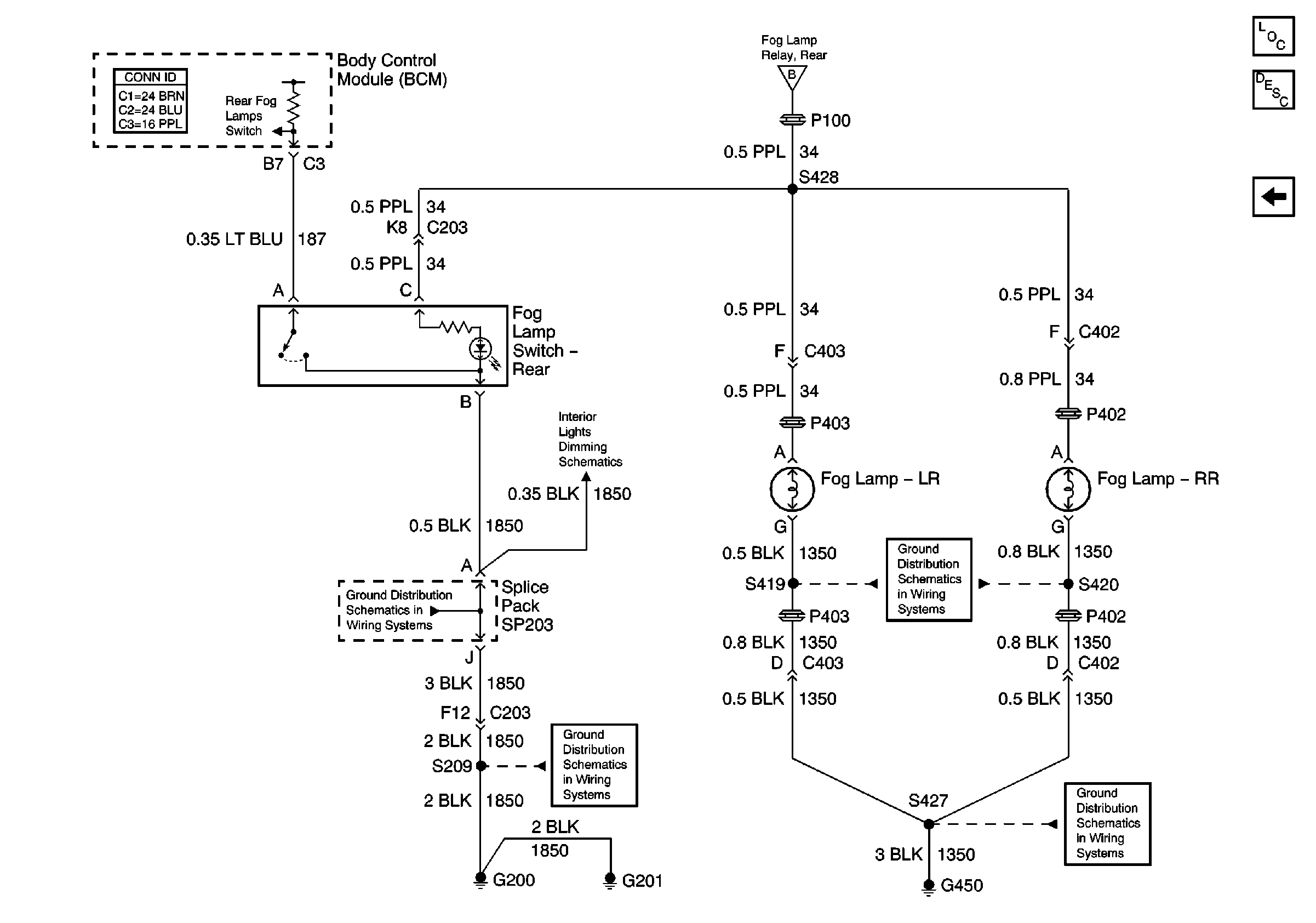
🢒 Fog Lamps - LR/RR, and Fog Lamp Switch - Rear
Fog Lamps - LR/RR, and Fog Lamp Switch - Rear
Fog Lamps -- LR/RR, and Fog Lamp Switch -- Rear
Master Electrical Component List
Exterior Lighting Systems Description and Operation
Fog Lamp Relay, Rear
Fog Lamp Relay, Rear
SP203
Power, Ground and BCM
G200 and G201
S320 and S420
G450