GM Service Manual Online
For 1990-2009 cars only
Makes
🢒
Chevrolet
🢒
2002
🢒
Blazer - 4WD - RHD
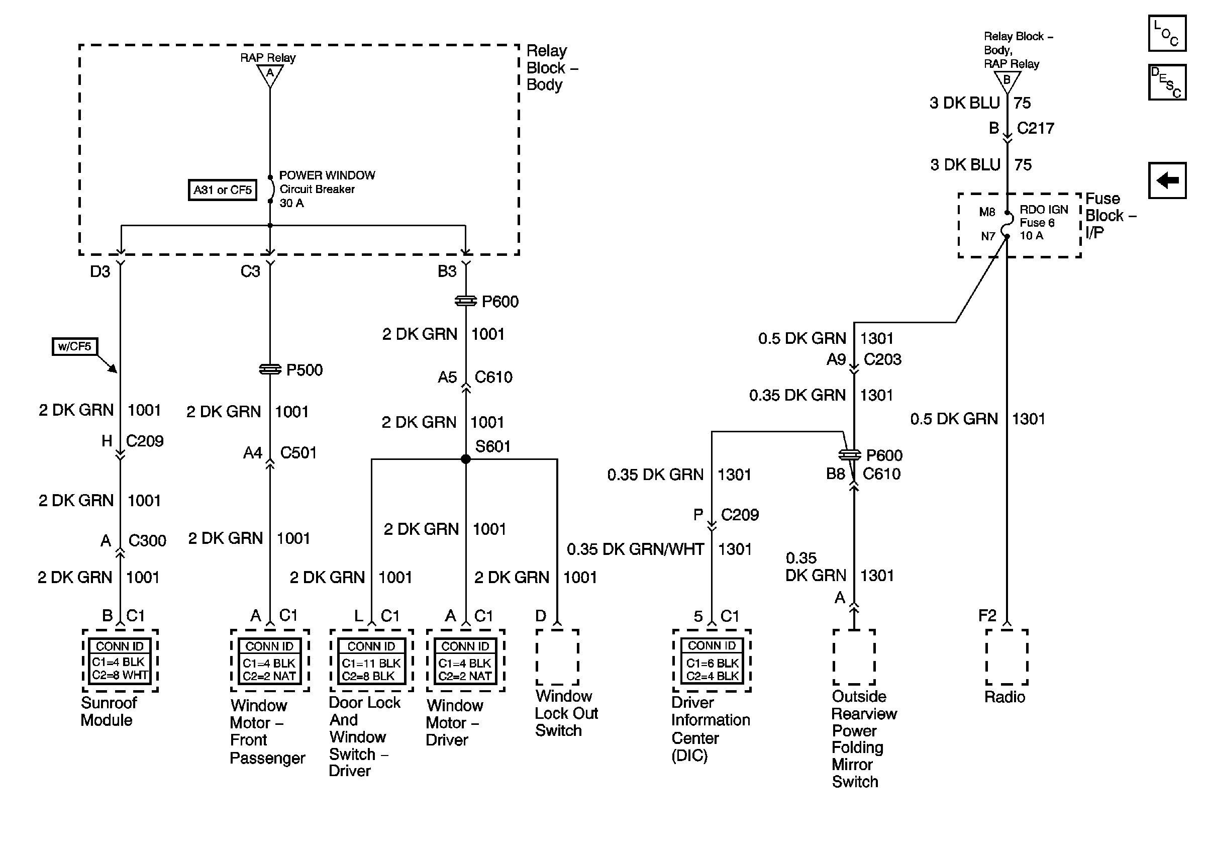
🢒 RADIO IGN Fuse
RADIO IGN Fuse
RADIO IGN Fuse
Master Electrical Component List
Retained Accessory Power (RAP) Description and Operation
Power, BCM and Ignition and Start Switch
Power, BCM and Ignition and Start Switch
Power, BCM and Ignition and Start Switch