GM Service Manual Online
For 1990-2009 cars only
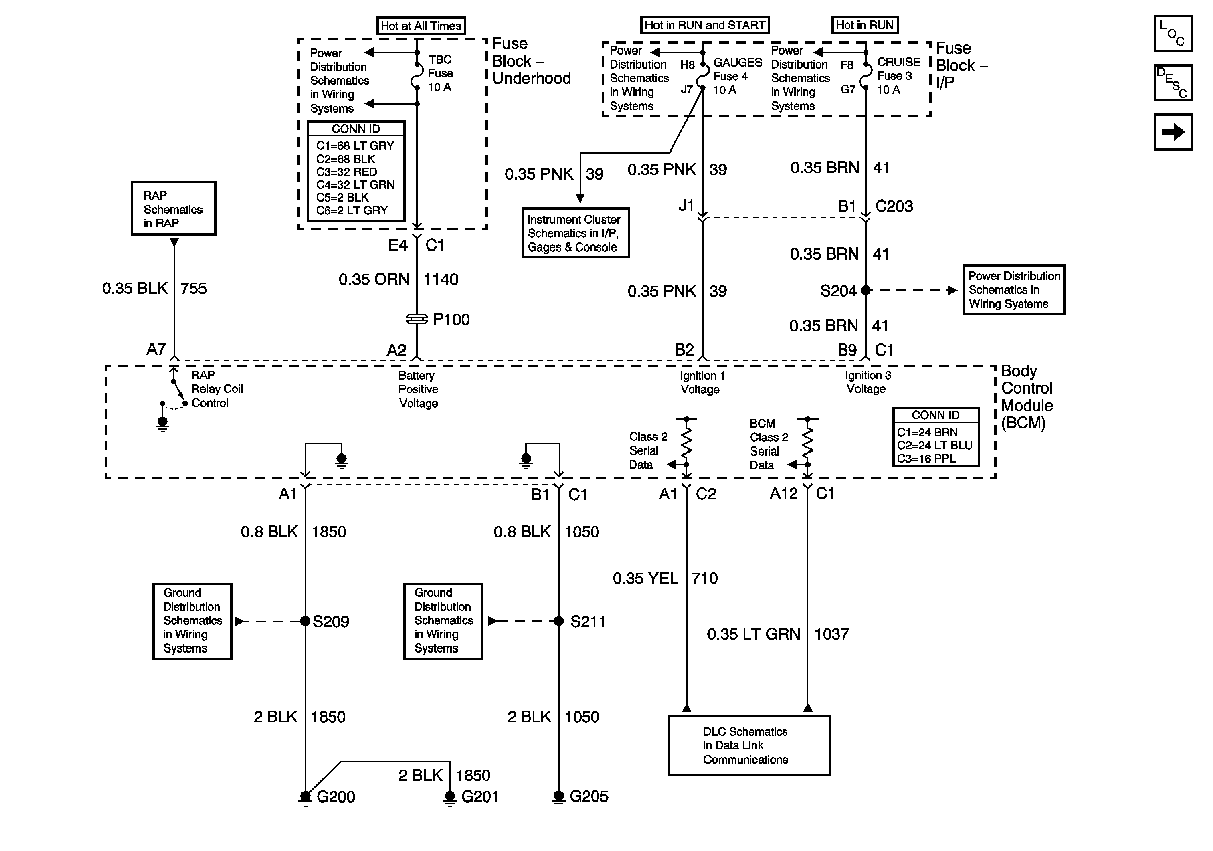
Figure 1:

Power, Ground and DLC


Object Number: 753033  Size: FS
Master Electrical Component List
Body Control System Description and Operation
Controlled/Monitored Subsystem References
Power, BCM and Ignition and Start Switch
B+ Bus Bar
Ign START, RUN and ACC Bus Bar
Ign RUN and START Bus Bar
Power
RDO IGN, FRT WPR, RR WIPER, ABS and CRUISE Fuses
G200 and G201
G203 and G205
Splice Pack SP201 and Modules
Figure 2:

Controlled/Monitored Subsystem References


Object Number: 753035  Size: FS
Master Electrical Component List
Body Control System Description and Operation
Interior Lighting and Interior Lights Dimming
Power, Ground and DLC
IP Fuse Block, Body Relay Block and BCM
Liftglass Release Actuator and Switch
Door Lock Cylinder Switches
Power, Ground, DLC and Passlock Sensor
Keyless Entry Schematics
Horns Schematics
Power, Ground and BCM
Ground and PCM
Seat Belts Schematics
Brake Warning System Schematics
Figure 3:

Interior Lighting and Interior Lights Dimming


Object Number: 753039  Size: FS
Master Electrical Component List
Body Control System Description and Operation
Headlights, Fog Lights, and Exterior Lights
Controlled/Monitored Subsystem References
CTSY LP Fuse and Body Control Module (BCM)
Body Control Module (BCM) and IP Dimmer Switch
LED Dimming
Hazard Switch, Radio, Instrument Panel Cluster (IPC) and Ground
Figure 4:

Headlights, Fog Lights, and Exterior Lights


Object Number: 753040  Size: FS
Master Electrical Component List
Body Control System Description and Operation
Interior Lighting and Interior Lights Dimming
Power, Flash-to-Pass, and BCM
Power, Headlamp Switch, and Multifunction Switch
Turn Signal Switch, RH TURN, RH REAR TURN, and TRL TURN Fuses
Fog Lamps - LF/RF, and Fog Lamp Switch - Front
Fog Lamp Relay - Rear
Fog Lamps - LR/RR, and Fog Lamp Switch - Rear
Fog Lamp Relay - Front