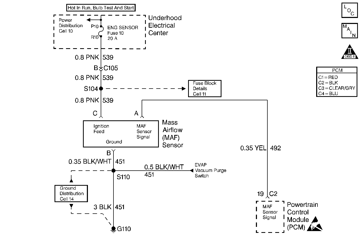
The Mass Air Flow (MAF) sensor measures the amount of air that is ingested by the engine. Direct measurement of air entering the engine is more accurate than calculating airflow from MAP, IAT and RPM (speed/density). The MAF sensor has a battery feed, ground and signal circuit.
The MAF sensor used on this vehicle is a hot wire type and is used to measure air flow rate. The MAF output frequency is a function of the power required to keep the air flow sensing elements (hot wires) at a fixed temperature above ambient temperature. Air flowing through the sensor cools the sensing elements. The amount of cooling is proportional to the amount of air flow. As air flow increases, a greater amount of current is required to maintain the hot wires at a constant temperature. The MAF sensor converts the changes in current draw to a frequency signal read by the PCM. The PCM calculates air flow (grams per second) based on this signal.
The PCM monitors the MAF sensor frequency and can determine if the sensor is stuck low, stuck high, not providing the airflow value expected for a given operating condition, or that the signal appears to be stuck based on a lack of signal variation expected during normal operation. This diagnostic checks for a stuck MAF sensor signal. If the MAF sensor frequency varies less than a predetermined minimum amount, this DTC will set.
| • | Engine running. |
| • | Engine speed greater than 50 RPM. |
| • | Ignition voltage greater than 10 volts. |
| • | Mass Air Flow frequency varies less than a predetermined minimum amount. |
| • | All conditions met for 1 second. |
| • | The PCM will illuminate the Malfunction Indicator Lamp (MIL) when the diagnostic runs and fails. |
| • | The PCM will use speed density (RPM, MAP, IAT) for fuel management. |
| • | The PCM will record operating conditions at the time the diagnostic fails. This information will be stored in the Freeze Frame and/or Failure Records. |
| • | The PCM will turn the MIL OFF after three consecutive drive trips that the diagnostic runs and does not fail. |
| • | A last test failed (Current DTC) will clear when the diagnostic runs and does not fail. |
| • | A History DTC will clear after forty consecutive warm-up cycles, if no failures are reported by this or any other emission related diagnostic. |
| • | PCM battery voltage is interrupted. |
| • | Using a Scan tool. |
| • | An intermittent may be caused by the following: |
| - | Mis-routed harness. |
| - | Rubbed through wire insulation. |
| - | Broken wire inside the insulation. |
For intermittents, refer to Symptoms .
| • | Any un-metered air may cause this DTC to set. Check for the following: |
| - | An engine vacuum leak. |
| - | The PCV system for vacuum leaks. |
| - | An incorrect PCV valve. |
| - | The engine oil dip stick not fully seated. |
| - | The engine oil fill cap loose or missing. |
Number(s) below refer to step numbers on the diagnostic table.
Monitoring MAF sensor grams per second (gm/s) will determine if the fault is present or the malfunction is intermittent. For any test that requires back probing the PCM or component harness connectors, must use the Connector Test Adapter Kit J 35616-A. Using this kit will prevent any damage to the harness connector terminals.
Using Freeze Frame and/or Failure Records data may aid in locating an intermittent condition. If the DTC cannot be duplicated, the information included in the Freeze Frame and/or Failure Records data can be useful in determining how many miles since the DTC set. The Fail Counter and Pass Counter can also be used to determine how many ignition cycles the diagnostic reported a pass and/or a fail. Operate vehicle within the same freeze frame conditions (RPM, load, vehicle speed, temperature etc.) that were noted. This will isolate when the DTC failed.
This checks whether the signal circuit is open, grounded or shorted to a voltage.
Verifies whether a ground circuit is available.
Verifies B+ supply to the MAF sensor.
Checks whether a good connection is present.
Disconnecting the PCM will allow using the DVM (J 39200) to check continuity of the circuits. This will aid in locating an open or shorted circuit.
Step | Action | Value(s) | Yes | No | ||||||||
|---|---|---|---|---|---|---|---|---|---|---|---|---|
Was the Powertrain On-Board Diagnostic (OBD) System Check performed? | -- | |||||||||||
Is the MAF gm/s below the specified value? | 3.9 gm/s | |||||||||||
Does the scan tool indicate that this diagnostic failed this ignition? | -- | Go to Diagnostic Aids | ||||||||||
Is the voltage near the specified value? | 5 V | |||||||||||
Connect a test light (J 34142-B) between the MAF sensor ignition feed circuit and the ground circuit at the MAF sensor harness connector. Is the test light on? | -- | |||||||||||
Connect a test light (J 34142-B) between MAF sensor ignition feed circuit and the battery ground. Is the test light on? | -- | |||||||||||
Was a poor connection found? | -- | |||||||||||
8 |
Was the MAF sensor signal circuit open or shorted? | -- | ||||||||||
9 | Locate and repair the open in the ground circuit to the MAF sensor. Refer toRepair Procedures in Electrical Diagnosis (8A Cell 5). Is the action complete? | -- | -- | |||||||||
10 | Locate and repair the open in the ignition feed circuit to the MAF sensor. Refer to Repair Procedures in Electrical Diagnosis (8A Cell 5). Is the action complete? | -- | -- | |||||||||
11 | Replace the MAF sensor. Refer to Mass Airflow Sensor Replacement . Is the action complete? | -- | -- | |||||||||
12 |
Important:: Replacement PCM must be programmed. Refer to Powertrain Control Module Replacement/Programming . Replace the PCM. Is the action complete? | -- | -- | |||||||||
13 |
Does the scan tool indicate that this test ran and passed? | -- | ||||||||||
14 | Using the scan tool, select Capture Info, Review Info. Are any DTCs displayed that have not been diagnosed? | -- | Go to the applicable DTC table | System OK |