GM Service Manual Online
For 1990-2009 cars only
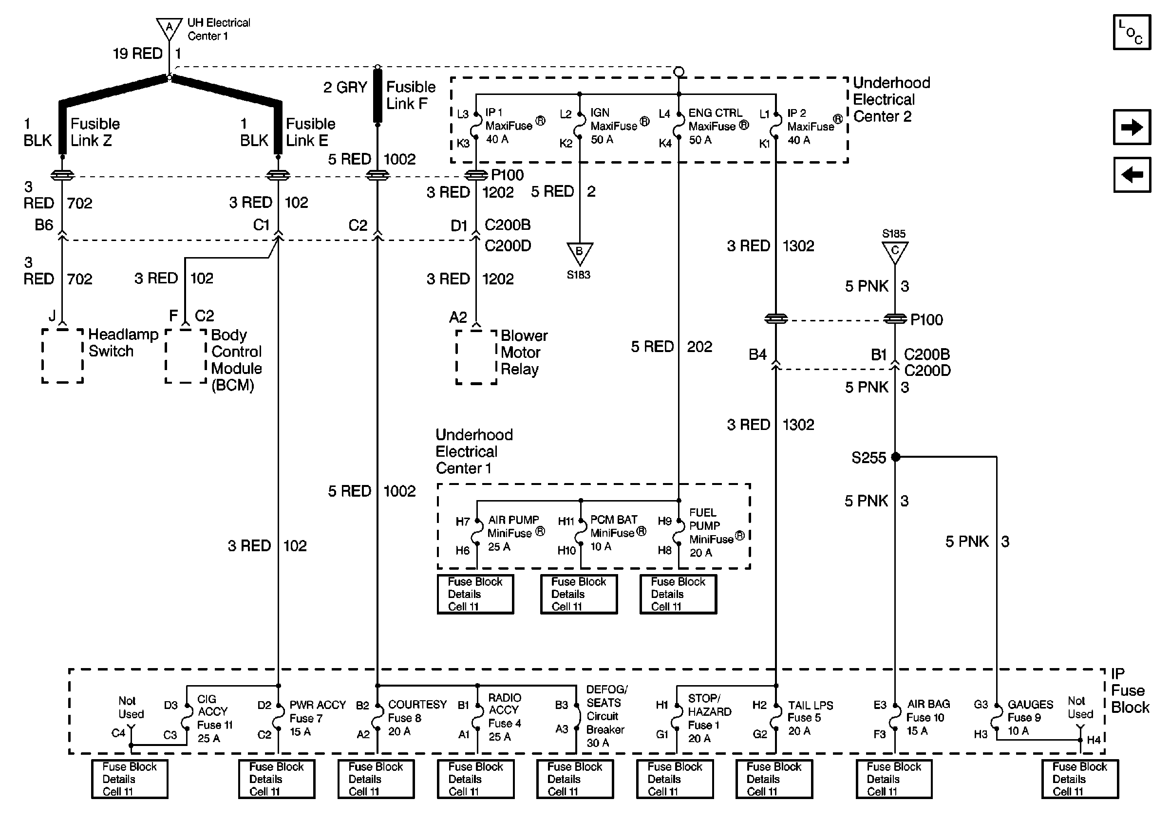
Figure 1:

Cell 10: Battery and UH Electrical Center 1


Object Number: 453914  Size: FS
Power and Grounding Components
Cell 10: Fusible Links, IP Fuse Block, and UH Electrical Centers
Cell 10: Fusible Links, IP Fuse Block, and UH Electrical Centers
Fuse Block Schematics
Fuse Block Schematics
Fuse Block Schematics
Fuse Block Schematics
Fuse Block Schematics
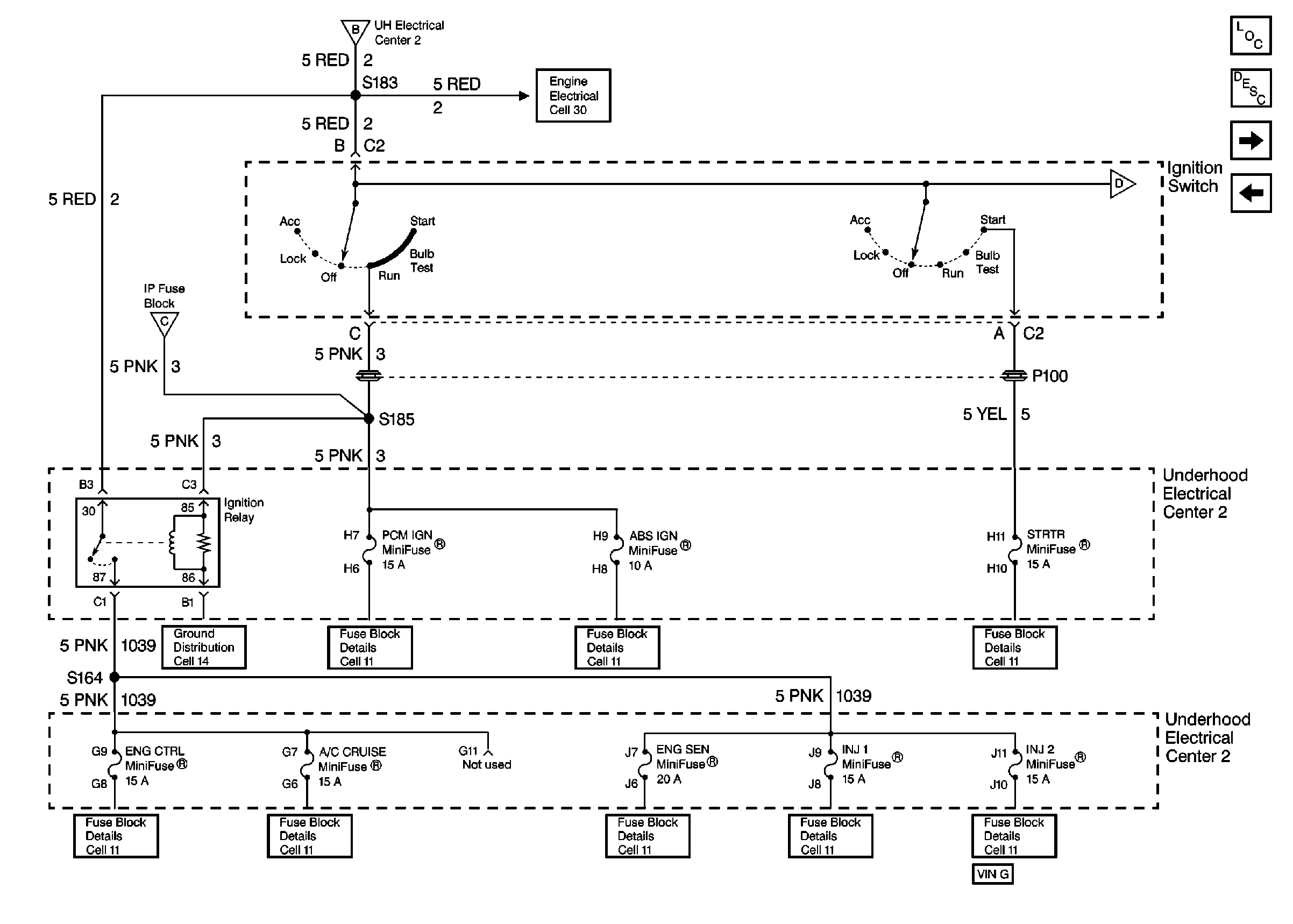
Figure 2:

Cell 10: Fusible Links, IP Fuse Block, and UH Electrical Centers


Object Number: 453933  Size: FS
Cell 10: Battery and UH Electrical Center 1
Power and Grounding Components
Cell 10: Ignition Switch and UH Electrical Center 2
Cell 10: Battery and UH Electrical Center 1
Fuse Block Schematics
Fuse Block Schematics
Fuse Block Schematics
Fuse Block Schematics
Fuse Block Schematics
Fuse Block Schematics
Fuse Block Schematics
Fuse Block Schematics
Fuse Block Schematics
Fuse Block Schematics
Fuse Block Schematics
Fuse Block Schematics
Cell 10: Ignition Switch and UH Electrical Center 2
Cell 10: Ignition Switch and UH Electrical Center 2
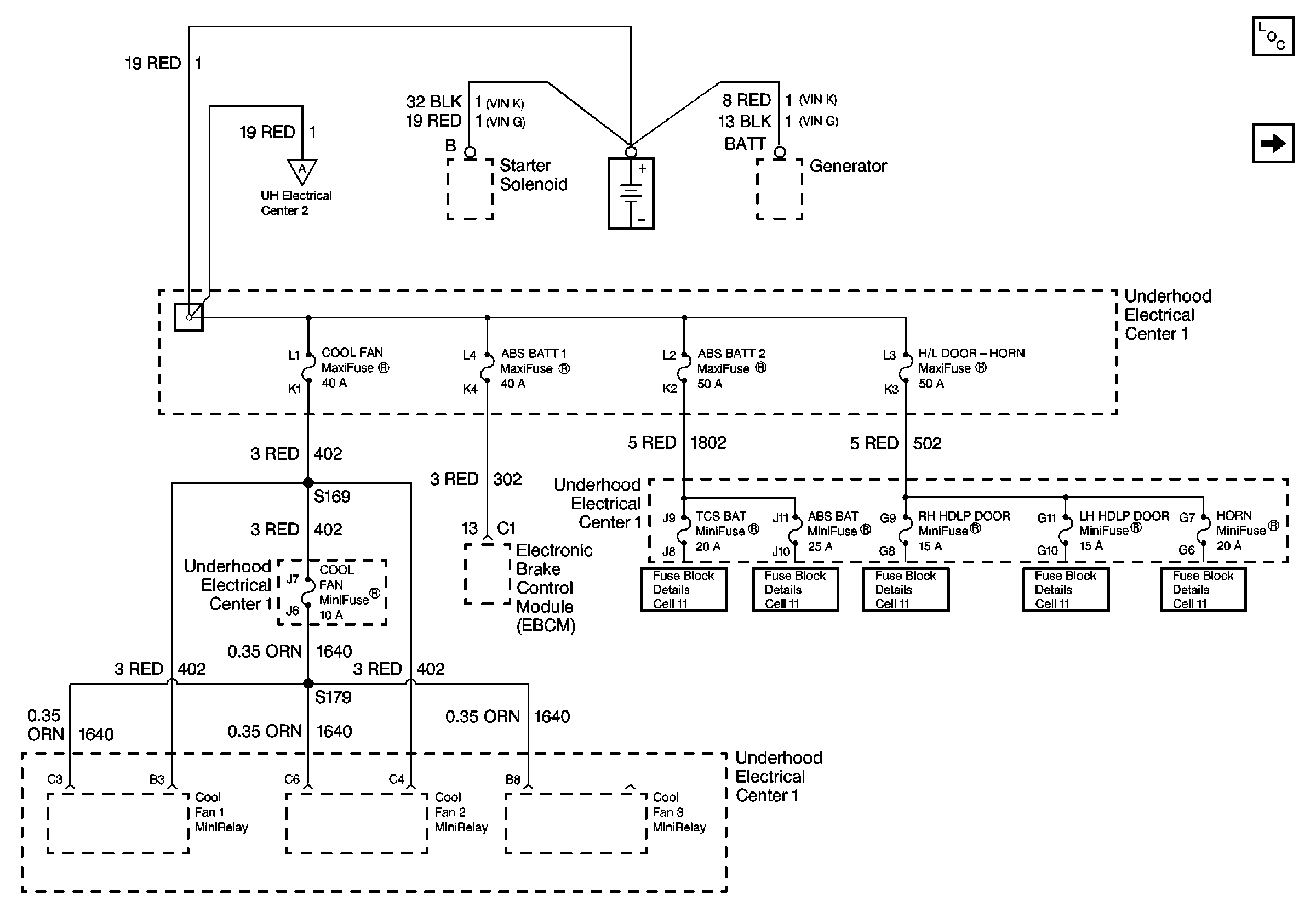
Figure 3:

Cell 10: Ignition Switch and UH Electrical Center 2


Object Number: 453999  Size: FS
Cell 10: Fusible Links, IP Fuse Block, and UH Electrical Centers
Cell 10: Fusible Links, IP Fuse Block, and UH Electrical Centers
Power and Grounding Components
Cell 10: Ignition Switch and IP Fuse Block
Cell 10: Fusible Links, IP Fuse Block, and UH Electrical Centers
Starting and Charging Schematics
Ground Distribution Schematics
Fuse Block Schematics
Fuse Block Schematics
Fuse Block Schematics
Fuse Block Schematics
Fuse Block Schematics
Fuse Block Schematics
Fuse Block Schematics
Fuse Block Schematics
Cell 10: Ignition Switch and IP Fuse Block
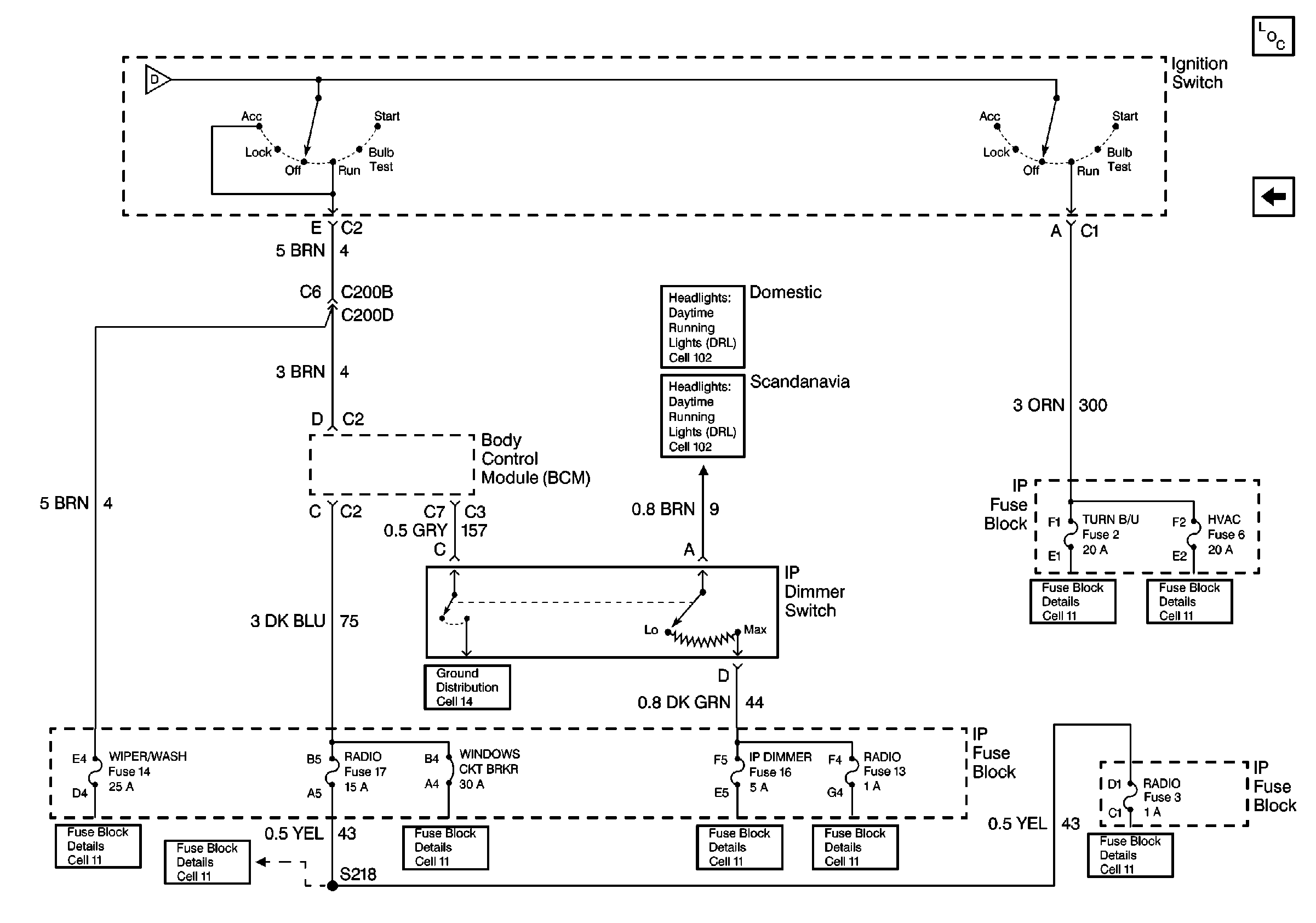
Figure 4:

Cell 10: Ignition Switch and IP Fuse Block


Object Number: 454006  Size: FS
Power and Grounding Components
Cell 10: Ignition Switch and UH Electrical Center 2
Headlights/Daytime Running Lights (DRL) Schematics Scandinavia
Ground Distribution Schematics
Fuse Block Schematics
Fuse Block Schematics
Fuse Block Schematics
Fuse Block Schematics
Fuse Block Schematics
Fuse Block Schematics
Fuse Block Schematics
Fuse Block Schematics
Cell 10: Ignition Switch and UH Electrical Center 2
Headlights/Daytime Running Lights (DRL) Schematics Domestic