GM Service Manual Online
For 1990-2009 cars only

Cell 11: COOL FAN, TCS BAT, ACS BAT SOL, RH HDLP DOOR, LH HDLP DOOR, and HORN Fuses


Object Number: 457506  Size: FS
Power and Grounding Components
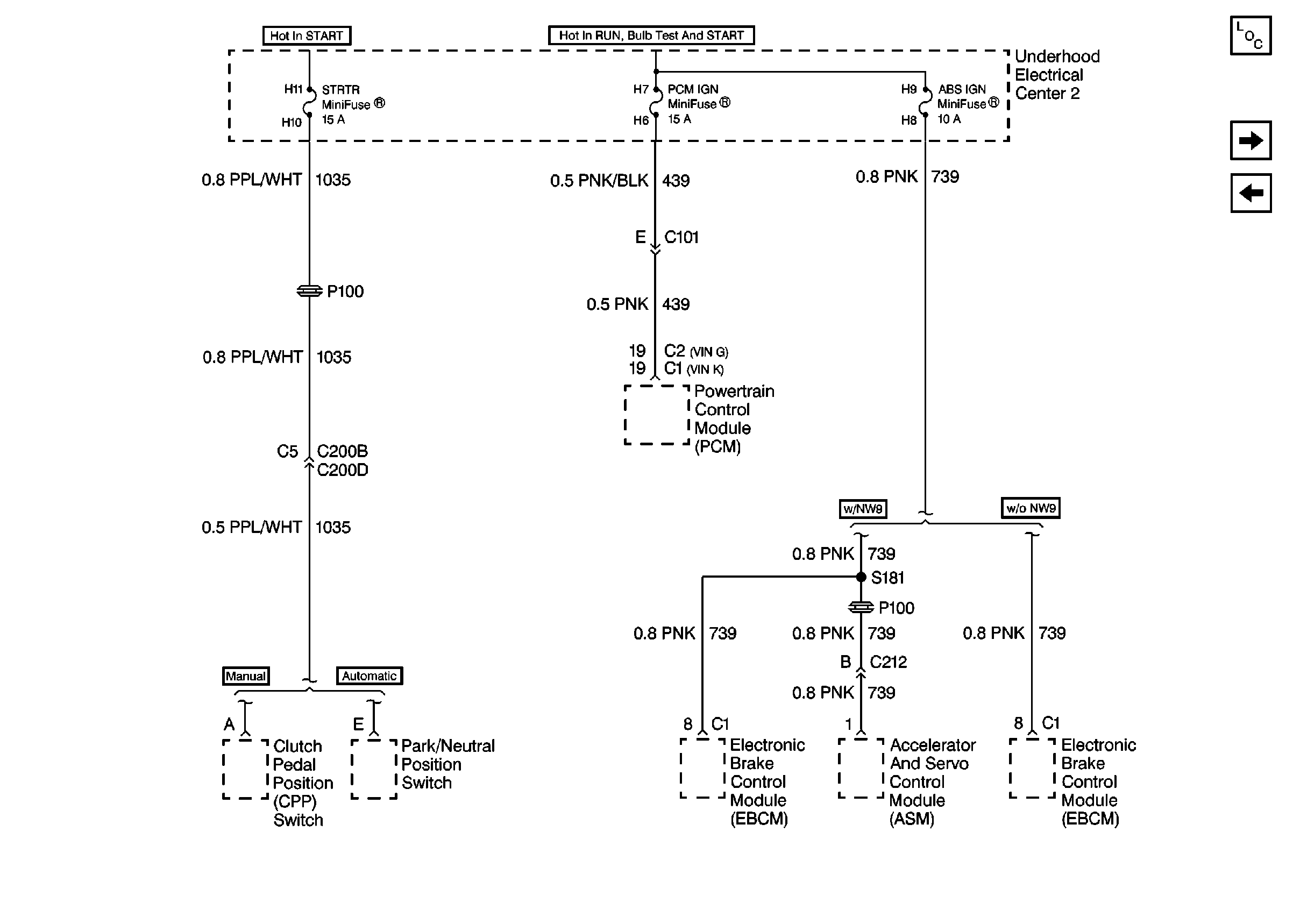
Cell 11: STRTR, PCM IGN, and ABS IGN Fuse

Cell 11: STRTR, PCM IGN, and ABS IGN Fuse


Object Number: 454047  Size: FS
Power and Grounding Components
Cell 11: COOL FAN, TCS BAT, ACS BAT SOL, RH HDLP DOOR, LH HDLP DOOR, and HORN Fuses
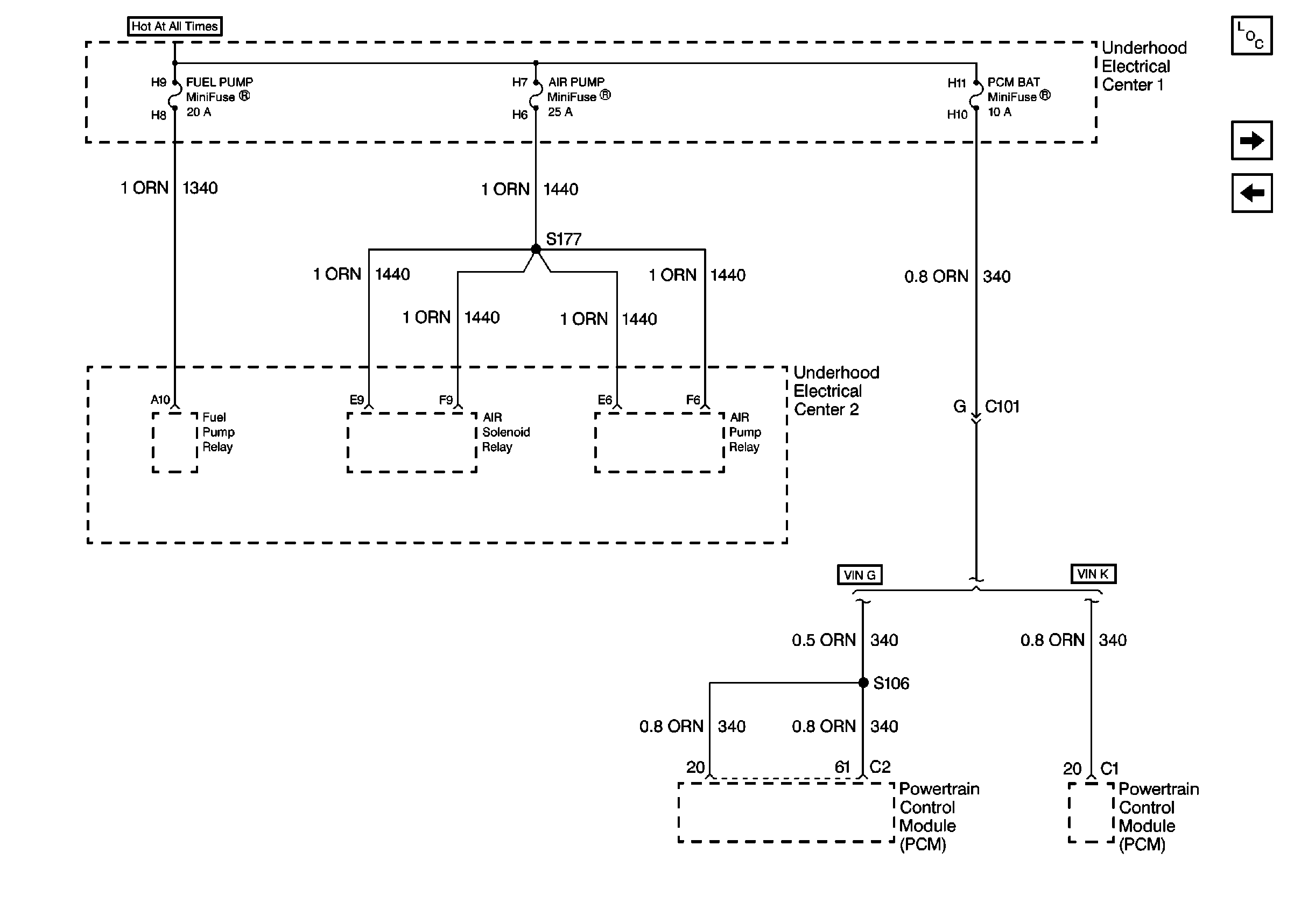
Cell 11: Fuel Pump, Air Pump, and PCM BAT Fuses

Cell 11: Fuel Pump, Air Pump, and PCM BAT Fuses


Object Number: 454042  Size: FS
Power and Grounding Components
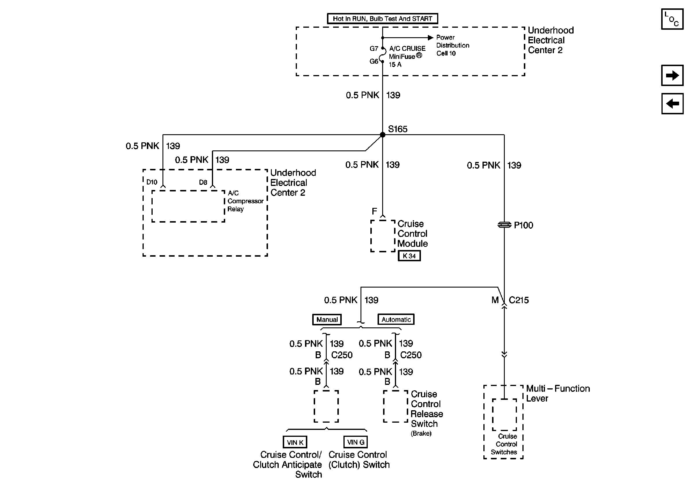
Cell 11: A/C Cruise Fuse
Cell 11: STRTR, PCM IGN, and ABS IGN Fuse

Cell 11: A/C Cruise Fuse


Object Number: 454056  Size: FS
Power Distribution Schematics
Power and Grounding Components
Cell 11: INJ 1 , and INJ 2 Fuses
Cell 11: Fuel Pump, Air Pump, and PCM BAT Fuses

Cell 11: INJ 1 , and INJ 2 Fuses


Object Number: 454061  Size: FS
Power Distribution Schematics
Power and Grounding Components
Cell 11: ENG CTRL Fuse
Cell 11: A/C Cruise Fuse

Cell 11: ENG CTRL Fuse


Object Number: 454067  Size: FS
Power Distribution Schematics
Power and Grounding Components
Cell 11: ENG SEN Fuse
Cell 11: INJ 1 , and INJ 2 Fuses

Cell 11: ENG SEN Fuse


Object Number: 454075  Size: FS
Power Distribution Schematics
Power and Grounding Components
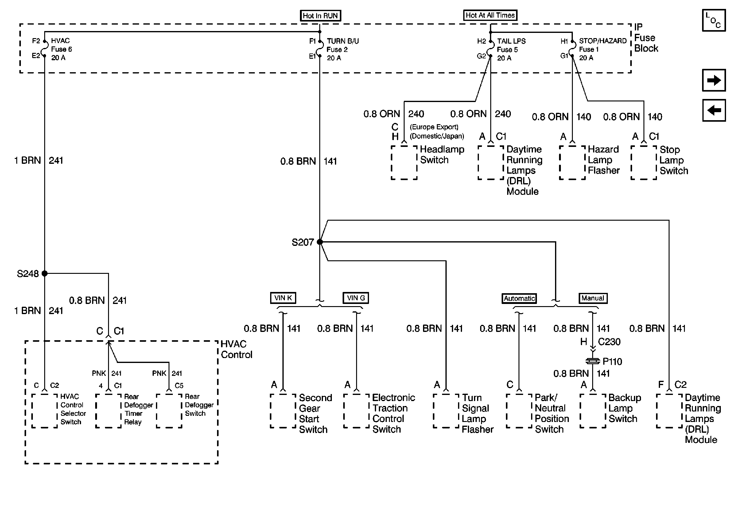
Cell 11: HVAC Fuse 6, TURN B/U Fuse 2, TAIL LPS Fuse 5, and STOP HAZARD Fuse 1
Cell 11: ENG CTRL Fuse

Cell 11: HVAC Fuse 6, TURN B/U Fuse 2, TAIL LPS Fuse 5, and STOP HAZARD Fuse 1


Object Number: 454082  Size: FS
Power and Grounding Components
Cell 11: WIPER/WASH Fuse 14, Windows CKT BRKR 15, RADIO Fuse 17, and RADIO Fuse 3
Cell 11: ENG SEN Fuse

Cell 11: WIPER/WASH Fuse 14, Windows CKT BRKR 15, RADIO Fuse 17, and RADIO Fuse 3


Object Number: 454087  Size: FS
Power and Grounding Components
Cell 11: RADIO Fuse 13 and IP DIMMER Fuse 16
Cell 11: HVAC Fuse 6, TURN B/U Fuse 2, TAIL LPS Fuse 5, and STOP HAZARD Fuse 1

Cell 11: RADIO Fuse 13 and IP DIMMER Fuse 16


Object Number: 454092  Size: FS
Power and Grounding Components
Cell 11: CIG ACCY Fuse 11, PWR ACCY Fuse 7, AIR BAG Fuse 10, and GAUGES Fuse 9
Cell 11: WIPER/WASH Fuse 14, Windows CKT BRKR 15, RADIO Fuse 17, and RADIO Fuse 3

Cell 11: RADIO ACCY Fuse 4, COURTESY Fuse 8, and Defog/Seats CKT BRKR 12


Object Number: 454103  Size: FS
Power and Grounding Components
Cell 11: CIG ACCY Fuse 11, PWR ACCY Fuse 7, AIR BAG Fuse 10, and GAUGES Fuse 9
Cell 11: RADIO Fuse 13 and IP DIMMER Fuse 16

Cell 11: CIG ACCY Fuse 11, PWR ACCY Fuse 7, AIR BAG Fuse 10, and GAUGES Fuse 9


Object Number: 454097  Size: FS
Power and Grounding Components
Cell 11: RADIO ACCY Fuse 4, COURTESY Fuse 8, and Defog/Seats CKT BRKR12