GM Service Manual Online
For 1990-2009 cars only

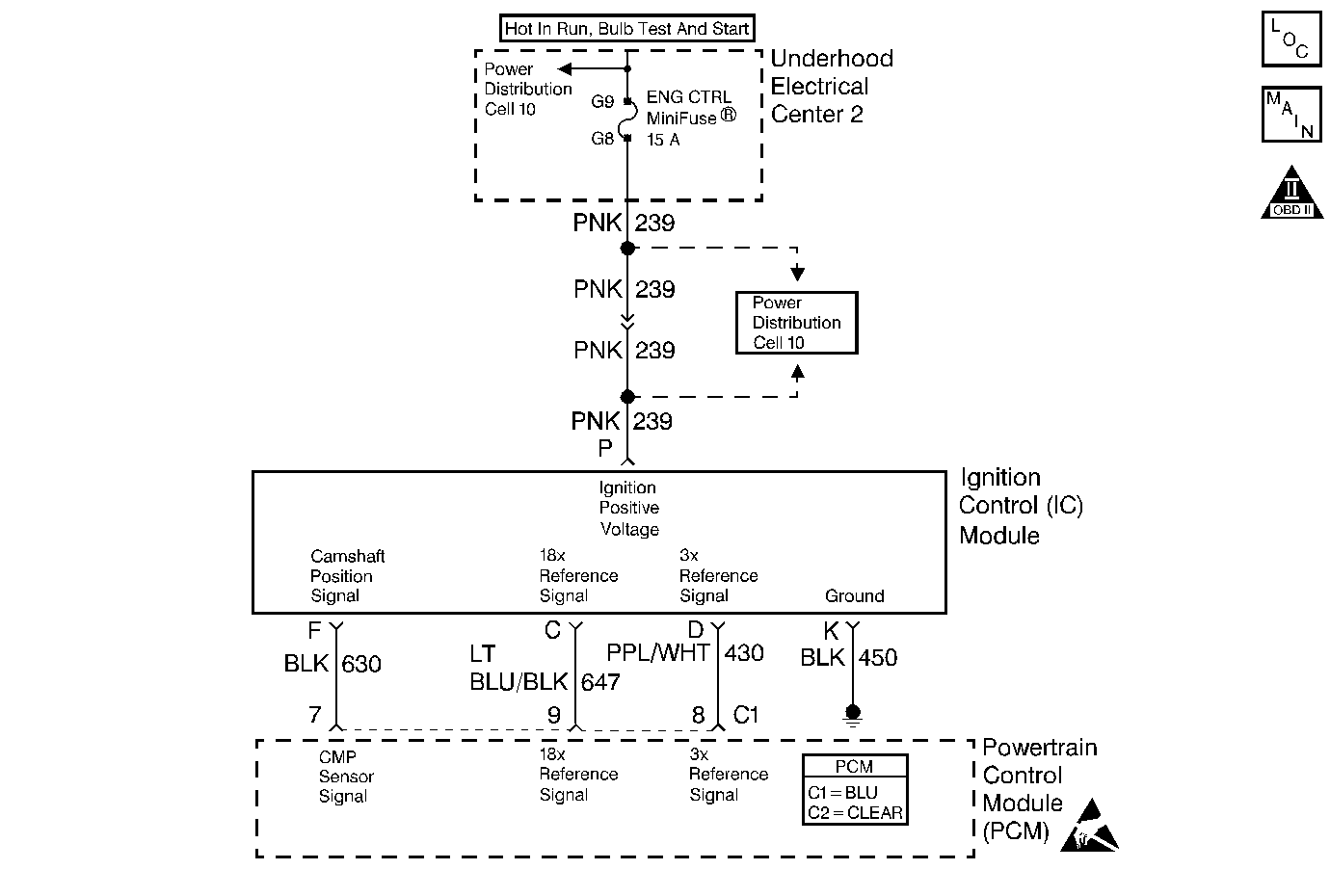
Object Number: 222078  Size: MF
Engine Controls Components
Ignition Control, Knock Sensors
OBD II Symbol Description Notice
Handling ESD Sensitive Parts Notice

Circuit Description

The 3X reference signal is produced by the ignition control module. The ICM calculates the 3X reference signal by dividing the Crankshaft Position (CKP) sensor 18X pulses by 3 when the engine is running and CKP sync pulses are also being received. The PCM uses the 3X reference signal to calculate engine rpm and crankshaft position at engine speeds above 1200 rpm. The PCM also uses the pulses on this circuit to initiate injector pulses. The PCM constantly monitors the number of pulses on the 3X reference circuit and compares the number of 3X reference pulses to the number of 18 X reference pulses and CAM signal pulses being received. If the PCM receives an incorrect number of pulses on the 3X reference circuit, DTC P1374 will set and the PCM will use the 18X reference signal circuit for fuel and ignition control. The engine will continue to start and run using the 18X reference and Camshaft Position PCM input signals only.

Conditions for Setting the DTC

    • The engine has been running for longer than 3 seconds.
    • The ratio of 18X reference pulses to CAM signal pulses received by the PCM equals 36:1.
    • The ratio of 18X reference pulses to 3X reference pulses received by the PCM does not equal 6:1.
    • The condition is present for 300 3X reference periods (100 crankshaft revolutions).

Action Taken When the DTC Sets

    • The PCM will illuminate the MIL during the second consecutive trip in which the DTC test has run and failed.
    • The PCM will use the 18X reference signal circuit for fuel and ignition control.
    • If equipped with traction control, the PCM will command the EBTCM via serial data (CKT 800) to turn OFF traction control, and the EBTCM will illuminate the TRACTION OFF lamp.
    • The PCM will store conditions which were present when the DTC set as Freeze Frame and Fail Records data.

Conditions for Clearing the MIL/DTC

    • The PCM will turn the MIL OFF during the third consecutive trip in which the diagnostic has been run and passed.
    • The history DTC will clear after 40 consecutive warm-up cycles have occurred without a malfunction.
    • The DTC can be cleared by using the scan tool Clear Info function or by disconnecting the PCM battery feed.

Diagnostic Aids

An intermittent may be caused by a poor connection, rubbed through wire insulation or a wire broken inside the insulation. Check for the following conditions:

    • Poor connection.
        Inspect the PCM harness and connectors for improper mating, broken locks, improperly formed or damaged terminals, and poor terminal to wire connection.
    • Damaged harness.
        Inspect the wiring harness for damage. If the harness appears to be OK, disconnect the PCM, turn the ignition ON and observe a voltmeter connected to the 3X reference circuit at the PCM harness connector while moving connectors and wiring harnesses related to the ICM. A change in voltage will indicate the location of the malfunction.
    • Malfunctioning Ignition Coil.
        Remove the ignition coils and inspect the ignition control module and coils for cracks, carbon tracking, or other signs that indicate that the coil secondary circuit is arcing to the ICM or ICM wiring harness. Refer to TBD.
    • Secondary ignition wire(s) arcing to wiring harness.
        Check secondary ignition wires for carbon tracking or other signs of damage.

Reviewing the Fail Records vehicle mileage since the diagnostic test last failed may help determine how often the condition that caused the DTC to be set occurs. This may assist in diagnosing the condition.

Test Description

Number(s) below refer to the step number(s) on the Diagnostic Table.

  1. This vehicle is equipped with a PCM which utilizes an Electrically Erasable Programmable Read Only Memory (EEPROM). When the PCM is being replaced, the new PCM must be programmed.

DTC P1374 - 3X Reference Circuit

Step

Action

Value(s)

Yes

No

1

Was the Powertrain On-Board Diagnostic (OBD) System Check performed?

--

Go to Step 2

Go to the Powertrain On Board Diagnostic (OBD) System Check

2

Attempt to start the engine.

Does the engine start and continue to run?

--

Go to Step 3

Go to Engine Cranks but Does Not Run

3

  1. Review and record scan tool Fail Records data.
  2. Operate the vehicle within Fail Records conditions.
  3. Monitor Specific DTC info for DTC P1374 on the scan tool.

Does the scan tool indicate DTC P1374 failed this ign?

--

Go to Step 4

Go to Diagnostic Aids

4

  1. Turn OFF the ignition switch.
  2. Disconnect the ignition control module 14-way connector.
  3. Install a J 34730-2A Injector test lamp at any injector harness connector.
  4. Turn ON the ignition switch.
  5. Connect a J 35616-200 test lamp to B+.
  6. Repeatedly touch the J 35616-200 test lamp to the 3X reference circuit at the ignition control module harness connector while observing the injector test lamp.

Does the injector test lamp blink?

--

Go to Step 8

Go to Step 5

5

  1. Turn OFF the ignition switch.
  2. Disconnect the PCM.
  3. Turn ON the ignition switch.
  4. Check for the following conditions:
  5. • 3X reference circuit open.
    • 3X reference circuit shorted to ground.
    • 3X reference circuit shorted to voltage.
  6. If a problem is found, repair as necessary. Refer to Wiring Repairs .

Was a problem found?

--

Go to Step 11

Go to Step 6

6

  1. Check the 3X reference circuit for a poor terminal connection at the PCM.
  2. If a problem is found, repair as necessary. Refer to Wiring Repairs .

Was a problem found?

--

Go to Step 11

Go to Step 7

7

  1. Check for the following conditions:
  2. • Incorrect harness routing near secondary ignition components.
    • Ignition coil arcing to the wiring harness or to the ignition control module.
    • Ignition coils for cracks, carbon tracking, or other signs of damage. Refer to Ignition Coil Replacement .
    • Secondary ignition wire(s) arcing to the wiring harness. Refer to On-Vehicle Service in Ignition System.
  3. If a problem is found, repair as necessary.

Was a problem found?

--

Go to Step 11

Go to Step 10

8

  1. Check for loose terminal connections at the Ignition Control Module (ICM).
  2. If a problem is found, repair as necessary. Refer to Wiring Repairs .

Was a problem found?

--

Go to Step 11

Go to Step 9

9

Replace the ignition control module. Refer to Ignition Coil Replacement .

Is action complete?

--

Go to Step 11

--

10

Important:: The replacement PCM must be programmed. Refer to Powertrain Control Module Replacement/Programming .

Replace the PCM.

Is action complete?

--

Go to Step 11

--

11

  1. Review and record scan tool Fail Records data.
  2. Clear DTCs.
  3. Operate the vehicle within Fail Records conditions.
  4. Using a scan tool, monitor Specific DTC info for DTC P1374.

Does the scan tool indicate DTC P1374 failed?

--

Go to Step 2

System OK