GM Service Manual Online
For 1990-2009 cars only

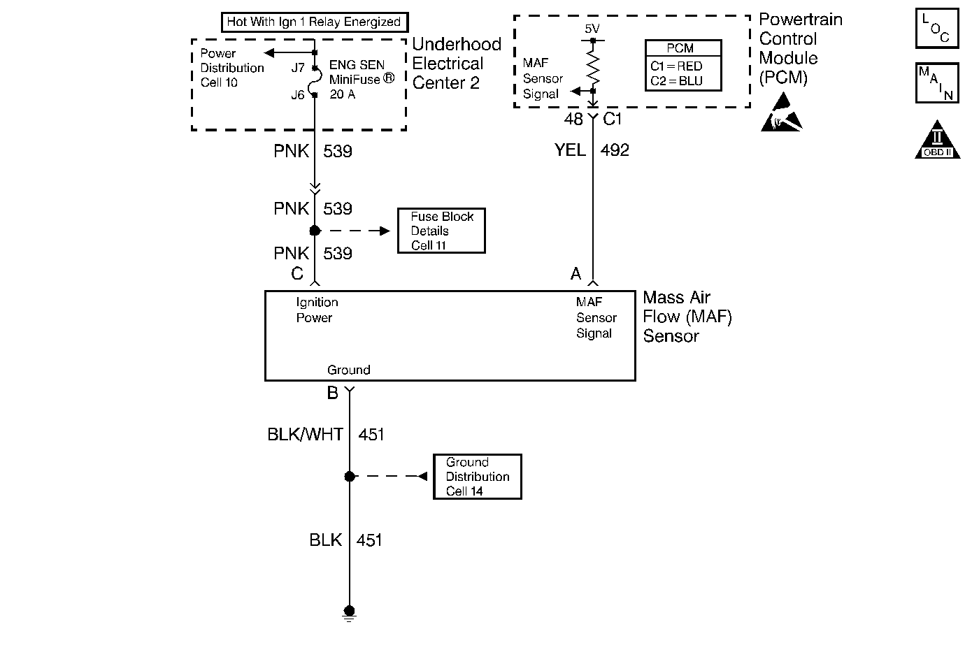
Object Number: 218496  Size: MF
Engine Controls Components
Information Sensors
OBD II Symbol Description Notice
Handling ESD Sensitive Parts Notice

Circuit Description

The Mass Air Flow (MAF) sensor measures the amount of air ingested by the engine. The direct measurement of the air entering the engine is more accurate than calculating the airflow from the MAP, the IAT and the engine speed (speed/density). The MAF sensor has a battery feed, ground, and a signal circuit.

The MAF sensor used on this engine is a hot wire type. This engine uses the MAF sensor to measure air flow rate. The MAF output frequency is a function of the power required to keep the air flow sensing elements (hot wires) at a fixed temperature above the ambient temperature. Air flowing through the sensor cools the sensing elements. The amount of cooling is proportional to the amount of air flow. The MAF sensor requires a greater amount of current in order to maintain the hot wires at a constant temperature as the air flow increases. The MAF sensor converts the changes in current draw to a frequency signal read by the PCM. The PCM calculates the air flow (grams per second) based on this signal.

The PCM monitors the MAF sensor frequency. The PCM can determine if the sensor is stuck low, stuck high, not providing the airflow value expected for a given operating condition, or that the signal appears to be stuck based on a lack of signal variation expected during the normal operation. This diagnostic tests the range/performance of the MAF sensor. The MAF system performance or rationality diagnostic uses the MAP, the IAT, and the engine speed to calculate an expected airflow rate. The PCM then compares the rate to the actual measured airflow from the MAF sensor. The PCM only compares the actual MAF value and the calculated value during conditions where the values are likely to match. This DTC sets if the actual MAF reading is not within a predetermined range of the calculated reading.

Conditions for Running the DTC

    • DTCs P0102, P0103, P0107, P0108, P0121, P0122, P0123 not set.
    • The engine is running.
    • The TP sensor angle is less than 50% and the engine vacuum (BARO-MAP) is greater than 65 kPa.
    • The system voltage is greater than 10 volts but less than 16 volts.
    • The change in TP sensor is less than 3%.
    • All above conditions stable for 2.0 seconds.

Conditions for Setting the DTC

    • The MAF frequency is 50% different from the speed density calculation.
    • All conditions met for 5.0 seconds.

Action Taken When the DTC Sets

    • The PCM illuminates the malfunction indicator lamp (MIL) on the second consecutive ignition cycle that the diagnostic runs and fails.
    • The PCM records the operating conditions at the time the diagnostic fails. The first time the diagnostic fails, the PCM stores this information in the Failure Records. If the diagnostic reports a failure on the second consecutive ignition cycle, the PCM records the operating conditions at the time of the failure. The PCM writes the conditions to the Freeze Frame and updates the Failure records.
    • The PCM utilizes speed density (RPM, MAP, IAT) for fuel management.

Conditions for Clearing the MIL/DTC

    • The PCM turns OFF the malfunction indicator lamp (MIL) after 3 consecutive ignition cycles that the diagnostic runs and does not fail.
    • A last test failed, or current DTC, clears when the diagnostic runs and does not fail.
    • A history DTC clears after 40 consecutive warm-up cycles, if no failures are reported by this or any other emission related diagnostic.
    • Use a scan tool in order to clear the MIL and the DTC.

Diagnostic Aids

Important: 

   • Remove any debris from the PCM connector surfaces before servicing the PCM. Inspect the PCM connector gaskets when diagnosing/replacing the PCM. Ensure that the gaskets are installed correctly. The gaskets prevent water intrusion into the PCM.
   • For any test that requires probing the PCM or component harness connectors, use the Connector Test Adapter Kit J 35616 . Using this kit prevents damage to the harness connector terminals. Refer to Using Connector Test Adapters in Wiring Systems.

    • The following may cause an intermittent:
       - Mis-routed harness
       - Rubbed through wire insulation
       - Broken wire inside the insulation
    • Any un-metered air may cause this DTC to set. Inspect for the following:
       - An engine vacuum leak
       - The PCV system for vacuum leaks
       - An incorrect PCV valve
       - The engine oil dip stick not fully seated
    • For an intermittent, refer to Symptoms .

Test Description

The numbers below refer to the step numbers on the diagnostic table.

  1. The MAF system performance or rationality diagnostic uses the MAP sensor signal along with other inputs in order to calculate an expected airflow rate. The PCM then compares the expected flow rate to the actual measured airflow from the MAF sensor. The first few steps of this table verify that the MAP sensor is working properly. Correct any MAP sensor DTCs first. Refer to DTC P0107 Manifold Absolute Pressure (MAP) Sensor Circuit Low Voltage if the MAP sensor voltage is less than 0.8 volts. Refer to DTC P0108 Manifold Absolute Pressure (MAP) Sensor Circuit High Voltage if the MAP sensor voltage is greater than 4.0 volts.

  2. Twist the sensor towards the front of the vehicle and lift upward in order to remove the MAP sensor.

  3. Using the Freeze Frame and/or Failure Records data may aid in locating an intermittent condition. If you cannot duplicate the DTC, the information included in the Freeze Frame and/or Failure Records data can help determine how many miles since the DTC set. The Fail Counter and Pass Counter can also help determine how many ignition cycles the diagnostic reported a pass and/or a fail. Operate the vehicle within the same freeze frame conditions (RPM, load, vehicle speed, temperature etc.) that you observed. This will isolate when the DTC failed.

  4. Any un-metered air causes this DTC to set. Inspect the PCV system for vacuum leaks. Also inspect the dip stick for being pulled out. Inspect the oil fill cap for being loose.

  5. This step verifies the signal circuit from the MAF sensor electrical connector to the PCM.

  6. This step verifies whether a ground and B+ circuit is available.

  7. This step tests the signal circuit for an open.

  8. This step tests the signal circuit for a short to B+.

Step

Action

Value(s)

Yes

No

1

Did you perform the Powertrain On-Board Diagnostic (OBD) System Check?

--

Go to Step 2

Go to Powertrain On Board Diagnostic (OBD) System Check

2

If any MAP sensor DTCs are set, refer to the applicable DTC before proceeding.

  1. Idle the engine.
  2. Monitor the MAP sensor voltage parameter using a scan tool.

Is the MAP sensor voltage outside of the specified range?

0.8-4 volts

Go to DTC P0107 Manifold Absolute Pressure (MAP) Sensor Circuit Low Voltage or DTC P0108 Manifold Absolute Pressure (MAP) Sensor Circuit High Voltage

Go to Step 3

3

  1. Turn OFF the ignition.
  2. Remove the MAP sensor from the intake manifold leaving the electrical harness connected.
  3. Connect a hand operated vacuum pump to the MAP sensor.
  4. Turn ON the ignition leaving the engine OFF.
  5. Observe the MAP sensor display while slowly applying vacuum up to 20 inches Hg as indicated on the pump gauge. Each 1 inch of vacuum applied should result in a 3 to 4 kPa drop in the MAP sensor value on the scan tool and the value should change smoothly with each increase in vacuum.

Did the MAP sensor value change smoothly through the entire range of the test without any erratic readings?

--

Go to Step 4

Go to Step 19

4

Apply 20 inches Hg vacuum to the MAP sensor.

Is the MAP sensor reading on the scan tool the same or less than the specified value?

34 kPa

Go to Step 5

Go to Step 19

5

Disconnect the vacuum source from the MAP sensor.

Does the MAP sensor reading return to the original value?

--

Go to Step 6

Go to Step 19

6

  1. Turn ON the ignition leaving the engine OFF.
  2. Review the Freeze Frame and/or Failure Records data for this DTC and observe the parameters.
  3. Turn OFF the ignition for 15 seconds.
  4. Re-install the MAP Sensor.
  5. Start the engine.
  6. Operate the vehicle within the conditions required for this diagnostic to run, and as close to the conditions recorded in the Freeze Frame/Failure Records as possible. Special operating conditions that you need to meet before the PCM will run this diagnostic, where applicable, are listed in Conditions for Running the DTC.
  7. Select the Diagnostic Trouble Code (DTC) option, the Specific DTC option, then enter the DTC number using the scan tool.

Does the scan tool indicate that this diagnostic failed this ignition?

--

Go to Step 7

Go to Diagnostic Aids

7

  1. Inspect for the following conditions:
  2. • Objects blocking the MAF sensor inlet screen
    • Intake manifold vacuum leaks
    • Vacuum leaks at the throttle body
    • Crankcase ventilation valve faulty, missing, or incorrectly installed
  3. If you find a condition, repair as necessary.

Did you find and correct the condition?

--

Go to Step 21

Go to Step 8

8

  1. Turn OFF the ignition.
  2. Disconnect the MAF sensor connector.
  3. Turn ON the ignition leaving the engine OFF.
  4. Measure the voltage between the MAF sensor signal circuit and the battery ground using the DMM J 39200 .

Is the voltage near the specified value?

5.0V

Go to Step 9

Go to Step 10

9

Connect the test lamp J 35616-200 between the MAF sensor ignition feed and the ground circuit at the MAF sensor harness connector.

Is the test lamp illuminated?

--

Go to Step 13

Go to Step 12

10

Is the voltage less than the specified value?

4.5V

Go to Step 14

Go to Step 11

11

  1. Turn OFF the ignition.
  2. Disconnect the PCM connector C1 located on the opposite side of the manufacturer's logo. Refer to Powertrain Control Module Replacement/Programming .
  3. Turn ON the ignition leaving the engine OFF.
  4. Measure the voltage between the MAF sensor signal circuit and ground.

Does the voltage measure near the specified value?

0.0V

Go to Step 20

Go to Step 17

12

Connect the test lamp J 35616-200 between the MAF sensor ignition feed circuit and the battery ground.

Is the test lamp illuminated?

--

Go to Step 15

Go to Step 16

13

  1. Inspect for a poor connection at the MAF sensor. Refer to Intermittents and Poor Connections Diagnosis in Wiring Systems.
  2. If you find a poor connection, repair the condition as necessary. Refer to Repairing Connector Terminals in Wiring Systems.

Did you find and correct the condition?

--

Go to Step 21

Go to Step 18

14

  1. Test the MAF sensor signal circuit between the PCM and the MAF sensor for the following:
  2. • An open circuit
    • A short to ground
    • A short to the MAF sensor ground circuit.
  3. Repair the circuit if the MAF sensor signal circuit is open or shorted. Refer to Wiring Repairs in Wiring Systems.

Did you find and correct the condition?

--

Go to Step 21

Go to Step 20

15

Locate and repair the open in the ground circuit to the MAF sensor. Refer to Wiring Repairs in Wiring Systems.

Is the action complete?

--

Go to Step 21

--

16

Locate and repair the open in the ignition feed circuit to the MAF sensor. Refer to Wiring Repairs in Wiring Systems.

Is the action complete?

--

Go to Step 21

--

17

Locate and repair the short to voltage in the MAF sensor signal circuit. Refer to Wiring Repairs in Wiring Systems.

Is the action complete?

--

Go to Step 21

--

18

Replace the MAF sensor. Refer to Mass Airflow Sensor Replacement .

Is the action complete?

--

Go to Step 21

--

19

Replace the MAP sensor. Refer to Manifold Absolute Pressure Sensor Replacement .

Is the action complete?

--

Go to Step 21

--

20

Important:: Program the replacement PCM. Refer to Powertrain Control Module Replacement/Programming .

Replace the PCM.

Is the action complete?

--

Go to Step 21

--

21

  1. Select the Diagnostic Trouble Code (DTC) option and the Clear DTC Information option using the scan tool.
  2. Idle the engine at the normal operating temperature.
  3. Select the Diagnostic Trouble Code (DTC) option and the Specific DTC option, then enter the DTC number using the scan tool.
  4. Operate the vehicle within the Conditions for Running the DTC as specified in the supporting text, if applicable.

Does the scan tool indicate that this test ran and passed?

--

Go to Step 22

Go to Step 2

22

Select the Capture Info option and the Review Info option using the scan tool.

Does the scan tool display any DTCs that you have not diagnosed?

--

Go to the applicable DTC table

System OK