GM Service Manual Online
For 1990-2009 cars only

Object Number: 218695  Size: MF
Engine Controls Components
EVAP and EGR
OBD II Symbol Description Notice
Handling ESD Sensitive Parts Notice

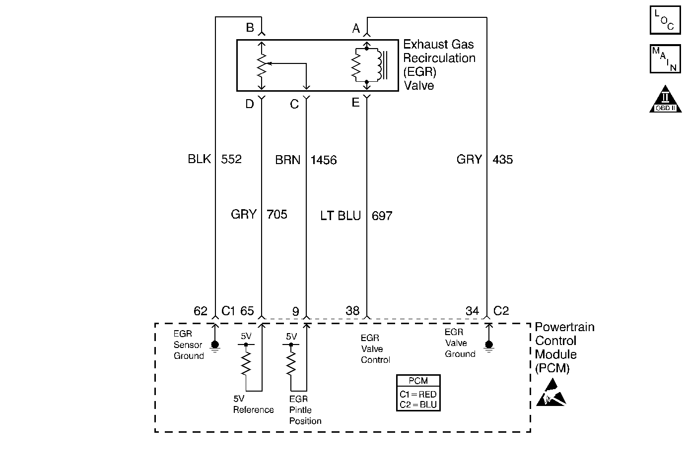
Circuit Description

An Exhaust Gas Recirculation (EGR) system is used in order to lower Oxides of Nitrogen (NOx) emission levels. The EGR system accomplishes this by feeding small amounts of exhaust gas back into the combustion chamber. High combustion temperatures cause NOx. Combustion temperatures are reduced when the air/fuel mixture is diluted with the exhaust gases.

The EGR valve is designed to accurately supply exhaust gases to the engine without the use of intake manifold vacuum. The EGR valve controls the exhaust flow into the intake manifold from the exhaust manifold through an orifice with a PCM controlled pintle. The PCM controls the pintle position using inputs from the Throttle Position (TP) sensor, the Manifold Absolute Pressure (MAP) sensor and, the Engine Coolant Temperature sensor. The PCM commands the EGR valve in order to supply the correct amount of exhaust gas recirculation for the current engine operating conditions. This can be monitored on a scan tool as the Desired EGR Position.

The PCM monitors the position of the EGR valve through a feedback signal. The PCM supplies a 5.0 volt reference and a ground to the EGR valve. A voltage signal representing the EGR valve pintle position is sent to the PCM from the EGR valve. This feedback signal can also be monitored on a scan tool and is the actual position of the EGR pintle. The Actual EGR Position should always be near the commanded or Desired EGR Position.

Conditions for Running the DTC

The ignition voltage is greater than 11.7 V.

Conditions for Setting the DTC

    • The EGR feedback signal voltage is less than 0.14 volts.
    • All conditions present for 10 seconds.

Action Taken When the DTC Sets

    • The PCM illuminates the malfunction indicator lamp (MIL) on the second consecutive ignition cycle that the diagnostic runs and fails.
    • The PCM records the operating conditions at the time the diagnostic fails. The first time the diagnostic fails, the PCM stores this information in the Failure Records. If the diagnostic reports a failure on the second consecutive ignition cycle, the PCM records the operating conditions at the time of the failure. The PCM writes the conditions to the Freeze Frame and updates the Failure Records.

Conditions for Clearing the MIL/DTC

    • The PCM turns OFF the malfunction indicator lamp (MIL) after 3 consecutive ignition cycles that the diagnostic runs and does not fail.
    • A last test failed, or current DTC, clears when the diagnostic runs and does not fail.
    • A history DTC clears after 40 consecutive warm-up cycles, if no failures are reported by this or any other emission related diagnostic.
    • Use a scan tool in order to clear the MIL and the DTC.

Diagnostic Aids

Due to the moisture associated with exhaust systems, the EGR valve may freeze and stick in colder weather at times. After the vehicle is brought into a warm shop for repairs, the valve warms and the condition disappears. By monitoring the Actual EGR and the Desired EGR Positions on a cold engine with a scan tool, the fault can be verified easily. Review the freeze frame data to determine if the DTC set when the vehicle was cold by viewing the Engine Coolant Temperature (ECT).

Test Description

The numbers below refer to the step numbers on the diagnostic table.

  1. If DTC P1635 sets at the same time, this indicates that the 5.0 voltage reference circuit is either shorted to a ground or shorted to a voltage. The 5.0 volt reference circuit is internally connected within the PCM. The A/C Refrigerant Pressure sensor or the MAP sensor circuits may be causing this DTC to set. Refer to DTC P1635 for further diagnosis.

  1. This step determines if the malfunction is present.

  2. Using the Freeze Frame and/or Failure Records data may aid in locating an intermittent condition. If you cannot duplicate the DTC, the information included in the Freeze Frame and/or Failure Records data can help determine how many miles since the DTC set. The Fail Counter and Pass Counter can also help determine how many ignition cycles the diagnostic reported a pass and/or a fail. Operate the vehicle within the same freeze frame conditions (RPM, load, vehicle speed, temperature etc.) that you observed. This will isolate when the DTC failed.

  3. If the scan tool displays 5.0 volts, the EGR pintle position signal, 5.0 volt reference circuit, and the PCM are OK. For any test that requires probing the PCM or component harness connectors, use the Connector Test Adapter Kit J 35616 . Using this kit will prevent any damage to the harness connector terminals.

  4. If the scan tool displays 5.0 volts, the EGR pintle position signal circuit and the PCM are OK. For any test that requires probing the PCM or component harness connectors, use the Connector Test Adapter Kit J 35616 . Using this kit will prevent any damage to the harness connector terminals.

  5. Disconnecting the PCM allows using the DMM J 39200 in order to test the continuity of the circuits. This aids in locating an open or a shorted circuit.

Step

Action

Value(s)

Yes

No

1

Did you perform the Powertrain On-Board Diagnostic (OBD) System Check?

--

Go to Step 2

Go to Powertrain On Board Diagnostic (OBD) System Check

2

  1. Install a scan tool.
  2. Idle the engine.
  3. Monitor the Diagnostic Trouble Code (DTC) Information using the scan tool.

Did DTC P1635 fail this ignition cycle?

--

Go to DTC P1635 5 Volt Reference 1 Circuit

Go to Step 3

3

Monitor the EGR pintle position voltage on Engine 1 Data List on the scan tool.

Is the EGR pintle position voltage below the specified value?

0.14V

Go to Step 5

Go to Step 4

4

  1. Turn ON the ignition leaving the engine OFF.
  2. Review the Freeze Frame and/or Failure Records data for this DTC and observe the parameters.
  3. Turn OFF the ignition for 15 seconds.
  4. Start the engine.
  5. Operate the vehicle within the conditions required for this diagnostic to run, and as close to the conditions recorded in the Freeze Frame/Failure Records as possible. Special operating conditions that you need to meet before the PCM will run this diagnostic, where applicable, are listed in Conditions for Running the DTC.
  6. Select the Diagnostic Trouble Code (DTC) option, the Specific DTC option, then enter the DTC number using the scan tool.

Does the scan tool indicate that this diagnostic failed this ignition?

--

Go to Step 5

Go to Diagnostic Aids

5

  1. Disconnect the EGR valve electrical connector.
  2. Jumper the 5.0 volt reference circuit and the EGR pintle signal circuit together at the EGR valve harness connector.
  3. Observe the EGR pintle position voltage display on the scan tool.

Is the EGR pintle position voltage near the specified value?

5.0V

Go to Step 11

Go to Step 6

6

  1. Connect the test lampJ 35616-200 between B+ and the EGR pintle position signal circuit at the EGR valve harness connector.
  2. Observe the EGR pintle position voltage display on the scan tool.

Is the voltage near the specified value?

5.0V

Go to Step 7

Go to Step 9

7

  1. Turn OFF the ignition.
  2. Disconnect the PCM C2 connector located on the same side as the manufacturer's logo. Refer to Powertrain Control Module Replacement/Programming .
  3. Test the 5.0 volt reference circuit for the following:
  4. • an open
    • a short to a ground
    • a short to a voltage
  5. If you find the 5.0 volt reference circuit is open or shorted, repair the circuit as necessary. Refer to Wiring Repairs in Wiring Systems.

Did you find the 5.0 volt reference circuit open or shorted?

--

Go to Step 14

Go to Step 8

8

  1. Test the 5.0 volt reference circuit for a poor connection at the PCM. Refer to Intermittents and Poor Connections Diagnosis in Wiring Systems.
  2. If you find a poor connection, repair the terminal as necessary. Refer to Repairing Connector Terminals in Wiring Systems.

Did you find and correct the condition?

--

Go to Step 14

Go to Step 13

9

  1. Turn OFF the ignition.
  2. Disconnect the PCM connector C2 located on the same side as the manufacturer's logo. Refer to Powertrain Control Module Replacement/Programming .
  3. Test the EGR pintle position signal circuit for the following:
  4. • Open circuit
    • Short to a ground
    • Short to sensor ground circuit
  5. If you find the EGR pintle position signal circuit is open or shorted to a ground, repair the circuit as necessary. Refer to Wiring Repairs in Wiring Systems.

Did you find the EGR pintle position signal circuit open or shorted to a ground?

--

Go to Step 14

Go to Step 10

10

  1. Test the EGR pintle position signal circuit for a poor connection at the PCM. Refer to Intermittents and Poor Connections Diagnosis in Wiring Systems.
  2. If you find a poor connection, repair the terminal as necessary. Refer to Repairing Connector Terminals in Wiring Systems.

Did you find and correct the condition?

--

Go to Step 14

Go to Step 13

11

  1. Test the connections at the EGR valve. Refer to Intermittents and Poor Connections Diagnosis in Wiring Systems.
  2. If you find a poor connection, repair the terminal as necessary. Refer to Repairing Connector Terminals in Wiring Systems.

Did you find and correct the condition?

--

Go to Step 14

Go to Step 12

12

Replace the EGR valve. Refer to Exhaust Gas Recirculation Valve Replacement .

Is the action complete?

--

Go to Step 14

--

13

Important:: Program the replacement PCM. Refer to Powertrain Control Module Replacement/Programming .

Replace the PCM.

Is the action complete?

--

Go to Step 14

--

14

  1. Select the Diagnostic Trouble Code (DTC) option and the Clear DTC Information option using the scan tool.
  2. Idle the engine at the normal operating temperature.
  3. Select the Diagnostic Trouble Code (DTC) option and the Specific DTC option, then enter the DTC number using the scan tool.
  4. Operate the vehicle within the Conditions for Running the DTC as specified in the supporting text, if applicable.

Does the scan tool indicate that this test ran and passed?

--

Go to Step 15

Go to Step 2

15

Select the Capture Info option and the Review Info option using the scan tool.

Does the scan tool display any DTCs that you have not diagnosed?

--

Go to the applicable DTC table

System OK