GM Service Manual Online
For 1990-2009 cars only
Table 1: DTC P0440 and P0442

Object Number: 373003  Size: MF
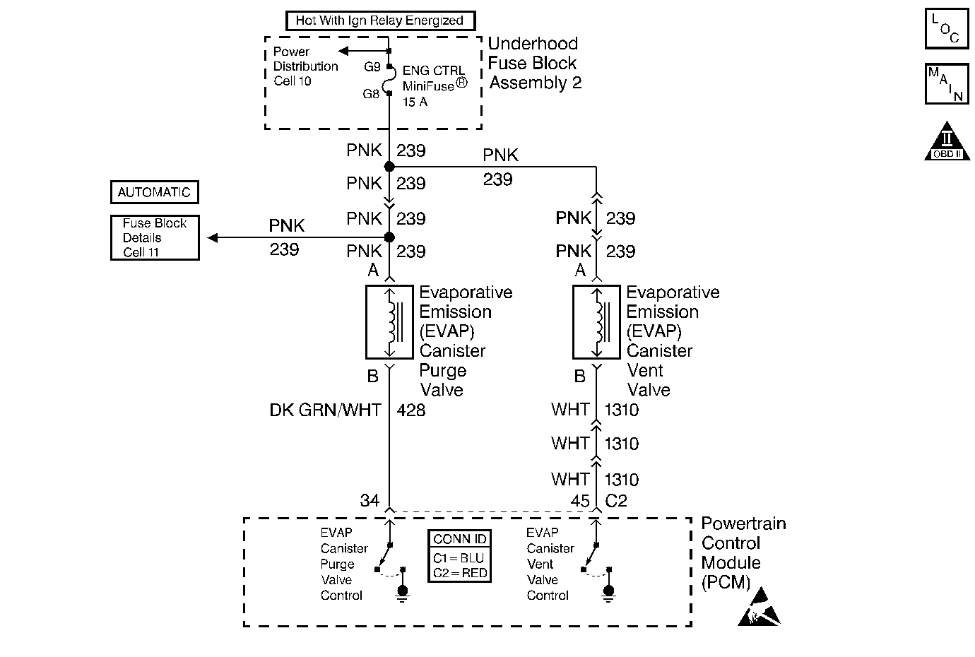
Engine Controls Component Views
EVAP and EGR
OBD II Symbol Description Notice
Handling ESD Sensitive Parts Notice

Circuit Description

The PCM tests the EVAP system for the following conditions:

    • Large and small leaks
    • Excess vacuum
    • Purge flow during non-commanded conditions
    • Fuel Level and Fuel Pressure sensor faults
    • EVAP Purge and Vent Valve faults

The PCM monitors the Fuel Tank Pressure sensor in order to determine the level of vacuum/pressure in the EVAP system. The PCM commands both the EVAP Purge Solenoid and the EVAP Vent Valve ON when the Conditions for Running the DTC are met in order to apply an engine vacuum to the EVAP system. The PCM commands the EVAP Purge Solenoid OFF once the system has reached a predetermined level of vacuum. The EVAP system should HOLD the vacuum in the sealed system. The PCM sets this DTC in order to indicate a small leak if the EVAP system fails to hold a predetermined level of vacuum for a predetermined length of time. This DTC sets after failing the above test twice.

Conditions for Running the DTC

    •  DTCs P0107, P0108, P0112, P0113, P0117, P0118, P0121, P0122, P0123, P0125, P0420, P0430, P0500, P0502, P0503, P0562, P0563, and HO2S DTCs are not set.
    • Vehicle speed less than 113 Kph (70 mph).
    • TP sensor angle less than 75%.
    • The barometric pressure is greater than 75 kPa.
    • The fuel level is between 15% and 85% of full capacity.
    • The engine coolant temperature is between 4°C (39°F) and 30°C (86°F).
    • The intake air temperature is between 4°C (39°F) and 30°C (86°F).
    • The start up engine coolant temperature and intake air temperature are within 9°C (16°F) of each other.

Conditions for Setting the DTC

The vacuum in the EVAP system decays (leaks) at too fast a rate.

Important: This DTC does NOT report a first failed test. A first fail of this DTC will have a scan tool status as Not Run. Use the scan tool data display parameter of EVAP Test Result to determine if this DTC has failed or passed for this ignition cycle.

Action Taken When the DTC Sets

    • The PCM illuminates the malfunction indicator lamp (MIL) when the diagnostic runs and fails.
    • The PCM records the operating conditions at the time the diagnostic fails. The PCM stores this information in the Freeze Frame and/or Failure Records.

Conditions for Clearing the MIL/DTC

    • The PCM turns OFF the malfunction indicator lamp (MIL) after 3 consecutive ignition cycles that the diagnostic runs and does not fail.
    • A last test failed, or current DTC, clears when the diagnostic runs and does not fail.
    • A history DTC clears after 40 consecutive warm-up cycles, if no failures are reported by this or any other emission related diagnostic.
    • Use a scan tool in order to clear the MIL and the DTC.

Diagnostic Aids

Important: 

   • Remove any debris from the PCM connector surfaces before servicing the PCM. Inspect the PCM connector gaskets when diagnosing/replacing the PCM. Ensure that the gaskets are installed correctly. The gaskets prevent contaminate intrusion into the PCM.
   • For any test that requires probing the PCM or a component harness connector, use the Connector Test Adapter Kit J 35616 . Using this kit prevents damage to the harness/component terminals. Refer to Using Connector Test Adapters in Wiring Systems.

    • An accurate indication of fuel level is required for the PCM to properly Pass or Fail this DTC. Always diagnose fuel level sensor DTCs before performing this DTC diagnostic table. Always inspect for fuel level sensor DTCs stored as History.
    • Perform a physical inspection of the EVAP system. Inspect for the following conditions:
       - A loose, missing, defective, or incorrect fuel tank cap
       - Incorrectly routed or defective EVAP system vacuum and vapor lines
       - A malfunctioning or damaged vapor canister
       - A damaged fuel sender O-ring
    • Inspect for charcoal release from the vapor canister. Refer to the Evaporative Emission System Cleaning procedure.

The vacuum and pressure in the EVAP system is measured in inches of H2O (water). Most gauges measure vacuum in inches of Hg (mercury) and pressure in psi (pounds per square inch). The following table illustrates how the values compare:

in. H2O

in. Hg.

psi

1 in. H2O

0.07 in. Hg

0.0361 psi.

5 in. H2O

0.36 in. Hg

0.180 psi.

10 in. H2O

0.73 in. Hg

0.361 psi.

15 in. H2O

1.10 in. Hg

0.541 psi.

Conditions for Running the Service Bay Test

    • The Service Bay Test may have to be performed in cold ambient air temperatures when the vehicle is running a winter grade fuel. The scan tool displays a message when the service bay test does not run.
       - The battery voltage is between 10.5 and 17.5 volts.
       - The fuel level is between 15% and 85% of the full capacity.
       - The engine temperature is between 3.5°C (38°F) and 35°C (95°F).
    • The scan tool displays Test Aborted if any of the above conditions are not met.
    • Using Freeze Frame and/or Failure Records data may aid in locating an intermittent condition. If you cannot duplicate the DTC, the information included in the Freeze Frame and/or Failure Records data can aid in determining how many miles since the DTC set. The Fail Counter and Pass Counter can also aid determining how many ignition cycles the diagnostic reported a pass and/or a fail. Operate the vehicle within the same freeze frame conditions (RPM, load, vehicle speed, temperature etc.) that you observed. This will isolate when the DTC failed.
    • For an intermittent, refer to Symptoms .

Test Description

The numbers below refer to the step numbers on the Diagnostic Table.

  1. It may be necessary to partially lower the fuel tank to inspect the upper portion of the tank and the EVAP line connections.

  2. An intermittent leak or restriction is indicated if the vehicle passes the Service Bay Test. A fuel tank cap that is loose or off causes this DTC to set.

    If the Service Bay Test can not be run, proceed to step 5. If a fault is not currently present the diagnostic table steps will return you to step 3.

  3. This step tests for a leak at the top of the fuel tank, at the fuel filler hose, and the fuel cap. Place the ultrasonic leak detector in these areas. Refer to the information supplied with the EVAP pressure/purge diagnostic cart on proper setup and adjustment procedures.

  4. With pressure applied it may be necessary to disconnect the EVAP lines at the components to verify that a line or component is not restricted. A restriction would prevent a vacuum (or the Step 10 test pressure) from forming in the fuel tank.

  5. A Fuel Tank Pressure sensor that does not correctly respond to pressure (or vacuum) causes this DTC to set.

    The Fuel Tank Pressure sensor range is from 7.5 in. H2O of pressure to -17.5 in. H2O of pressure (vacuum).

    In order to test the Fuel Tank Pressure sensor for vacuum response, command the EVAP Purge Solenoid Valve ON with the engine running and quickly SEAL the system. Leaving the EVAP Purge Solenoid Valve ON for a longer period of time allows a greater level of vacuum to develop.

DTC P0440 and P0442

Step

Action

Value(s)

Yes

No

1

Did you perform the Powertrain On-Board Diagnostic (OBD) System Check?

--

Go to Step 2

Go to Powertrain On Board Diagnostic (OBD) System Check

2

Are any other EVAP system DTC's stored in history?

--

Go to applicable DTC

Go to Step 3

3

Inspect the EVAP system for the following conditions:

    • A loose, incorrect, defective or missing fuel tank cap.
    • Disconnected, improperly routed, kinked or damaged EVAP system purge lines.
    • A damaged EVAP system component.
    • A loose, missing, or damaged service port dust cap and/or schrader valve. Refer to the test description for additional information.

Repair the EVAP system if needed.

Did you find and repair the condition?

--

Go to Step 21

Go to Step 4

4

Important: Ensure that The Conditions for Running the Service Bay test are met before proceeding with this diagnostic. Refer to Diagnostic Aids.

Perform the EVAP system Service Bay Test using a scan tool.

Does the EVAP diagnostic pass the Service Bay Test?

--

Go to Diagnostic Aids

Go to Step 5

5

Important: The DTCs must be cleared from the PCM in order to use the output control function on the scan tool.

  1. Clear the DTCs using a scan tool.
  2. Turn OFF the ignition.
  3. Remove the EVAP Purge line from the EVAP Purge Solenoid Valve.
  4. Connect the hand held vacuum pump J 23738-A to the vacuum port of the EVAP Purge Solenoid Valve.
  5. Attempt to apply a vacuum up to the specified value using the hand vacuum pump.

Can the value specified be obtained and held?

10 in Hg

Go to Step 6

Go to Step 15

6

Important: If an audible solenoid click cannot be heard and DTC P0443 is not set, inspect the EVAP canister purge solenoid circuits for high resistance.

  1. Connect a vacuum gauge to the EVAP Purge solenoid valve.
  2. Idle the engine.
  3. Command the EVAP Purge Solenoid Valve to 50% using a scan tool.

Is the vacuum measured on the gauge the same or more than the specified value?

12 in Hg

Go to Step 8

Go to Step 7

7

  1. Turn OFF the ignition.
  2. Remove the vacuum source from the EVAP Purge Solenoid.
  3. Connect a vacuum gauge to the vacuum source.
  4. Idle the engine.

Is the vacuum measured on the gauge the same or more than the specified value?

12 in Hg

Go to Step 15

Go to Step 14

8

  1. Turn OFF the ignition.
  2. Reconnect the EVAP purge line to the EVAP purge solenoid.
  3. Lower the fuel tank to gain access to the EVAP canister. Refer to Evaporative Emission Canister Replacement .
  4. Disconnect the EVAP purge line from the EVAP Canister (line from the EVAP purge solenoid valve).
  5. Connect the Vacuum Pump J 23738-A to the EVAP Purge line from the EVAP purge solenoid valve.
  6. Using the Vacuum Pump J 23738-A attempt to apply a vacuum up to the specified value.

Can the specified value of vacuum be obtained and held?

5 in Hg

Go to Step 9

Go to Step 18

9

  1. Turn OFF the ignition.
  2. Disconnect the fuel tank vapor line from the EVAP Canister.
  3. Plug the EVAP canister port for the fuel tank vapor line.
  4. Connect the Vacuum Pump J 23738-A to the EVAP Purge port on the EVAP canister.
  5. Turn ON the ignition.
  6. Command the EVAP Vent Valve ON (closed) using a scan tool.
  7. Using the Vacuum Pump J 23738-A attempt to apply a vacuum up to the specified value.

Can the specified value of vacuum be obtained and held?

5 in Hg

Go to Step 12

Go to Step 10

10

  1. Leave the system connected as in Step 9.
  2. Disconnect the vent line at the EVAP Vent Valve.
  3. Plug the vent line.
  4. Attempt to apply a vacuum up to the specified value using the Vacuum Pump J 23738-A .

Can the specified value of vacuum be obtained and held?

5 in. Hg.

Go to Step 16

Go to Step 11

11

  1. Inspect the EVAP Vent line from the canister to the EVAP Vent Valve for leaks or missing/damaged O-ring seals.
  2. If you find a condition repair the EVAP system as necessary.

Did you find and correct the condition?

--

Go to Step 21

Go to Step 17

12

Important: The following steps require the EVAP Pressure/Purge Diagnostic Station J 41413 and the Ultrasonic Leak Detector J 41416 .

Always zero the EVAP Pressure and Vacuum (in. H2O) gauges on the EVAP Pressure/Purge Diagnostic Station J 41413 before proceeding with diagnosis.

  1. Turn OFF the ignition.
  2. Remove the plug and the hand vacuum pump.
  3. Reconnect all the EVAP components.
  4. Connect the EVAP Pressure/Purge Diagnostic Station J 41413 to the EVAP system service port.
  5. Command the EVAP Vent Valve ON (closed) using a scan tool.
  6. Continuously attempt to pressurize the EVAP system by leaving the EVAP pressure/purge diagnostic station control knob in the pressurize position.
  7. Using the Ultrasonic Leak Detector J 41416 locate and repair EVAP system leak.

Did you find and repair the condition?

--

Go to Step 21

Go to Step 13

13

  1. Inspect the EVAP system for restrictions. Refer to Test Descriptions.
  2. Repair as needed.

Did you find and correct the condition?

--

Go to Step 21

Go to Step 19

14

Repair the vacuum source to the EVAP Purge Solenoid Valve.

Is the action complete?

--

Go to Step 21

--

15

Important: Inspect the EVAP Purge Solenoid Valve and the purge line for carbon contamination. Refer to Diagnostic Aids .

Replace the EVAP Purge Solenoid Valve. Refer to Evaporative Emission Canister Purge Solenoid Valve Replacement .

Is the action complete?

--

Go to Step 21

--

16

Replace the EVAP Vent Valve. Refer to Evaporative Emission Vent Valve Replacement .

Is the action complete?

--

Go to Step 21

--

17

Replace the EVAP Vapor Canister. Refer to Evaporative Emission Canister Replacement .

Is the action complete?

--

Go to Step 21

--

18

Replace the EVAP line from the EVAP Purge solenoid valve to the EVAP canister. Refer to Fuel Hose/Pipes Assembly Replacement .

Is the action complete?

--

Go to Step 21

--

19

  1. With the EVAP system pressurized, compare the EVAP pressure/purge diagnostic station pressure gauge (in. H20) reading to the Fuel Tank Pressure sensor reading on the scan tool.
  2. Compare the readings with the system depressurized. Refer to the Test Description .

Does the Fuel Tank Pressure sensor indicate the actual amount of pressure in the EVAP system?

--

Go to Step 3

Go to Step 20

20

Replace the Fuel Tank Pressure sensor. Refer to Fuel Tank Pressure Sensor Replacement .

Is the action complete?

--

Go to Step 21

--

21

  1. Select the Diagnostic Trouble Code (DTC) option and the Clear DTC Information option using the scan tool.
  2. Idle the engine at the normal operating temperature.
  3. Select the Diagnostic Trouble Code (DTC) option and the Specific DTC option, then enter the DTC number using the scan tool.
  4. Operate the vehicle within the Conditions for Running the DTC as specified in the supporting text, if applicable.

Does the scan tool indicate that this test ran and passed?

--

Go to Step 22

Go to Step 2

22

Select the Capture Info option and the Review Info option using the scan tool.

Does the scan tool display any DTCs that you have not diagnosed?

--

Go to Applicable DTC

System OK