GM Service Manual Online
For 1990-2009 cars only
Makes
🢒
Chevrolet
🢒
1999
🢒
Camaro
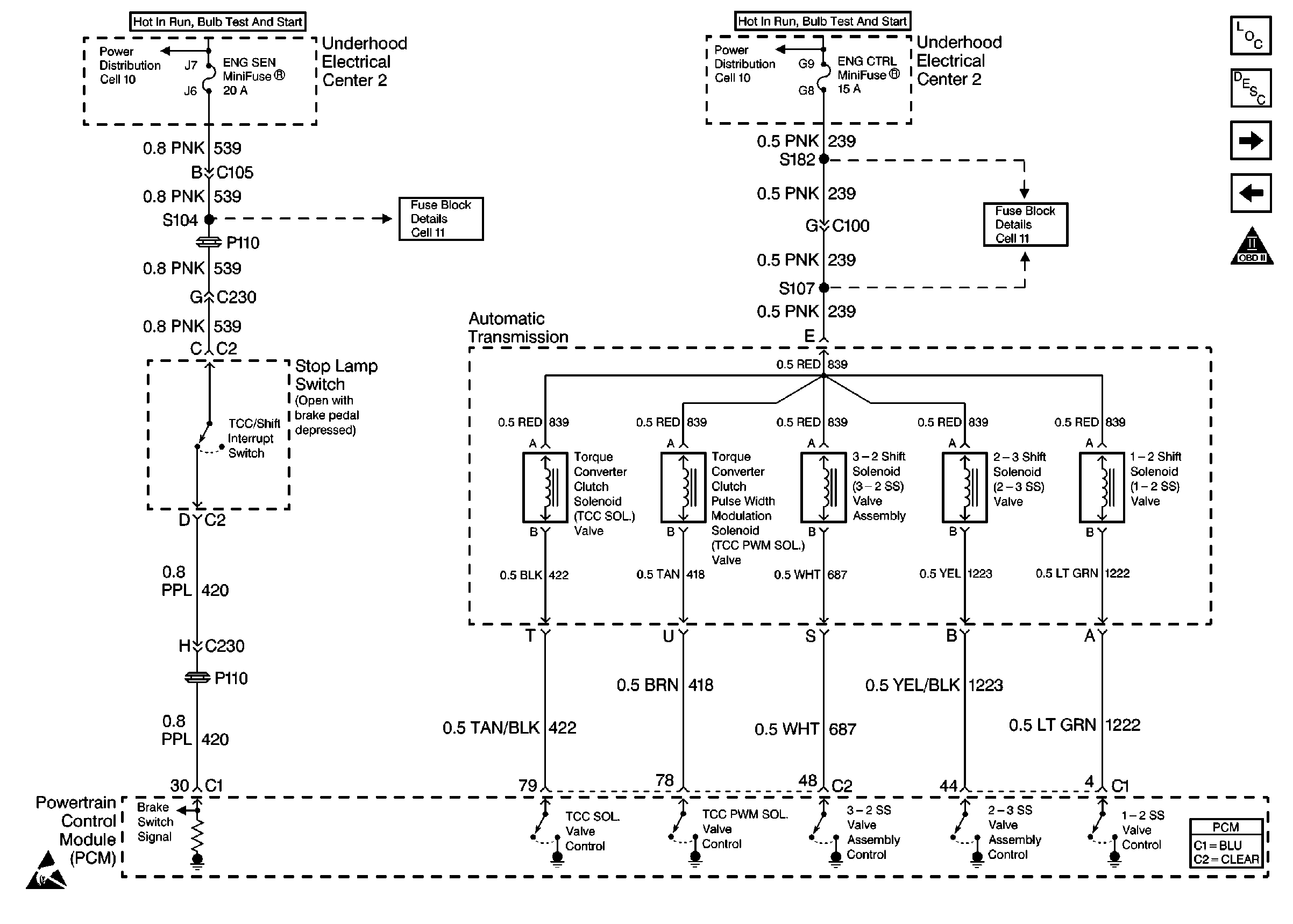
🢒 Brake Switch, TCC Solenoid
Brake Switch, TCC Solenoid
Brake Switch, TCC Solenoid
Engine Controls Components
Electronic Component Description
Trans Range
2nd Gear, Clutch Anticipated Switch
OBD II Symbol Description Notice
Handling ESD Sensitive Parts Notice
Powertrain Control Module Connector End Views
Power Distribution Schematics
Power Distribution Schematics
Fuse Block Schematics
Fuse Block Schematics