GM Service Manual Online
For 1990-2009 cars only
Makes
🢒
Chevrolet
🢒
1999
🢒
Camaro
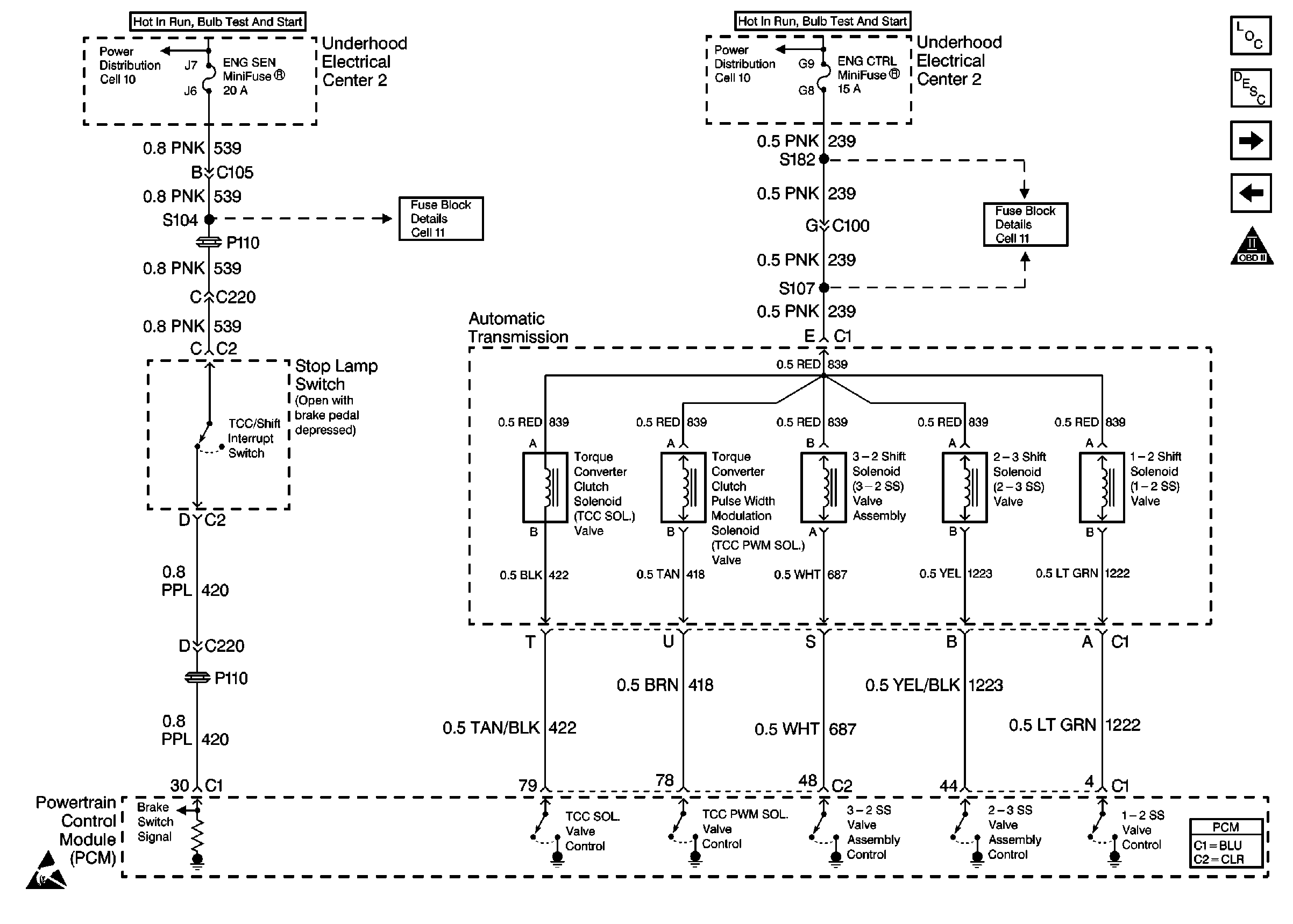
🢒 Brake Switch, TCC Solenoid
Brake Switch, TCC Solenoid
Brake Switch, TCC Solenoid
Engine Controls Components
Powertrain Control Module Description
Trans Range
2nd Gear, Clutch Anticipate Switch
OBD II Symbol Description Notice
Ignition Switch and Underhood Electrical Center 2
U/H Center 2: ENG SEN Fuse
Ignition Switch and Underhood Electrical Center 2
U/H Center 2: ENG CTRL Fuse
Handling ESD Sensitive Parts Notice