GM Service Manual Online
For 1990-2009 cars only

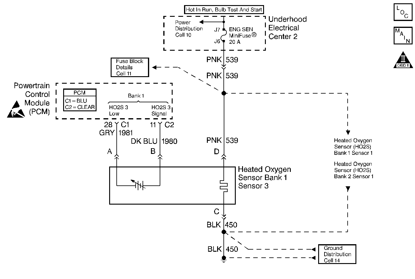
Object Number: 222057  Size: MF
Engine Controls Components
HO2S Sensors
OBD II Symbol Description Notice
Handling ESD Sensitive Parts Notice

Circuit Description

Heated oxygen sensors are used to minimize the amount of time required for closed loop fuel control operation and to allow accurate catalyst monitoring. The oxygen sensor heater greatly decreases the amount of time required for fuel control sensors Bank 1 HO2S 1 and Bank 2 HO2S 1 to become active. An oxygen sensor heater is required by catalyst monitor sensor Bank 1 HO2S 3 to maintain a sufficiently high temperature which allows accurate exhaust oxygen content readings further from the engine. The PCM will run the heater test only after a cold start (determined by engine coolant and intake air temperature at the time of startup) and only once during an ignition cycle. When the engine is started the PCM will monitor the HO2S voltage. When the Bank 1 HO2S 3 voltage indicates a sufficiently active sensor, the PCM looks at how much time has elapsed since startup. If the PCM determines that too much time was required for the Bank 1 HO2S 3 to become active, a DTC P0147 will set. The time it should take the HO2S to reach operating temperature is based on the engine coolant temperature at start-up and the average Mass Air Flow since startup (higher average airflow or higher startup engine coolant temperature = shorter time to HO2S activity).

Conditions for Running the DTC

    • No Misfire, CKP, Fuel Injector, MAF, TP, EVAP, IAT, MAP, Fuel Trim, EGR or ECT DTCs.
    • System voltage is between 9 and 18 volts.
    • Intake Air Temperature (IAT) is less than 35°C (95°F) at startup
    • Engine Coolant Temperature (ECT) is less than 35°C (95°F) at startup.
    • IAT and ECT are within 6°C (11°F) of each other at start-up.
    • The average mass air flow for the sample period is less than 22.7 gm/s.

Conditions for Setting the DTC

    • Bank 1 HO2S 3 voltage remains within 150 mV of the bias voltage (about 450 mV).
    • The amount of time depends on engine coolant temperature at startup and the average air flow since startup.

Action Taken When the DTC Sets

    • The PCM will illuminate the malfunction indicator lamp (MIL) during the second consecutive trip in which the diagnostic test has been run and failed.
    • The PCM will store conditions which were present when the DTC set as Freeze Frame and Failure Records data.

Conditions for Clearing the MIL/DTC

    • The PCM will turn OFF the MIL during the third consecutive trip in which the diagnostic has been run and passed.
    • The History DTC will clear after 40 consecutive warm-up cycles have occurred without a malfunction.
    • The DTC can be cleared by using the scan tool.

Diagnostic Aids

Check for the following conditions:

    • Poor connection at the PCM - Inspect harness connectors for the following conditions:
       - Backed out terminals.
       - Improper mating.
       - Broken locks.
       - Improperly formed or damaged terminals.
       - Poor terminal to wire connection.
    • Damaged harness - Inspect the wiring harness for damage. If the harness appears to be OK, observe the display on the scan tool while moving connectors and wiring harnesses related to the sensor. A change in the display will indicate the location of the fault.

Review the Freeze Frame/Fail Records vehicle mileage since the diagnostic test last failed. This may help determine how often the condition that caused the DTC to be set occurs.

Test Description

Number(s) below refer to the step number(s) on the Diagnostic Table:

  1. The HO2S should be allowed to cool before performing this test. If the HO2S heater is functioning, the signal voltage will gradually increase or decrease as the sensor element warms. If the heater is not functioning, the HO2S signal will remain near the 450mV bias voltage.

  2. This step ensures that the ignition feed circuit to the HO2S is not open or shorted. The test lamp should be connected to a good chassis ground, in case the HO2S low or HO2S heater ground circuit is faulty.

  3. This step tests the HO2S heater ground circuit.

  4. This step tests for an open or shorted HO2S heater element. The heater element resistance will vary according to HO2S temperature (a hot HO2S heater element will measure a much higher resistance than a HO2S heater element at room temperature). It is important to allow the HO2S to cool before measuring HO2S heater element resistance.

  5. An open HO2S signal or low circuit can cause the HO2S heater to appear faulty. inspect these circuits before replacing the sensor.

DTC P0147 - HO2S Heater Circuit Bank 1 Sensor 3

Step

Action

Value(s)

Yes

No

1

Did you perform the Powertrain On-Board Diagnostic (OBD) System Check performed?

--

Go to Step 2

Go to Powertrain On Board Diagnostic (OBD) System Check

2

Important: If engine has just been operating, allow engine to cool for about one half hour before proceeding.

  1. Turn ON the ignition.
  2. With a scan tool, observe the HO2S voltage parameter.

Does HO2S voltage vary from bias voltage to more thanthe first specified value or less than the second specified value?

600 mV

300 mV

Go to Diagnostic Aids

Go to Step 3

3

Inspect ignition feed fuse for the HO2S.

Is the fuse open?

--

Go to Step 15

Go to Step 4

4

Important:: Use a known good ground. Do not use the HO2S heater ground circuit or the HO2S low circuit.

  1. Disconnect the HO2S.
  2. Probe the HO2S ignition feed circuit (PCM side) using a J 35616-200 Test Lamp that is connected to a good ground.

Does the test lamp illuminate?

--

Go to Step 5

Go to Step 7

5

Connect a test lamp between HO2S ignition feed and HO2S heater ground.

Does the test lamp illuminate?

--

Go to Step 6

Go to Step 8

6

  1. Allow the HO2S to cool for at least 10 minutes.
  2. Measure the resistance between the ignition feed circuit and the heater ground circuit at the HO2S pigtail using a J 39200 Digital Multimeter.

Does the resistance measure within the specified range?

5-10 ohms

Go to Step 9

Go to Step 14

7

Repair the open HO2S ignition feed circuit. Refer to Wiring Repairs .

Did you complete the repair?

--

Go to Step 16

--

8

Repair open HO2S heater ground circuit. Refer to Wiring Repairs .

Did you complete the repair?

--

Go to Step 16

--

9

Inspect for poor connections at the HO2S. Refer to Intermittents and Poor Connections Diagnosis and Connector Repairs .

Did you find and correct the condition?

--

Go to Step 16

Go to Step 10

10

  1. Turn OFF the ignition.
  2. Disconnect the PCM.
  3. Test for continuity of the HO2S signal circuit and the Bank 1 HO2S 3 low circuit.
  4. If either circuit measures over 5 ohms, repair open or poor connection as necessary. Refer to Intermittents and Poor Connections Diagnosis and Connector Repairs or Wiring Repairs .

Did you find and correct the condition?

--

Go to Step 16

Go to Step 11

11

Inspect for a poor HO2S signal or low circuit connection at the HO2S. Refer to Intermittents and Poor Connections Diagnosis and Connector Repairs .

Did you find and correct the condition?

--

Go to Step 16

Go to Step 12

12

Inspect for a poor HO2S low circuit connection at the PCM. Refer to Intermittents and Poor Connections Diagnosis and Connector Repairs .

Did you find and correct the condition?

--

Go to Step 16

Go to Step 13

13

Inspect for a poor HO2S signal circuit connection at the PCM. Refer to Intermittents and Poor Connections Diagnosis and Connector Repairs .

Did you find and correct the condition?

--

Go to Step 16

Go to Step 14

14

Replace the HO2S. Refer to Heated Oxygen Sensor Replacement

Did you complete the replacement?

--

Go to Step 16

--

15

Locate and repair the short to ground in HO2S ignition feed circuit and replace the faulty fuse. Refer to Wiring Repairs .

Did you complete the repair?

--

Go to Step 16

--

16

Important: If engine has just been operating, allow engine to cool for about one half hour before proceeding.

  1. Clear DTCs
  2. Turn ON the ignition, with the engine OFF.
  3. With a scan tool, observe the HO2S voltage parameter.

Does HO2S voltage go from bias voltage to more thanthe first specified value or less than the second specified value?

600 mV

300 mV

System OK

Go to Step 2