GM Service Manual Online
For 1990-2009 cars only
Makes
🢒
Chevrolet
🢒
1999
🢒
Camaro
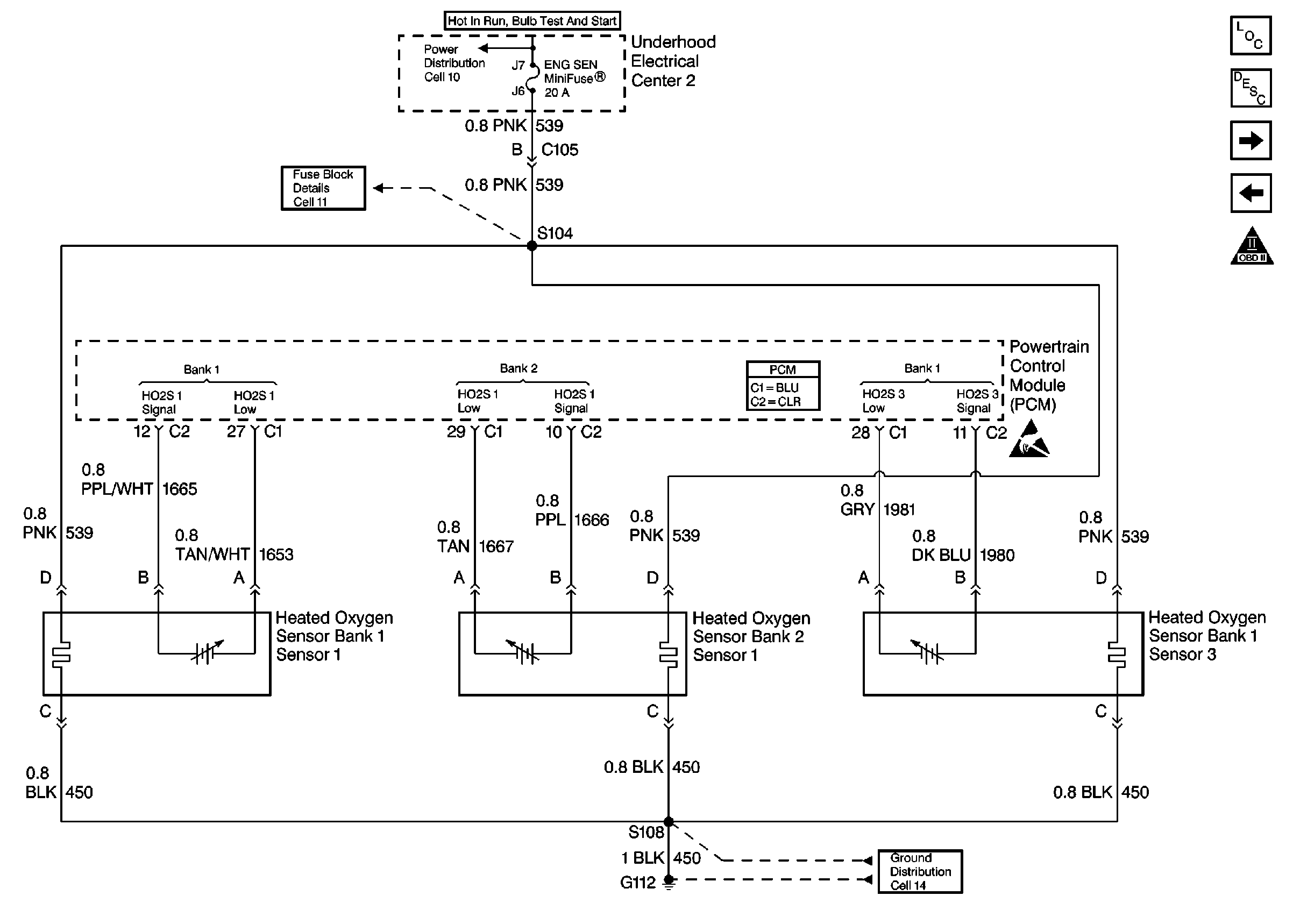
🢒 HO2S Sensors
HO2S Sensors
HO2S Sensors
Engine Controls Components
Powertrain Control Module Description
MAF Sensor, EVAP System, EGR Valve
TP, MAP, ECT, IAT Sensors
OBD II Symbol Description Notice
Ignition Switch and Underhood Electrical Center 2
U/H Center 2: ENG SEN Fuse
Handling ESD Sensitive Parts Notice
G112 V8 VIN G