GM Service Manual Online
For 1990-2009 cars only

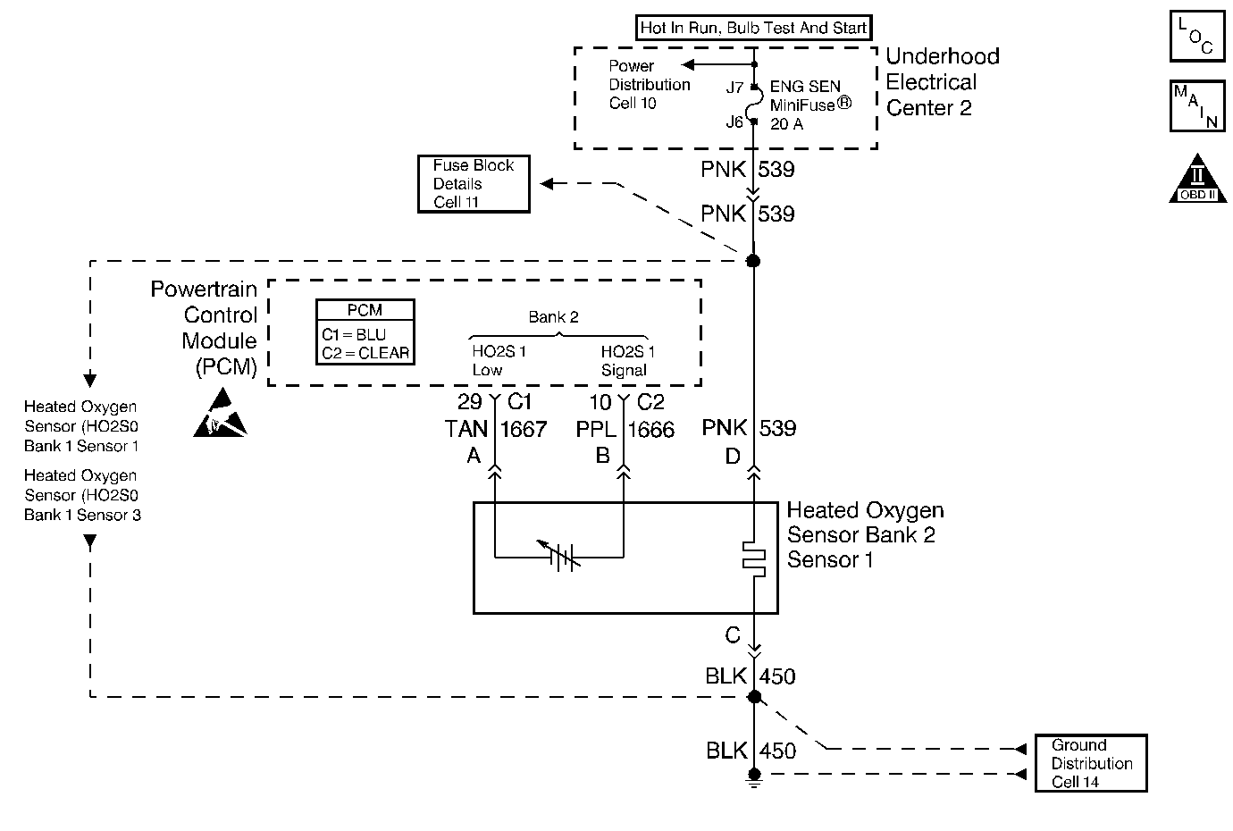
Object Number: 226749  Size: MF
Engine Controls Components
HO2S Sensors
OBD II Symbol Description Notice
Handling ESD Sensitive Parts Notice

Circuit Description

The PCM continuously monitors the Heated Oxygen Sensor (HO2S) activity. The PCM counts the number of times that the HO2S responds from rich to lean and from lean to rich and adds the amount of time it took to complete all transitions for a 100 second test period. With this information, an average time for all transitions can be determined. The PCM then divides the rich to lean average by the lean to rich average to obtain a ratio. If the HO2S transition time ratio is not within range, DTC P1154 will be set indicating that the oxygen sensor is not responding as expected to changes in exhaust oxygen content.

Conditions for Running the DTC

    • No Fuel Injector, MAF, TP, EVAP, IAT, MAP, Fuel Trim, EGR or ECT DTCs are set.
    • DTC P0135 is not set.

Conditions for Setting the DTC

    • The PCM detects the Bank 2 HO2S 1 transition time ratio is less than 0.4 and greater than 4.
    • The conditions are present for a 2 minutes after closed loop enable.

Action Taken When the DTC Sets

    • The PCM will illuminate the malfunction indicator lamp (MIL) during the second consecutive trip in which the diagnostic test has been run and failed.
    • The PCM will store conditions which were present when the DTC set as Freeze Frame and Failure Records data.

Conditions for Clearing the MIL/DTC

    • The PCM will turn OFF the MIL during the third consecutive trip in which the diagnostic has been run and passed.
    • The History DTC will clear after 40 consecutive warm-up cycles have occurred without a malfunction.
    • The DTC can be cleared by using the scan tool.

Diagnostic Aids

A malfunction in the HO2S heater ignition feed or ground circuit may cause a DTC P1154 to set. Check HO2S heater circuitry for intermittent faults or poor connections. If connections and wiring are OK and DTC P1154 continues to set, replace the Bank 2 HO2S 1. Review the Fail Records vehicle mileage since the diagnostic test last failed. This may help determine how often the condition that caused the DTC to be set occurs.

Test Description

Number(s) below refer to the step number(s) on the Diagnostic Table:

  1. This step determines if the fault is present. This test may take 5 minutes for the diagnostic to run.

  2. A condition that affects other heated oxygen sensors indicates probable contamination. To avoid damaging replacement sensors, correct the condition which caused the contamination before replacing the affected sensors.

  3. A exhaust leak 6 to 12 inches away from the HO2S can cause this DTC to set.

  4. This step tests for conditions which may cause the heated oxygen sensor to appear faulty. Correct any of the described conditions if present.

  5. This step tests the integrity of the signal circuit to the PCM.

  6. This step tests the integrity of the signal circuit to the PCM.

  7. To avoid damaging replacement sensors, correct the condition which caused the contamination before replacing the affected sensors.

DTC P1154 - HO2S Transition Time Ratio Bank 2 Sensor 1

Step

Action

Value(s)

Yes

No

1

Did you perform the Powertrain On-Board Diagnostic (OBD) System Check performed?

--

Go to Step 2

Go to Powertrain On Board Diagnostic (OBD) System Check

2

Important: If any DTCs are set (except HO2S DTCs), refer to those DTCs before proceeding with this table.

  1. With a scan tool, record Fail Records.
  2. Operate vehicle within the Fail Record conditions.

Does scan tool indicate this DTC failed this ignition?

--

Go to Step 3

Go to Diagnostic Aids

3

Does the scan tool indicate other HO2S DTCs set?

--

Go to Step 8

Go to Step 4

4

Inspect the exhaust system for a leak. Refer to Exhaust System Inspection in Engine Exhaust.

Did you find and correct the condition?

--

Go to Step 14

Go to Step 5

5

Visually/physically inspect the following items:

    • Ensure that the HO2S is securely installed.
    • Inspect for corrosion on terminals.
    • Inspect the connections at the HO2S and at the PCM. Refer to Intermittents and Poor Connections Diagnosis and Connector Repairs .
    • Inspect for damaged wiring. Refer to Wiring Repairs .

Did you find and correct the condition?

--

Go to Step 14

Go to Step 6

6

  1. Disconnect the HO2S.
  2. Jumper the low circuit to a good ground.
  3. With a scan tool, observe the HO2S voltage parameter.

Does the scan tool indicate HO2S voltage within the specified range?

350-550 mV

Go to Step 7

Go to Step 10

7

  1. Jumper the signal and low circuits to a good ground.
  2. With a scan tool, observe the HO2S voltage parameter.

Does the scan tool indicate HO2S voltage less than specified value?

200 mV

Go to Step 13

Go to Step 9

8

Important: Determine correct the cause of the contamination before replacing a sensor.

Inspect for the following conditions:

    • Fuel contamination
    • Use of improper RTV sealant
    • Engine oil/coolant consumption

Replace the affected Heated Oxygen Sensor. Refer to Heated Oxygen Sensor Replacement .

Did you complete the replacement?

--

Go to Step 14

--

9

  1. Remove the jumper wire from the low circuit.
  2. Measure the voltage on the low circuit using a J 39200 Digital Multimeter that is connected to a good ground.

Does the voltage measure at or near the specified value?

5V

Go to Step 12

Go to Step 11

10

Repair the short to ground or short to voltage in the HO2S signal circuit. Refer to Wiring Repairs .

Did you complete the repair?

--

Go to Step 14

--

11

Repair the open in the HO2S low circuit or faulty PCM connections. Refer to Intermittents and Poor Connections Diagnosis and Connector Repairs or Wiring Repairs .

Did you complete the repair?

--

Go to Step 14

--

12

Repair the open in the HO2S signal circuit or faulty PCM connections. Refer to Intermittents and Poor Connections Diagnosis and Connector Repairs or Wiring Repairs .

Did you complete the repair?

--

Go to Step 14

--

13

Replace the HO2S. Refer to Heated Oxygen Sensor Replacement .

Did you complete the replacement?

--

Go to Step 13

--

14

  1. Use the scan tool in order to clear DTCs
  2. Operate the vehicle within Fail Records conditions.

Does the DTC reset?

--

Go to Step 2

Go to Step 15

15

Does the scan tool indicate any DTCs set you have not diagnosed?

--

Go to the applicable DTC table

System OK