GM Service Manual Online
For 1990-2009 cars only

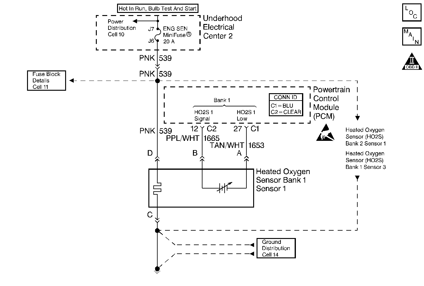
Object Number: 368488  Size: MF
Engine Controls Components
HO2S Sensors
OBD II Symbol Description Notice
Handling ESD Sensitive Parts Notice

Circuit Description

The PCM supplies a bias voltage of about 450 mV between the HO2S signal and low circuits. When measured with a 10 megohm digital voltmeter, this may display as low as 350 mV. The oxygen sensor varies the voltage within a range of about 1000 mV when the exhaust is rich, down through about 100 mV when exhaust is lean. The PCM constantly monitors the HO2S signal during closed loop operation and compensates for a rich or lean condition by decreasing or increasing injector pulse width as necessary. If the Bank 1 HO2S 1 voltage remains excessively low for an extended period of time, DTC P0131 will be set.

Conditions for Running the DTC

    • No Misfire, CKP, Fuel Injector, MAF, TP, EVAP, IAT, MAP, Fuel Trim, EGR or ECT DTCs are present.
    • The vehicle is in closed loop.
    • The Air/Fuel Ratio is greater than or equal to 14.5 but less than or equal to 14.8
    • Throttle angle is between 3% and 40%

Conditions for Setting the DTC

    • Bank 1 HO2S 1 signal voltage remains below 175 mV during normal closed loop operation
        OR
    • Bank 1 HO2S 1 signal voltage remains below 0 mV during power enrichment.

Action Taken When the DTC Sets

    • The PCM will illuminate the malfunction indicator lamp (MIL) during the second consecutive trip in which the diagnostic test has been run and failed.
    • The PCM will store conditions which were present when the DTC set as Freeze Frame and Failure Records data.

Conditions for Clearing the MIL/DTC

    • The PCM will turn OFF the MIL during the third consecutive trip in which the diagnostic has been run and passed.
    • The History DTC will clear after 40 consecutive warm-up cycles have occurred without a malfunction.
    • The DTC can be cleared by using the scan tool.

Diagnostic Aids

Check for the following conditions:

    • Heated oxygen sensor wiring damaged -- The sensor pigtail may be routed incorrectly and contacting the exhaust system.
    • Poor PCM to engine block grounds
    • Poor connection at the PCM - Inspect harness connectors for the following conditions:
       - Backed out terminals.
       - Improper mating.
       - Broken locks.
       - Improperly formed or damaged terminals.
       - Poor terminal to wire connection.
    • Throttle body inlet screen blockage
    • Low fuel pressure -- The system will go lean if pressure is too low. The PCM can compensate for some decrease. However, if fuel pressure is too low, a DTC P0131 may be set. Refer to Fuel System Pressure Test .
    • Fuel injector(s) contaminated or faulty -- Refer to Fuel Injector Balance Test
    • Exhaust leaks -- An exhaust leak may cause outside air to be pulled into the exhaust gas stream past the HO2S, causing the system to appear lean. Check for exhaust leaks that may cause a false lean condition to be indicated.
    • Faulty MAF sensor -- Disconnect the MAF sensor and see if the lean condition is corrected. If so, replace the MAF sensor.
    •  Fuel contamination -- Water, even in small amounts, can be delivered to the fuel injectors. The water can cause a lean exhaust to be indicated. Excessive alcohol in the fuel can also cause this condition. Refer to Alcohol/Contaminants-in-Fuel Diagnosis for procedure to check for fuel contamination.

If none of the above conditions are present, replace the affected HO2S.

Test Description

Number(s) below refer to step number(s) on the Diagnostic Table:

  1. This DTC failing during power enrichment operation (TP angle above 60%) may indicate a condition described in Diagnostic Aids. If this DTC test passes while the Fail Records conditions are being duplicated, an intermittent condition is indicated. Review the Fail Records vehicle mileage since the diagnostic test last failed. This may help determine how often the condition that caused the DTC to be set occurs.

  2. This vehicle is equipped with a PCM which utilizes an Electrically Erasable Programmable Read Only Memory (EEPROM). When the PCM is replaced, the new PCM must be programmed.

DTC P0131 - HO2S Circuit Low Voltage Bank 1 Sensor 1

Step

Action

Value(s)

Yes

No

1

Did you perform the Powertrain On-Board Diagnostic (OBD) System Check performed?

--

Go to Step 2

Go to Powertrain On Board Diagnostic (OBD) System Check

2

  1. Engine at operating temperature.
  2. Operate vehicle within parameters specified under Conditions for Setting the DTC.
  3. With a scan tool, observe HO2S voltage.

Does the HO2S voltage remain below the specified value?

300 mV

Go to Step 4

Go to Step 3

3

  1. Turn ON the ignition, with the engine OFF.
  2. With a scan tool, review and record Fail Records.
  3. Operate vehicle within Fail Records conditions.

Does the scan tool indicate this DTC failed this ignition?

--

Go to Step 4

Go to Diagnostic Aids

4

Disconnect the HO2S and jumper the HO2S low circuit to a good ground.

Does scan tool indicate HO2S voltage near the specified value?

450 mV

Go to Diagnostic Aids

Go to Step 5

5

  1. Turn OFF the ignition.
  2. Disconnect the PCM.
  3. Test the HO2S signal circuit for a short to ground or a short to the sensor ground circuit.

Is the signal circuit shorted?

--

Go to Step 6

Go to Step 7

6

Repair the HO2S signal circuit. Refer to Wiring Repairs .

Did you complete the repair?

--

Go to Step 8

--

7

Important: Replacement PCM must be programmed. Refer to Powertrain Control Module Replacement/Programming

Replace the PCM.

Did you complete the replacement?

--

Go to Step 8

--

8

  1. Use the scan tool in order to clear DTCs.
  2. Operate the vehicle within the Fail Record conditions.

Does the DTC reset?

--

Go to Step 2

System OK