GM Service Manual Online
For 1990-2009 cars only

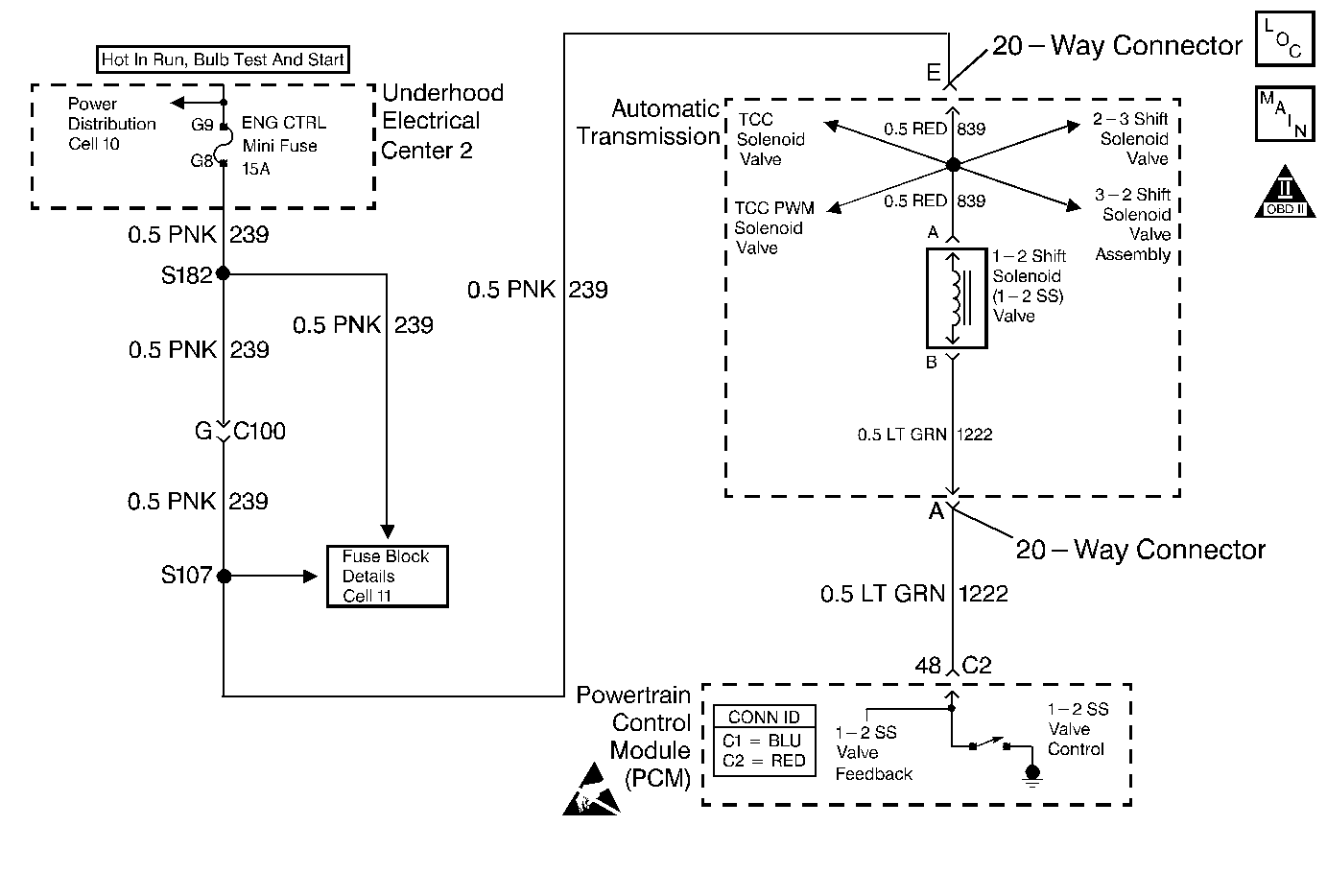
DTC P0753 1-2 Shift Solenoid Circuit Electrical 5.7L


Object Number: 331466  Size: MF
Automatic Transmission Components V8 VIN G
Automatic Transmission Controls Schematics
OBD II Symbol Description Notice
Handling ESD Sensitive Parts Notice

Circuit Description

The 1-2 shift solenoid (SS) valve controls the fluid flow acting on the 1-2 and 3-4 shift valves. The 1-2 SS valve is a normally-open exhaust valve that is used with the 2-3 SS valve in order to allow four different shifting combinations. The solenoid attaches to the control valve body within the transmission. The 1-2 SS valve receives ignition voltage through circuit 239. The powertrain control module (PCM) controls the solenoid by providing the ground path on circuit 1222.

When the PCM detects a continuous open or short to ground in the 1-2 SS valve circuit or the 1-2 SS valve, then DTC P0753 sets. DTC P0753 is a type B DTC.

Conditions for Running the DTC

    • The system voltage is 8-18 volts.
    • The engine speed is greater than 300 RPM for 5 seconds.
    • The engine is not in fuel cutoff.

Conditions for Setting the DTC

DTC P0753 sets if either of the following conditions occurs for 5 seconds:

    • The PCM commands the solenoid ON and the voltage input remains high (B+).
    • The PCM commands the solenoid OFF and the voltage input remains low (0 volts).

Action Taken When the DTC Sets

    • The PCM illuminates the malfunction indicator lamp (MIL) during the second consecutive trip in which the conditions for setting the DTC are met.
    • The PCM commands D2 line pressure.
    • The PCM inhibits 3-2 downshifts if the vehicle speed is greater than 48 km/h (30 mph).
    • The PCM freezes shifts adapts from being updated.
    • The PCM stores DTC P0753 in the PCM history during the second consecutive trip in which the conditions for setting the DTC are met.

Conditions for Clearing the MIL/DTC

    • The PCM turns OFF the MIL during the third consecutive trip in which the diagnostic test runs and passes.
    • A scan tool clears the DTC from PCM history.
    • The PCM clears the DTC from PCM history if the vehicle completes 40 warm-up cycles without an emission-related diagnostic fault occurring.
    • The PCM cancels the DTC default actions when the fault no longer exists and the ignition switch is OFF long enough in order to power down the PCM.

Diagnostic Aids

    • Inspect the wiring at the PCM, the transmission connector and all other circuit connecting points for the following conditions:
       - A backed out terminal
       - A damaged terminal
       - Reduced terminal tension
       - A chafed wire
       - A broken wire inside the insulation
       - Moisture intrusion
       - Corrosion
    • When diagnosing for an intermittent short or open condition, massage the wiring harness while watching the test equipment for a change.
    • An open ignition feed circuit can cause multiple DTCs to set.
    • Refer to the Shift Solenoid Valve State and Gear Ratio table.

Test Description

The numbers below refer to the step numbers on the diagnostic table.

  1. This step tests the function of the 1-2 SS valve and the automatic transmission (A/T) wiring harness assembly.

  2. This step tests for power to the 1-2 SS valve from the ignition through the fuse.

  3. This step tests the ability of the PCM and the wiring to control the ground circuit.

  4. This step measures the resistance of the A/T wiring harness assembly and the 1-2 SS valve.

DTC P0753 1-2 SS Circuit Electrical (5.7L, VIN G)

Step

Action

Value(s)

Yes

No

1

Was the Powertrain On-Board Diagnostic (OBD) System Check performed?

--

Go to Step 2

Go to Powertrain On Board Diagnostic (OBD) System Check in Engine Controls

2

  1. Install the Scan Tool .
  2. With the engine OFF, turn the ignition switch to the RUN position.
  3. Important: Before clearing the DTC, use the scan tool in order to record the Freeze Frame and Failure Records. Using the Clear Info function erases the Freeze Frame and Failure Records from the PCM.

  4. Record the DTC Freeze Frame and Failure Records.
  5. Clear the DTC.

Are any of the following DTCs also set?

    • P0740
    • P0758
    • P0785
    • P1860

--

Go to Step 3

Go to Step 4

3

  1. Inspect the ENG CTRL fuse.
  2. If the fuse is open, inspect the following components for a short to ground condition:
  3. • Circuit 239 (PNK)
    • The solenoids
    • The A/T wiring harness assembly
    • Refer to General Electrical Diagnosis in Wiring Systems.
  4. Repair the circuit, the solenoids, and the harness if necessary.
  5. Refer to Wiring Repairs in Wiring Systems.

Did you find a short to ground condition?

--

Go to Step 16

Go to Step 5

4

Using the transmission output control function on the scan tool, command the 1-2 SS valve ON and OFF three times while listening to the bottom of the transmission pan (a stethoscope may be necessary).

Did the solenoid click when commanded?

--

Go to Diagnostic Aids

Go to Step 5

5

  1. Turn the ignition OFF.
  2. Disconnect the transmission 20-way connector (additional DTCs may set).
  3. Install the J 39775 jumper harness on the engine side of the 20-way connector.
  4. With the engine OFF, turn the ignition switch to the RUN position.
  5. Connect a test lamp from J 39775 jumper harness cavity E to ground.
  6. Refer to Automatic Transmission Inline Harness Connector End View .

Is the test lamp ON?

--

Go to Step 7

Go to Step 6

6

Important: The condition that affects this circuit may exist in other connecting branches of the circuit. Refer to Power Distribution Schematics in Wiring Systems for complete circuit distribution.

Repair the open or short to ground in ignition feed circuit 239 (PNK) to the 1-2 SS valve.

Refer to Wiring Repairs in Wiring Systems.

Is the repair complete?

--

Go to Step 16

--

7

  1. Install a test lamp from J 39775 jumper harness cavity E to cavity A.
  2. Using the transmission output control function on the scan tool, command the 1-2 SS valve ON and OFF three times.

Is the test lamp ON when the 1-2 SS valve is commanded ON, and OFF when commanded OFF?

--

Go to Step 10

Go to Step 8

8

  1. Inspect circuit 1222 (LT GRN) of the engine wiring harness for an open, short to ground or short to power condition.
  2. Refer to General Electrical Diagnosis in Wiring Systems.

  3. Repair the circuit if necessary.
  4. Refer to Wiring Repairs in Wiring Systems.

Did you find an open, short to ground or short to power condition?

--

Go to Step 16

Go to Step 9

9

Replace the PCM.

Refer to Powertrain Control Module Replacement/Programming in Engine Controls.

Is the replacement complete?

--

Go to Step 16

--

10

  1. Install the J 39775 jumper harness on the transmission side of the 20-way connector.
  2. With the J 39200 digital multimeter (DMM) and the J 35616-A connector test adapter kit, measure the resistance between terminals A and E.
  3. Refer to Automatic Transmission Inline Harness Connector End View .

Is the resistance within the range indicated?

19-31 ohms

Go to Step 12

Go to Step 11

11

  1. Disconnect the A/T wiring harness assembly from the 1-2 SS valve.
  2. Measure the resistance of the 1-2 SS valve.

Is the resistance within the range indicated?

19-31 ohms

Go to Step 14

Go to Step 15

12

Using the J 39200 DMM, measure the resistance between terminal A and ground, and between terminal E and ground.

Are both readings greater than the specified value?

250 K ohms

Go to Diagnostic Aids

Go to Step 13

13

  1. Disconnect the A/T wiring harness assembly from the 1-2 SS valve.
  2. Using the J 39200 DMM, measure the resistance from the component's terminals to ground.

Are both readings greater than the specified value?

250 K ohms

Go to Step 14

Go to Step 15

14

Replace the A/T wiring harness assembly.

Refer to Torque Converter Clutch Pulse Width Modulation Solenoid, Torque Converter Clutch Solenoid, and Wiring Harness Replacement.

Is the replacement complete?

--

Go to Step 16

--

15

Replace the 1-2 SS valve.

Refer to Control and Shift Solenoids Replacement .

Is the replacement complete?

--

Go to Step 16

--

16

Perform the following procedure in order to verify the repair:

  1. Select DTC.
  2. Select Clear Info.
  3. Drive the vehicle in D4 and ensure the following conditions are met:
  4. • The PCM commands the 1-2 SS valve ON and the voltage input drops to zero.
    • The PCM commands the 1-2 SS valve OFF and the voltage input increases to B+.
    • All conditions are met for 5 seconds.
  5. Select Specific DTC.
  6. Enter DTC P0753.

Has the test run and passed?

--

System OK

Go to Step 1

DTC P0753 1-2 Shift Solenoid Circuit Electrical 3.8L


Object Number: 341157  Size: MF
Automatic Transmission Components V6 VIN K
Automatic Transmission Controls Schematics
OBD II Symbol Description Notice
Handling ESD Sensitive Parts Notice

Circuit Description

The 1-2 shift solenoid (SS) valve controls the fluid flow acting on the 1-2 and 3-4 shift valves. The 1-2 SS valve is a normally-open exhaust valve that is used with the 2-3 SS valve in order to allow four different shifting combinations. The solenoid attaches to the control valve body within the transmission. The 1-2 SS valve receives ignition voltage through circuit 239. The powertrain control module (PCM) controls the solenoid by providing the ground path on circuit 1222.

When the PCM detects a continuous open or short to ground in the 1-2 SS valve circuit or the 1-2 SS valve, then DTC P0753 sets. DTC P0753 is a type B DTC.

Conditions for Running the DTC

    • The system voltage is 9-18 volts.
    • The engine speed is greater than 450 RPM for 5 seconds.
    • The engine is not in fuel cutoff.

Conditions for Setting the DTC

DTC P0753 sets if either of the following conditions occurs for 5 seconds:

    • The PCM commands the solenoid ON and the voltage input remains high (B+).
    • The PCM commands the solenoid OFF and the voltage input remains low (0 volts).

Action Taken When the DTC Sets

    • The PCM illuminates the malfunction indicator lamp (MIL) during the second consecutive trip in which the conditions for setting the DTC are met.
    • The PCM commands D2 line pressure.
    • The PCM inhibits 3-2 downshifts if the vehicle speed is greater than 48 km/h (30 mph).
    • The PCM freezes shifts adapts from being updated.
    • The PCM stores DTC P0753 in PCM history during the second consecutive trip in which the conditions for setting the DTC are met.

Conditions for Clearing the MIL/DTC

    • The PCM turns OFF the MIL during the third consecutive trip in which the diagnostic test runs and passes.
    • A scan tool clears the DTC from PCM history.
    • The PCM clears the DTC from PCM history if the vehicle completes 40 warm-up cycles without an emission-related diagnostic fault occurring.
    • The PCM cancels the DTC default actions when the fault no longer exists and the ignition switch is OFF long enough in order to power down the PCM.

Diagnostic Aids

    • Inspect the wiring at the PCM, the transmission connector and all other circuit connecting points for the following conditions:
       - A backed out terminal
       - A damaged terminal
       - Reduced terminal tension
       - A chafed wire
       - A broken wire inside the insulation
       - Moisture intrusion
       - Corrosion
    • When diagnosing for an intermittent short or open condition, massage the wiring harness while watching the test equipment for a change.
    • An open ignition feed circuit can cause multiple DTCs to set.
    • Refer to the Shift Solenoid Valve State and Gear Ratio table.

Test Description

The numbers below refer to the step numbers on the diagnostic table.

  1. This step tests the function of the 1-2 SS valve and the automatic transmission (A/T) wiring harness assembly.

  2. This step tests for power to the 1-2 SS valve from the ignition through the fuse.

  3. This step tests the ability of the PCM and the wiring to control the ground circuit.

  4. This step measures the resistance of the A/T wiring harness assembly and the 1-2 SS valve.

DTC P0753 1-2 SS Circuit Electrical (3.8L, VIN K)

Step

Action

Value(s)

Yes

No

1

Was the Powertrain On-Board Diagnostic (OBD) System Check performed?

--

Go to Step 2

Go to Powertrain On Board Diagnostic (OBD) System Check in Engine Controls

2

  1. Install the Scan Tool .
  2. With the engine OFF, turn the ignition switch to the RUN position.
  3. Important: Before clearing the DTC, use the scan tool in order to record the Freeze Frame and Failure Records. Using the Clear Info function erases the Freeze Frame and Failure Records from the PCM.

  4. Record the DTC Freeze Frame and Failure Records.
  5. Clear the DTC.

Are any of the following DTCs also set?

    • P0740
    • P0758
    • P0785
    • P1860

--

Go to Step 3

Go to Step 4

3

  1. Inspect the ENG CTRL fuse.
  2. If the fuse is open, inspect the following components for a short to ground condition:
  3. • Circuit 239 (PNK)
    • The solenoids
    • The A/T wiring harness assembly
    • Refer to General Electrical Diagnosis in Wiring Systems.
  4. Repair the circuit, the solenoids and the harness if necessary.
  5. Refer to Wiring Repairs in Wiring Systems.

Did you find a short to ground condition?

--

Go to Step 16

Go to Step 5

4

Using the transmission output control function on the scan tool, command the 1-2 SS valve ON and OFF three times while listening to the bottom of the transmission pan (a stethoscope may be necessary).

Did the solenoid click when commanded?

--

Go to Diagnostic Aids

Go to Step 5

5

  1. Turn the ignition OFF.
  2. Disconnect the transmission 20-way connector (additional DTCs may set).
  3. Install the J 39775 jumper harness on the engine side of the 20-way connector.
  4. With the engine OFF, turn the ignition switch to the RUN position.
  5. Connect a test lamp from J 39775 jumper harness cavity E to ground.
  6. Refer to Automatic Transmission Inline Harness Connector End View .

Is the test lamp ON?

--

Go to Step 7

Go to Step 6

6

Important: The condition that affects this circuit may exist in other connecting branches of the circuit. Refer to Power Distribution Schematics in Wiring Systems for complete circuit distribution.

Repair the open or short to ground in ignition feed circuit 239 (PNK) to the 1-2 SS valve.

Refer to Wiring Repairs in Wiring Systems.

Is the repair complete?

--

Go to Step 16

--

7

  1. Install a test lamp from J 39775 jumper harness cavity E to cavity A.
  2. Using the transmission output control function on the scan tool, command the 1-2 SS valve ON, and OFF three times.

Is the test lamp ON when the 1-2 SS valve is commanded ON, and OFF when commanded OFF?

--

Go to Step 10

Go to Step 8

8

  1. Inspect circuit 1222 (LT GRN) of the engine wiring harness for an open, short to ground or short to power condition.
  2. Refer to General Electrical Diagnosis in Wiring Systems.

  3. Repair the circuit if necessary.
  4. Refer to Wiring Repairs in Wiring Systems.

Did you find an open, short to ground or short to power condition?

--

Go to Step 16

Go to Step 9

9

Replace the PCM.

Refer to Powertrain Control Module Replacement/Programming in Engine Controls.

Is the replacement complete?

--

Go to Step 16

--

10

  1. Install the J 39775 jumper harness on the transmission side of the 20-way connector.
  2. With the J 39200 digital multimeter (DMM) and the J 35616-A connector test adapter kit, measure the resistance between terminals A and E.
  3. Refer to Automatic Transmission Inline Harness Connector End View .

Is the resistance within the range indicated?

19-31 ohms

Go to Step 12

Go to Step 11

11

  1. Disconnect the A/T wiring harness assembly from the 1-2 SS valve.
  2. Measure the resistance of the 1-2 SS valve.

Is the resistance within the range indicated?

19-31 ohms

Go to Step 14

Go to Step 15

12

Using J 39200 DMM, measure the resistance between terminal A and ground, and between terminal E and ground.

Are both readings greater than the specified value?

250 K ohms

Go to Diagnostic Aids

Go to Step 13

13

  1. Disconnect the A/T wiring harness assembly from the 1-2 SS valve.
  2. Using the J 39200 DMM, measure the resistance from the component's terminals to ground.

Are both readings greater than the specified value?

250 K ohms

Go to Step 14

Go to Step 15

14

Replace the A/T wiring harness assembly.

Refer to Torque Converter Clutch Pulse Width Modulation Solenoid, Torque Converter Clutch Solenoid, and Wiring Harness Replacement.

Is the replacement complete?

--

Go to Step 16

--

15

Replace the 1-2 SS valve.

Refer to Control and Shift Solenoids Replacement .

Is the replacement complete?

--

Go to Step 16

--

16

Perform the following procedure in order to verify the repair:

  1. Select DTC.
  2. Select Clear Info.
  3. Drive the vehicle in D4 range and ensure that the following conditions are met:
  4. • The PCM commands the 1-2 SS valve ON and the voltage input drops to zero.
    • The PCM commands the 1-2 SS valve OFF and the voltage input increases to B+.
    • All conditions are met for 5 seconds.
  5. Select Specific DTC.
  6. Enter DTC P0753.

Has the test run and passed?

--

System OK

Go to Step 1