GM Service Manual Online
For 1990-2009 cars only
Makes
🢒
Chevrolet
🢒
2000
🢒
Camaro
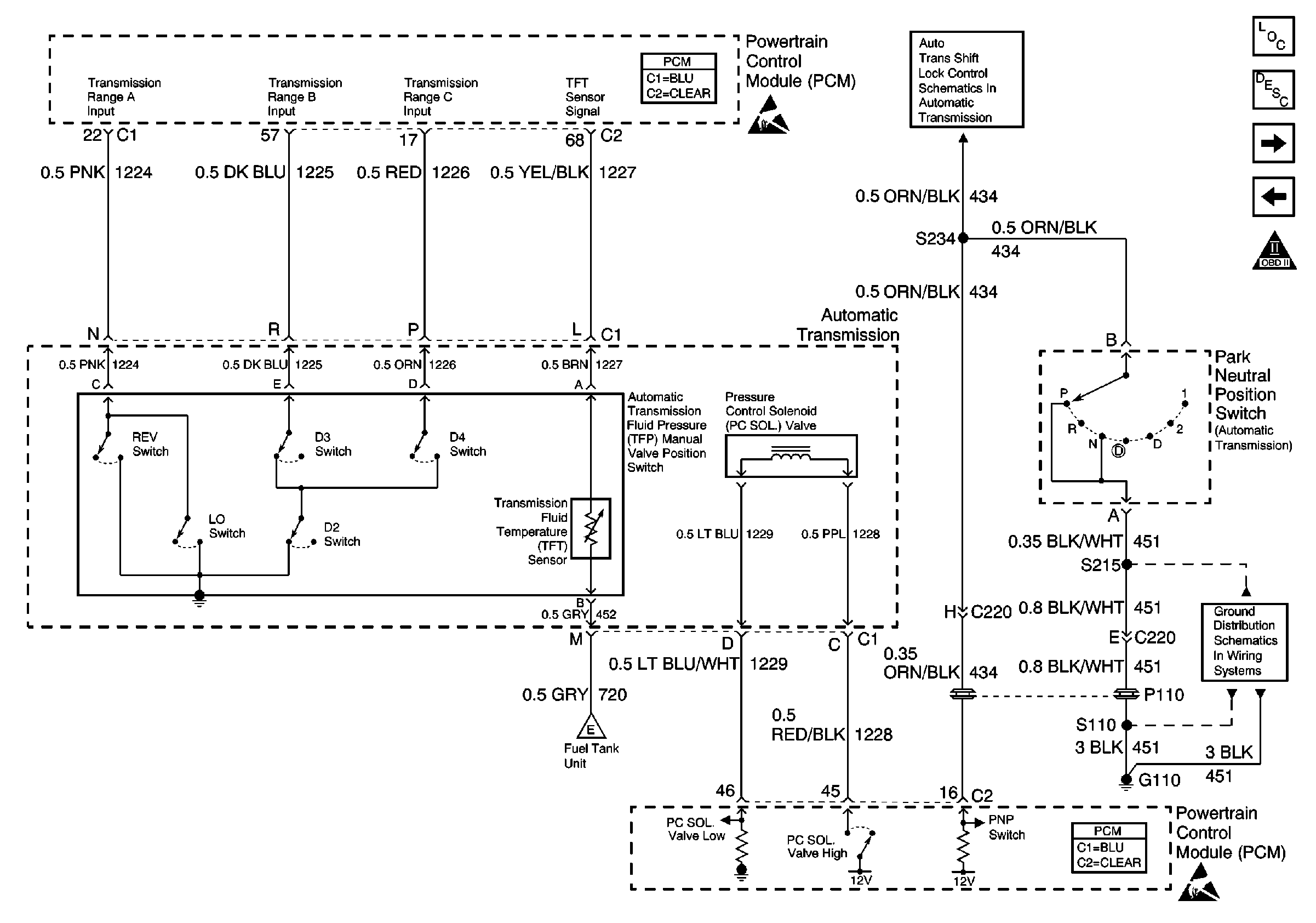
🢒 Automatic Transmission, Park Neutral Position Switch
Automatic Transmission, Park Neutral Position Switch
Automatic Transmission, Park Neutral Position Switch
Engine Controls Components
Information Sensors/Switches Description
A/C HVAC Control
Automatic Transmission, Brake Switch
OBD II Symbol Description Notice
G110 V6 VIN K
Handling ESD Sensitive Parts Notice
Powertrain Control Module Connector End Views
AT Shift Lock Control Actuator Solenoid, and Diode
Handling ESD Sensitive Parts Notice
Powertrain Control Module Connector End Views
Fuel Pump Controls