GM Service Manual Online
For 1990-2009 cars only

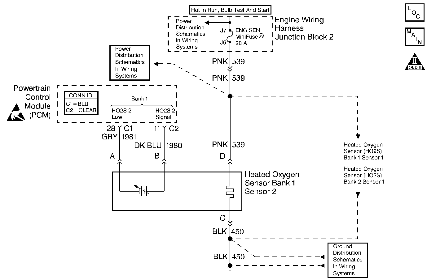
Object Number: 548539  Size: MF
Engine Controls Components
Engine Controls Schematics
OBD II Symbol Description Notice
Handling ESD Sensitive Parts Notice

Circuit Description

To control emissions of Hydrocarbons (HC), Carbon Monoxide (CO), and Oxides of Nitrogen (NOx), a three-way catalytic converter is used. The catalyst within the converter promotes a chemical reaction which oxidizes the HC and CO present in the exhaust gas, converting them into harmless water vapor and carbon dioxide. The catalyst also reduces NOx, converting it to nitrogen. The PCM has the ability to monitor this process using the post-catalyst HO2S. This sensor produces an output signal which indicates the oxygen storage capacity of the catalyst; this in turn indicates the catalysts ability to convert exhaust gases efficiently. If the post HO2S voltage remains excessively high for an extended period of time, this DTC will set.

Conditions for Running the DTC

    • No Misfire, CKP, Fuel injector, MAF, TP, EVAP, IAT, MAP, Fuel trim, EGR or ECT DTCs are set.
    • Closed loop with commanded Air/Fuel ratio between 14.5 and 14.8.
    • The throttle position is between 5 percent and 40 percent.

Conditions for Setting the DTC

Post HO2S signal voltage remains more than 999 mV during normal closed loop operation.

OR

Post HO2S signal voltage remains more than 200 mV during deceleration fuel mode operation.

Action Taken When the DTC Sets

    • The PCM will illuminate the malfunction indicator lamp (MIL) during the second consecutive trip in which the diagnostic test has been run and failed.
    • The PCM will store conditions which were present when the DTC set as Freeze Frame/Failure Records data.

Conditions for Clearing the MIL/DTC

    • The PCM will turn OFF the malfunction indicator lamp (MIL) during the third consecutive trip in which the diagnostic has run and passed.
    • The history DTC will clear after 40 consecutive warm-up cycles have occurred without a malfunction.
    • The DTC can be cleared by using a scan tool.

Diagnostic Aids

Inspect for the following:

    • Fuel pressure high - An excessively rich fuel mixture can cause this DTC to set. Refer to Fuel System Pressure Test .
    • Fuel injectors faulty - Refer to Fuel Injector Balance Test .
    • Inspect the EVAP Canister for Fuel Saturation. If the EVAP Canister is full of fuel, inspect canister control and hoses. Refer to Evaporative Emission Control System Diagnosis .
    • Disconnect the MAF sensor and see if the rich condition is corrected. If so, replace the MAF sensor. Refer to Mass Airflow Sensor Replacement
    • Inspect for a leaking fuel pressure regulator diaphragm by inspecting the vacuum line to the fuel pressure regulator for the presence of fuel.
    • An intermittent TP sensor output will cause the system to go rich, due to a false indication of the engine accelerating.
    • Shorted HO2S - If the HO2S is internally shorted the HO2S voltage displayed on the scan tool will be over 1 volt. Try disconnecting the affected HO2S and jumper the HO2S low circuit to ground with the key ON. If the displayed HO2S voltage changes from over 1000mV to around 450mV, replace the HO2S. Silicon contamination of the HO2S can also cause a high HO2S voltage to be indicated. This condition is indicated by a powdery white deposit on the portion of the HO2S exposed to the exhaust stream. If contamination is evident, replace the affected HO2S. Refer to Heated Oxygen Sensor Replacement .
    • Open HO2S Signal or Low Circuit or Faulty HO2S - A poor connection or open in the HO2S signal or low circuit can cause the DTC to set during deceleration fuel mode. An HO2S which is faulty and not allowing a full voltage swing between the rich and lean thresholds can also cause this condition. Operate the vehicle while monitoring the HO2S voltage with a scan tool. If the HO2S voltage is limited within a range between 300mV to 600mV, inspect the HO2S signal and low circuit wiring and associated terminal connections. If the wiring and connections are OK, replace the HO2S. Refer to Heated Oxygen Sensor Replacement

Many situations may lead to an intermittent condition. Perform each inspection or test as directed.

Important: :  Remove any debris from the connector surfaces before servicing a component. Inspect the connector gaskets when diagnosing or replacing a component. Ensure that the gaskets are installed correctly. The gaskets prevent contaminate intrusion.

    • Loose terminal connection
       -  Use a corresponding mating terminal to test for proper tension. Refer to Testing for Intermittent Conditions and Poor Connections , and to Connector Repairs in Wiring Systems for diagnosis and repair.
       -  Inspect the harness connectors for backed out terminals, improper mating, broken locks, improperly formed or damaged terminals, and faulty terminal to wire connection. Refer to Testing for Intermittent Conditions and Poor Connections , and to Connector Repairs in Wiring Systems for diagnosis and repair.
    • Damaged harness--Inspect the wiring harness for damage. If the harness inspection does not reveal a problem, observe the display on the scan tool while moving connectors and wiring harnesses related to the sensor. A change in the scan tool display may indicate the location of the fault. Refer to Wiring Repairs in Wiring Systems for diagnosis and repair.
    •  Inspect the powertrain control module (PCM) and the engine grounds for clean and secure connections. Refer to Wiring Repairs in Wiring Systems for diagnosis and repair.

If the condition is determined to be intermittent, reviewing the Snapshot or Freeze Frame/Failure Records may be useful in determining when the DTC or condition was identified.

Test Description

The numbers below refer to the step numbers on the diagnostic table:

  1. This DTC setting during deceleration fuel mode operation may indicate a condition described in the Diagnostic Aids above. If this DTC test passes while the Fail Records conditions are being duplicated, an intermittent condition is indicated. Review the Fail Records vehicle mileage since the diagnostic test last failed. This may help determine how often the condition that caused the DTC to be set occurs.

  2. This vehicle is equipped with a PCM which utilizes an Electrically Erasable Programmable Read Only Memory (EEPROM). When the PCM is replaced, the new PCM must be programmed.

Post HO2S High Voltage

Step

Action

Values

Yes

No

1

Did you perform the Powertrain On-Board Diagnostic (OBD) System Check?

--

Go to Step 2

Go to Powertrain On Board Diagnostic (OBD) System Check

2

Important: During this step, observe the pre-catalyst HO2S voltage parameters. If the pre-catalyst parameters remain above 600mV, refer to Diagnostic Aids.

  1. Operate the vehicle within the Conditions for Setting parameters.
  2. With a scan tool, observe the HO2S voltage parameter.

Does the HO2S voltage remain more than the specified value?

999 mV

Go to Step 4

Go to Step 3

3

Operate vehicle within Fail Records conditions.

Does the scan tool indicate this DTC failed this ignition?

--

Go to Step 4

Go to Diagnostic Aids

4

  1. Disconnect the HO2S.
  2. Jumper low circuit to a good ground.

Does scan tool indicate HO2S voltage near the specified value?

450 mV

Go to Diagnostic Aids

Go to Step 5

5

  1. Turn OFF the ignition.
  2. Disconnect the PCM.
  3. Turn ON the ignition.
  4. Measure the voltage of the HO2S signal circuit at the PCM harness connector using a DMM that is connected to a good ground.

Does the voltage measure more than the specified value?

500 mV

Go to Step 6

Go to Step 7

6

Repair short to voltage in the HO2S signal circuit. Refer to Wiring Repairs in Wiring Systems.

Did you complete the repair?

--

Go to Step 8

--

7

Important: The replacement PCM must be programmed.

Replace the PCM.

Refer to Powertrain Control Module Replacement/Programming

Did you complete the replacement?

--

Go to Step 8

--

8

  1. Use the scan tool in order to clear DTCs.
  2. Operate the vehicle within the Fail Record conditions.

Does the DTC reset?

--

Go to Step 2

System OK