GM Service Manual Online
For 1990-2009 cars only
Figure 1:

Power and Ground


Object Number: 499303  Size: FS
Engine Controls Components
Powertrain Control Module Controlled Warning Lamps Description
Ignition Relay
OBD II Symbol Description Notice
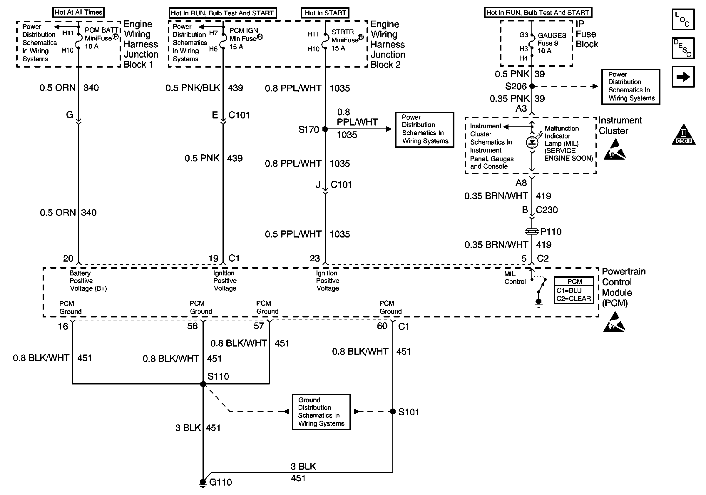
AIR BAG and GAUGES Fuses
Handling ESD Sensitive Parts Notice
Handling ESD Sensitive Parts Notice
Instrument Cluster Indicators
ABS IGN, PCM IGN, and STRTR Fuses
G110 V6 VIN K
ABS IGN, PCM IGN, and STRTR Fuses
AIR PUMP, FUEL PUMP and PCM BAT Fuses
Powertrain Control Module Connector End Views
Figure 2:

Ignition Relay


Object Number: 1869012  Size: FS
Engine Controls Components
Powertrain Control Module Controlled Generator Description
Class 2 Serial Data Line
Power and Ground
Fusible Links, CIG/ACCY, ENG CTRL, IGN, I/P-1, I/P-2, and PWR ACCY Fuses
Ignition Switch
Ignition Switch
Ignition Switch
G105
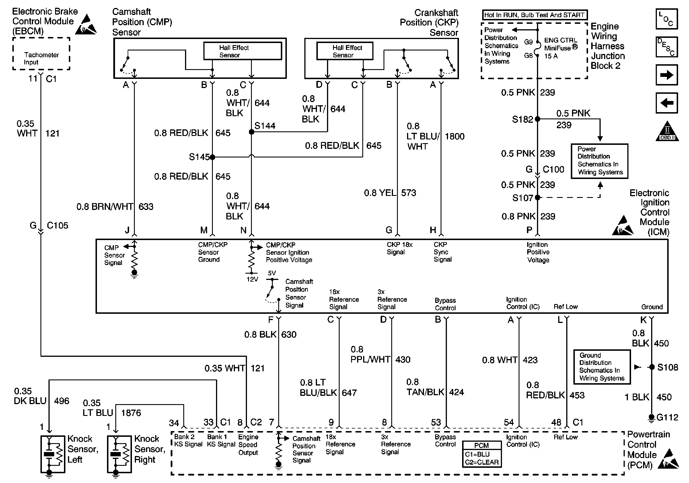
Figure 3:

Class 2 Serial Data


Object Number: 499304  Size: FS
Engine Controls Components
Ignition Controls, Knock Sensors
Ignition Relay
OBD II Symbol Description Notice
Handling ESD Sensitive Parts Notice
Powertrain Control Module Connector End Views
Class 2 Serial Data Line
Fusible Links, CIG/ACCY, ENG CTRL, IGN, I/P-1, I/P-2, and PWR ACCY Fuses
Fusible Links, CIG/ACCY, ENG CTRL, IGN, I/P-1, I/P-2, and PWR ACCY Fuses
G110 V6 VIN K
G200 Splice S216
Figure 4:

Ignition Controls, Knock Sensors


Object Number: 499305  Size: FS
Engine Controls Components
Fuel Pump Controls
Class 2 Serial Data Line
OBD II Symbol Description Notice
Handling ESD Sensitive Parts Notice
ENG CTRL Fuse
ENG CTRL Fuse
G112 V6 VIN K
Powertrain Control Module Connector End Views
Handling ESD Sensitive Parts Notice
Electronic Ignition (EI) System Description
Figure 5:

Fuel Pump Controls


Object Number: 499306  Size: FS
Engine Controls Components
Fuel Injectors
Ignition Controls, Knock Sensors
OBD II Symbol Description Notice
TAC Module, TAC
Handling ESD Sensitive Parts Notice
Handling ESD Sensitive Parts Notice
A/C HVAC Control
Powertrain Control Module Connector End Views
Automatic Transmission, Park Neutral Position Switch
AIR PUMP, FUEL PUMP and PCM BAT Fuses
A/C HVAC Control
G305, G310, G320
Fuel Metering System Component Description
Figure 6:

Fuel Injectors


Object Number: 499307  Size: FS
Engine Controls Components
MAP, ECT, IAT Sensors
Fuel Pump Controls
OBD II Symbol Description Notice
Handling ESD Sensitive Parts Notice
Powertrain Control Module Connector End Views
INJ 1 Fuse
Information Sensors/Switches Description
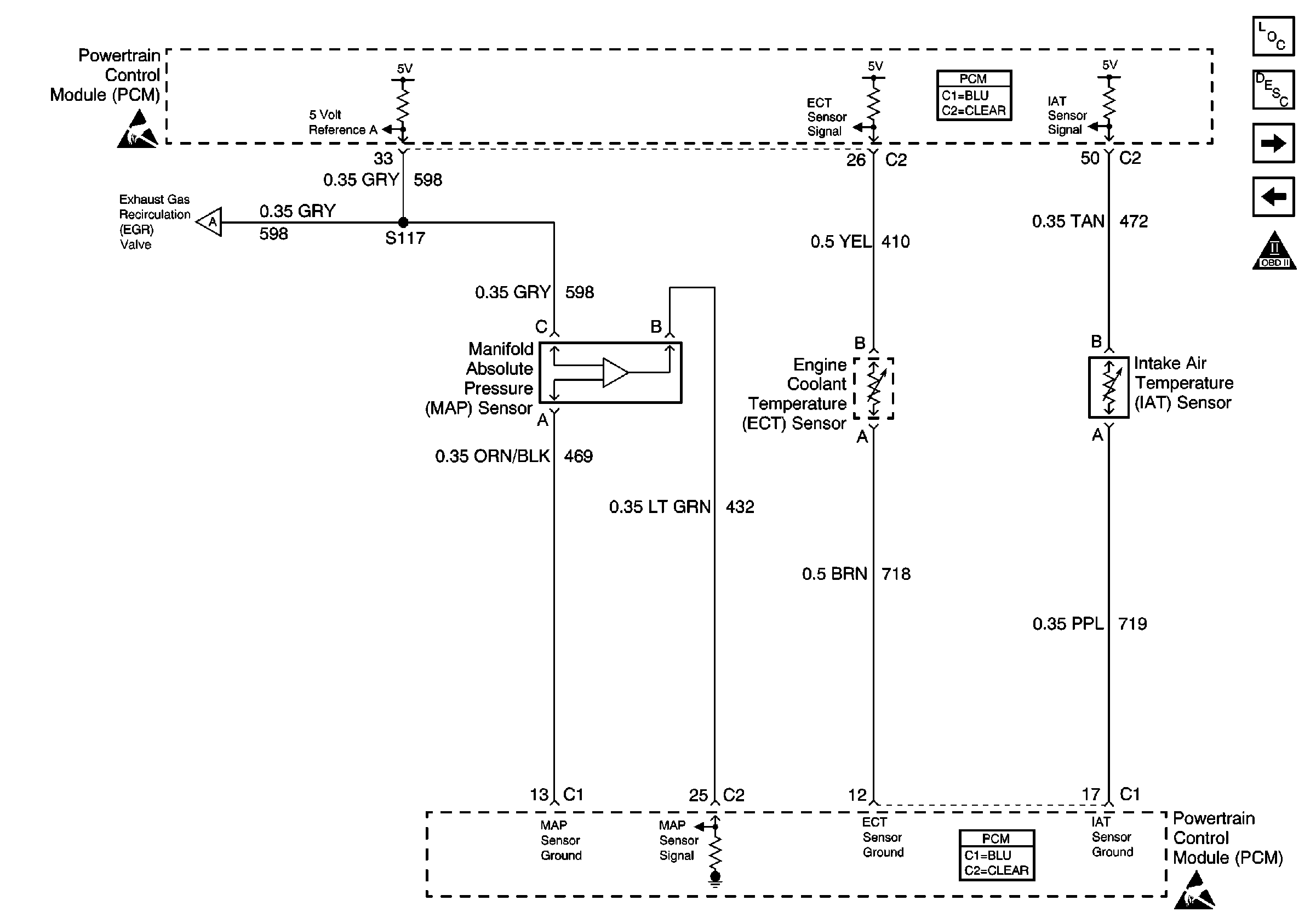
Figure 7:

MAP, ECT, IAT Sensors


Object Number: 499308  Size: FS
Engine Controls Components
Heated Oxygen Sensors
Fuel Injectors
OBD II Symbol Description Notice
Handling ESD Sensitive Parts Notice
Powertrain Control Module Connector End Views
Powertrain Control Module Connector End Views
MAF Sensor, EVAP System, EGR Valve
Handling ESD Sensitive Parts Notice
Information Sensors/Switches Description
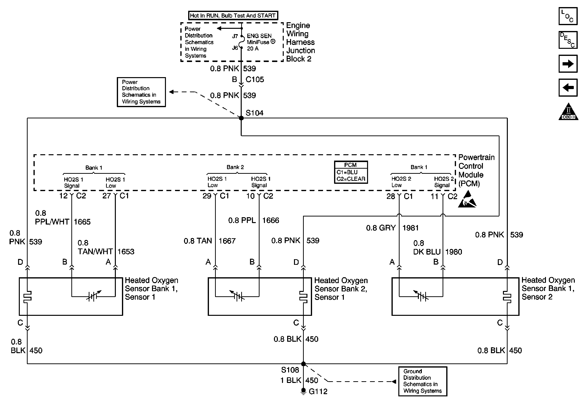
Figure 8:

Heated Oxygen Sensors


Object Number: 499309  Size: FS
Engine Controls Components
MAF Sensor, EVAP System, EGR Valve
MAP, ECT, IAT Sensors
OBD II Symbol Description Notice
Handling ESD Sensitive Parts Notice
G112 V6 VIN K
Powertrain Control Module Connector End Views
ENG SEN Fuse
ENG SEN Fuse
Information Sensors/Switches Description
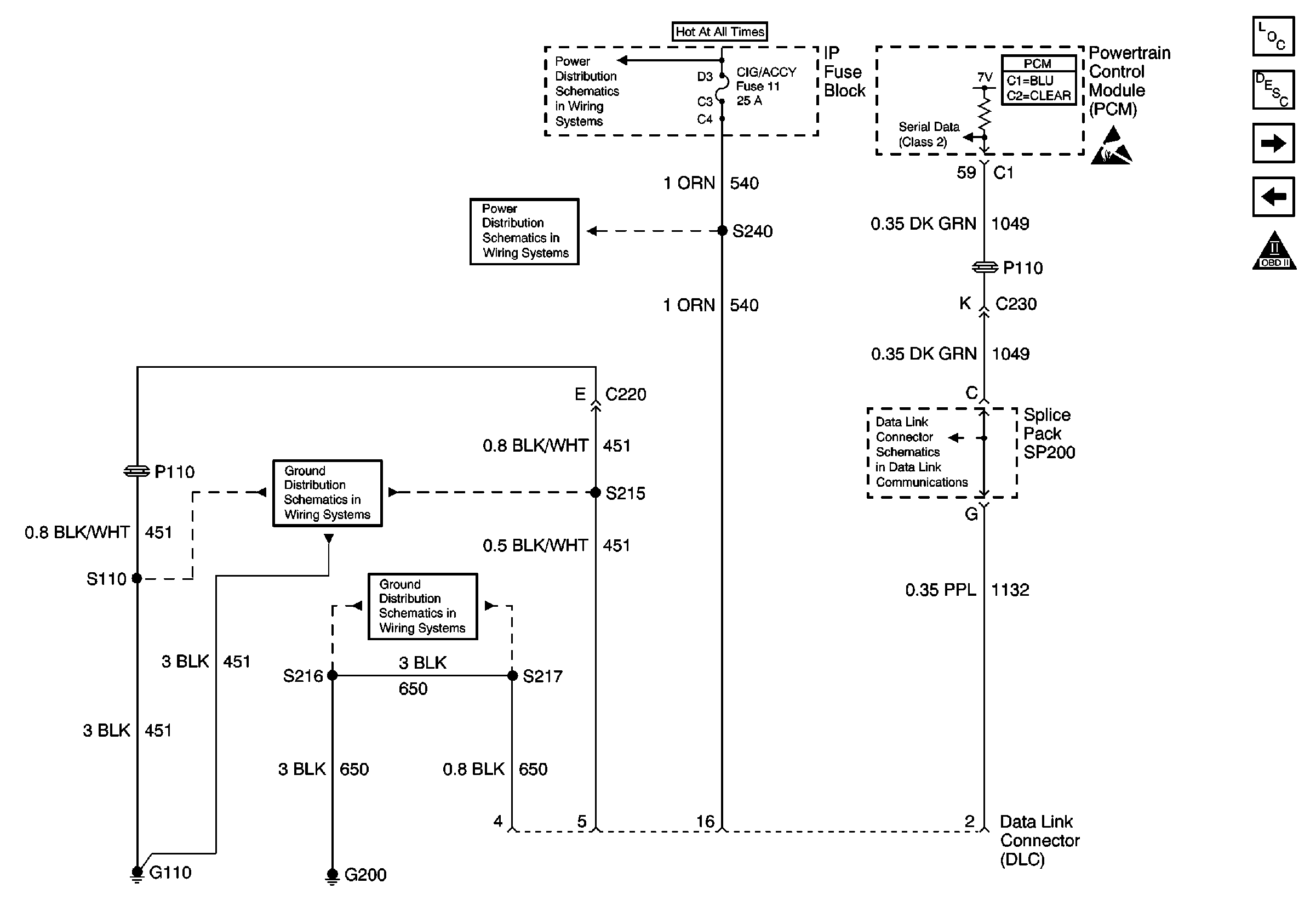
Figure 9:

MAF Sensor, EVAP System, EGR Valve


Object Number: 499312  Size: FS
Engine Controls Components
Information Sensors/Switches Description
VSS, Cruise, Generator, Engine Oil Level
Heated Oxygen Sensors
OBD II Symbol Description Notice
Powertrain Control Module Connector End Views
Handling ESD Sensitive Parts Notice
Powertrain Control Module Connector End Views
MAP, ECT, IAT Sensors
ENG CTRL Fuse
ENG CTRL Fuse
ENG SEN Fuse
ENG SEN Fuse
G110 V6 VIN K
Handling ESD Sensitive Parts Notice
Figure 10:

VSS, Cruise, Generator, Engine Oil Level


Object Number: 499313  Size: FS
Engine Controls Components
Information Sensors/Switches Description
TAC Module, Brake Switch, Cruise
MAF Sensor, EVAP System, EGR Valve
OBD II Symbol Description Notice
G110 V6 VIN K
Handling ESD Sensitive Parts Notice
Powertrain Control Module Connector End Views
Handling ESD Sensitive Parts Notice
Handling ESD Sensitive Parts Notice
Powertrain Control Module Connector End Views
Figure 11:

TAC Module, Brake Switch, Cruise


Object Number: 499314  Size: FS
Engine Controls Components
TAC Module, TAC
VSS, Cruise, Generator, Engine Oil Level
OBD II Symbol Description Notice
Handling ESD Sensitive Parts Notice
Chevrolet: Center High Mounted Stop Lamp
ABS BAT SOL, ABS BAT-2, HORN, H/L DOOR-HORN, LH HDLP DR, RH HDLP DR, and TCS BAT Fuses
A/C CRUISE and ETC Fuses
A/C HVAC Control
Handling ESD Sensitive Parts Notice
Powertrain Control Module Connector End Views
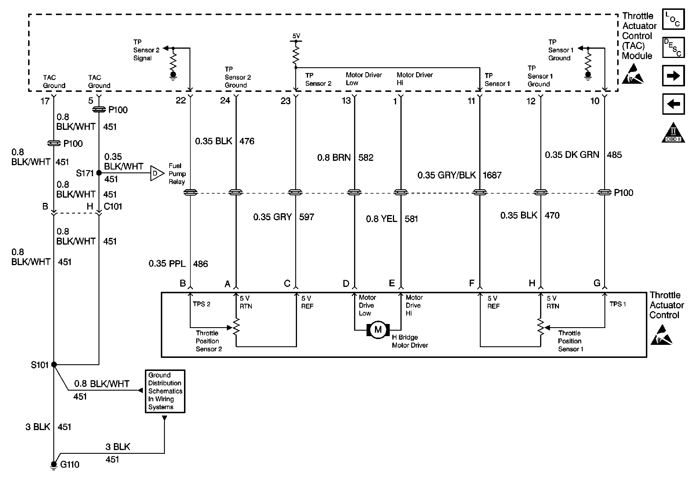
Figure 12:

TAC Module, TAC


Object Number: 499316  Size: FS
Engine Controls Components
Throttle Actuator Control (TAC) System Description
Second Gear Start, Cruise Control Switches
TAC Module, Brake Switch, Cruise
OBD II Symbol Description Notice
Handling ESD Sensitive Parts Notice
Handling ESD Sensitive Parts Notice
Fuel Pump Controls
G110 V6 VIN K
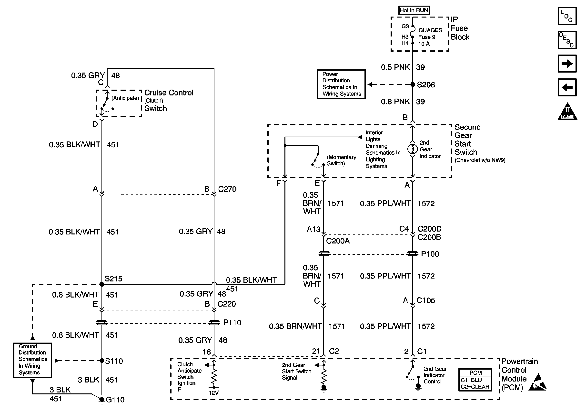
Figure 13:

Second Gear Start, Cruise Control Switches


Object Number: 499318  Size: FS
Engine Controls Components
Information Sensors/Switches Description
Automatic Transmission, Brake Switch
TAC Module, TAC
OBD II Symbol Description Notice
Handling ESD Sensitive Parts Notice
AIR BAG and GAUGES Fuses
G110 V6 VIN K
Powertrain Control Module Connector End Views
Figure 14:

Automatic Transmission, Brake Switch


Object Number: 499319  Size: FS
Engine Controls Components
Information Sensors/Switches Description
Automatic Transmission, Park Neutral Position Switch
Second Gear Start, Cruise Control Switches
OBD II Symbol Description Notice
ENG CTRL Fuse
Powertrain Control Module Connector End Views
ENG CTRL Fuse
ENG SEN Fuse
ENG SEN Fuse
Handling ESD Sensitive Parts Notice
Figure 15:

Automatic Transmission, Park Neutral Position Switch


Object Number: 499321  Size: FS
Engine Controls Components
Information Sensors/Switches Description
A/C HVAC Control
Automatic Transmission, Brake Switch
OBD II Symbol Description Notice
G110 V6 VIN K
Handling ESD Sensitive Parts Notice
Powertrain Control Module Connector End Views
AT Shift Lock Control Actuator Solenoid, and Diode
Handling ESD Sensitive Parts Notice
Powertrain Control Module Connector End Views
Fuel Pump Controls
Figure 16:

A/C HVAC Control


Object Number: 499323  Size: FS
Engine Controls Components
Engine Cooling Fans
Automatic Transmission, Park Neutral Position Switch
OBD II Symbol Description Notice
Handling ESD Sensitive Parts Notice
HVAC and TURN B/U Fuses
HVAC and TURN B/U Fuses
Fuel Pump Controls
Fuel Pump Controls
G112 V6 VIN K
A/C CRUISE and ETC Fuses
TAC Module, Brake Switch, Cruise
Powertrain Control Module Connector End Views
Powertrain Control Module Controlled Air Conditioning Description
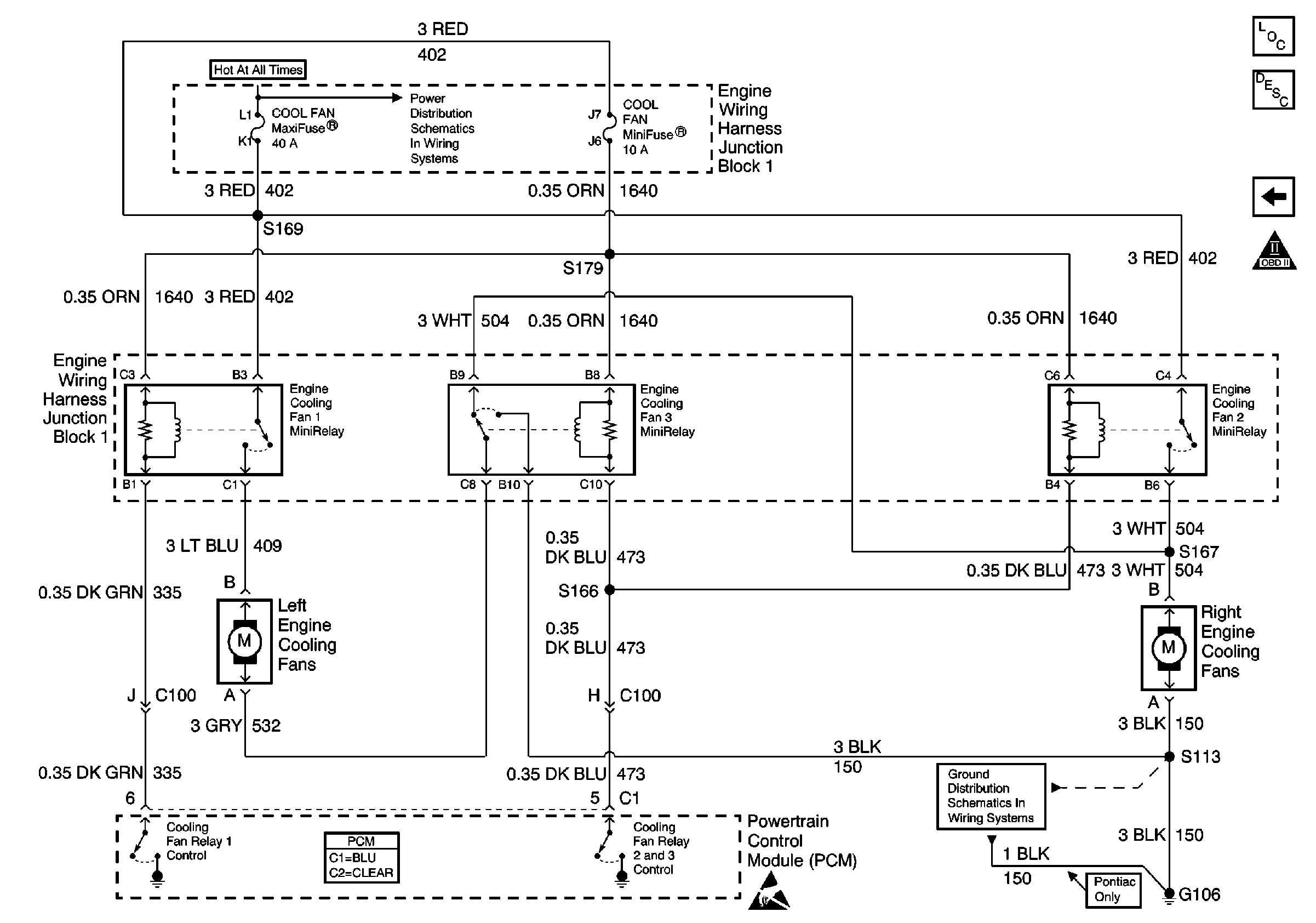
Figure 17:

Engine Cooling Fans


Object Number: 499325  Size: FS
Engine Controls Components
A/C HVAC Control
OBD II Symbol Description Notice
G106
Handling ESD Sensitive Parts Notice
Battery, ABS BAT-1 and COOL FAN Fuses
Powertrain Control Module Connector End Views
Engine Cooling Fan Description - Electric