GM Service Manual Online
For 1990-2009 cars only

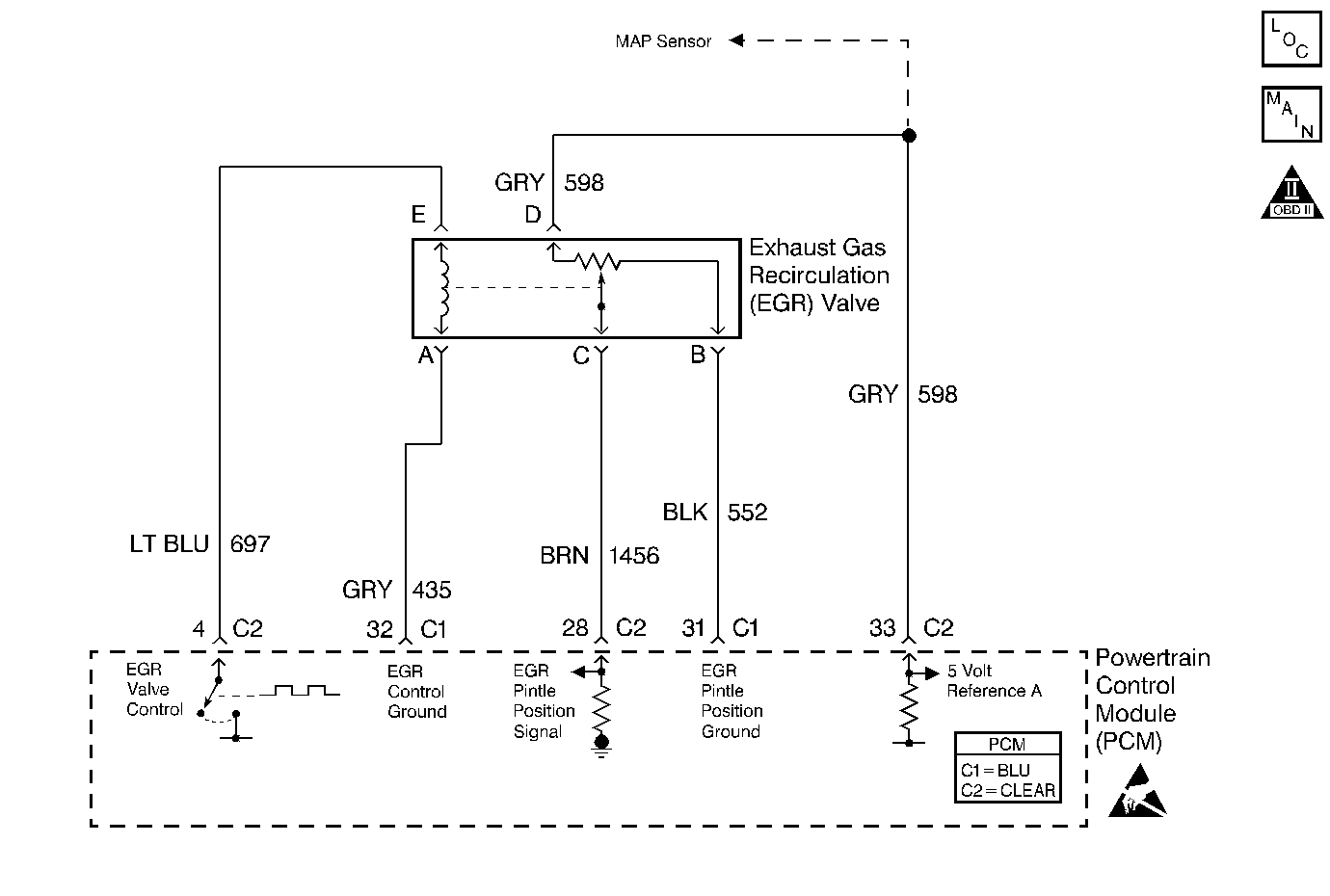
Object Number: 480730  Size: MF
Engine Controls Components
Engine Controls Schematics
OBD II Symbol Description Notice
Handling ESD Sensitive Parts Notice

Circuit Description

The PCM monitors the EGR valve pintle position input to ensure that the valve responds properly to commands from the PCM and to detect a fault if the pintle position sensor circuit is open or shorted. If the PCM detects an excessively low EGR Feedback signal voltage, DTC P0405 will set.

Conditions for Running the DTC

System voltage is more than 10 volts.

Conditions for Setting the DTC

    • EGR Feedback is less than 0.14 volts at any time.
    • The condition is present for longer than 20 seconds.

Action Taken When the DTC Sets

    • The PCM will illuminate the malfunction indicator lamp (MIL) during the second consecutive trip in which the diagnostic test has been run and failed.
    • The PCM will store conditions which were present when the DTC set as Freeze Frame/Failure Records data.

Conditions for Clearing the MIL/DTC

    • The PCM will turn OFF the malfunction indicator lamp (MIL) during the third consecutive trip in which the diagnostic has run and passed.
    • The history DTC will clear after 40 consecutive warm-up cycles have occurred without a malfunction.
    • The DTC can be cleared by using a scan tool.

Diagnostic Aids

Inspect for the following:

A EGR valve icing or over temperature condition could have caused this DTC to set.

Many situations may lead to an intermittent condition. Perform each inspection or test as directed.

Important: :  Remove any debris from the connector surfaces before servicing a component. Inspect the connector gaskets when diagnosing or replacing a component. Ensure that the gaskets are installed correctly. The gaskets prevent contaminate intrusion.

    • Loose terminal connection
       -  Use a corresponding mating terminal to test for proper tension. Refer to Testing for Intermittent Conditions and Poor Connections , and to Connector Repairs in Wiring Systems for diagnosis and repair.
       -  Inspect the harness connectors for backed out terminals, improper mating, broken locks, improperly formed or damaged terminals, and faulty terminal to wire connection. Refer to Testing for Intermittent Conditions and Poor Connections , and to Connector Repairs in Wiring Systems for diagnosis and repair.
    • Damaged harness--Inspect the wiring harness for damage. If the harness inspection does not reveal a problem, observe the display on the scan tool while moving connectors and wiring harnesses related to the sensor. A change in the scan tool display may indicate the location of the fault. Refer to Wiring Repairs in Wiring Systems for diagnosis and repair.
    •  Inspect the powertrain control module (PCM) and the engine grounds for clean and secure connections. Refer to Wiring Repairs in Wiring Systems for diagnosis and repair.

If the condition is determined to be intermittent, reviewing the Snapshot or Freeze Frame/Failure Records may be useful in determining when the DTC or condition was identified.

Test Description

The numbers below refer to the step numbers on the diagnostic table:

  1. Verifies that the malfunction is present.

  2. If DTC P0405 will only set under certain conditions, the malfunction may be intermittent; refer to Diagnostic Aids. If an intermittent wiring problem is not present, inspect for a poor connection at the PCM or the EGR valve.

  3. This vehicle is equipped with a PCM which utilizes an Electrically Erasable Programmable Read Only Memory (EEPROM). When the PCM is replaced, the new PCM must be programmed.

DTC P0405 - EGR Valve Pintle Position Circuit Low Voltage

Step

Action

Values

Yes

No

1

Did you perform the Powertrain On-Board Diagnostic (OBD) System Check?

--

Go to Step 2

Go to Powertrain On Board Diagnostic (OBD) System Check

2

  1. Turn ON the ignition.
  2. With a scan tool, increment the EGR valve through all positions while comparing Desired EGR position to Actual EGR position.

Does Desired EGR position remain close to Actual EGR position at all commanded positions?

--

Go to Step 3

Go to Step 4

3

Operate vehicle within Fail Records conditions.

Does the scan tool indicate this DTC failed this ignition?

--

Go to Step 4

Go to Diagnostic Aids

4

  1. Disconnect the EGR.
  2. Measure the voltage between the EGR pintle position sensor ground circuit and the 5 volt reference circuit using a DMM.

Does the voltage measure at or near the specified value?

5V

Go to Step 5

Go to Step 9

5

Probe the EGR valve pintle position signal circuit with a test lamp that is connected to B+.

Does the test lamp illuminate?

--

Go to Step 8

Go to Step 6

6

  1. Connect a jumper between the 5 volt reference circuit and the pintle position signal circuit.
  2. With a scan tool, observe the Actual EGR position parameter.

Does the scan tool indicate Actual EGR position at the specified value?

100 percent

Go to Step 13

Go to Step 7

7

Test for an open in the EGR valve pintle position signal circuit. Refer to Circuit Testing and Wiring Repairs in Wiring Systems.

Did you find and correct the condition?

--

Go to Step 19

Go to Step 17

8

  1. Turn OFF the ignition.
  2. Disconnect the PCM.
  3. Probe the EGR valve pintle position signal circuit using a test lamp that is connected to B+.

Does the test lamp illuminate?

--

Go to Step 12

Go to Step 15

9

Probe the 5 volt reference circuit using a test lamp that is connected to B+.

Does the test lamp illuminate?

--

Go to Step 10

Go to Step 11

10

  1. Turn OFF the ignition.
  2. Disconnect the PCM.
  3. Probe the 5 volt reference circuit using a test lamp that is connected to B+.

Does the test lamp illuminate?

--

Go to Step 16

Go to Step 18

11

Test for an open in the 5 volt reference circuit. Refer to Circuit Testing and Wiring Repairs in Wiring Systems.

Did you find and correct the condition?

--

Go to Step 19

Go to Step 17

12

Repair the short to ground in the EGR valve pintle position signal circuit. Refer to Wiring Repairs in Wiring Systems.

Did you complete the repair?

--

Go to Step 19

--

13

Inspect for the following conditions:

  1. Poor connections at the EGR valve.
  2. The EGR pintle position signal circuit shorted to the EGR valve control circuit.
  3. If a problem is found, repair as necessary. Refer to Wiring Repairs or Testing for Intermittent Conditions and Poor Connections and Connector Repairs in Wiring Systems.

Did you find and correct the condition?

--

Go to Step 19

Go to Step 14

14

Important: If the EGR valve shows signs of excessive heat, check the exhaust system for blockage (possibly a plugged converter) using the procedure found in the Restricted Exhaust System Check . If the exhaust system is restricted, repair the cause; one of which might be an injector which is open due to one of the following reasons:

   • Stuck
   • Grounded driver circuit
   • Possible faulty control module
If this condition is found, the oil should be checked for possible fuel contamination.

Replace the EGR valve. Refer to Exhaust Gas Recirculation Valve Replacement .

Did you complete the repair?

--

Go to Step 19

--

15

Test the EGR valve pintle position signal circuit for a short to the sensor ground circuit. Refer to Circuit Testing and Wiring Repairs in Wiring Systems.

Did you find and correct the condition?

--

Go to Step 19

Go to Step 18

16

Repair short to ground in the 5 volt reference circuit. Refer to Wiring Repairs in Wiring Systems.

Did you complete the repair?

--

Go to Step 19

--

17

Inspect the circuits related to the EGR valve for a poor connection at the PCM. Refer to Testing for Intermittent Conditions and Poor Connections and Connector Repairs in Wiring Systems.

Did you find and correct the condition?

--

Go to Step 19

Go to Step 18

18

Important: The replacement PCM must be programmed.

Replace the PCM.

Refer to Powertrain Control Module Replacement/Programming .

Did you complete the replacement?

--

Go to Step 19

--

19

  1. Use the scan tool in order to clear the DTCs.
  2. Operate the vehicle within the Fail Record conditions.

Does the DTC reset?

--

Go to Step 2

System OK