GM Service Manual Online
For 1990-2009 cars only

Object Number: 40576  Size: MF
Automatic Transmission Components
Automatic Transmission Controls Schematics
OBD II Symbol Description Notice
Handling ESD Sensitive Parts Notice

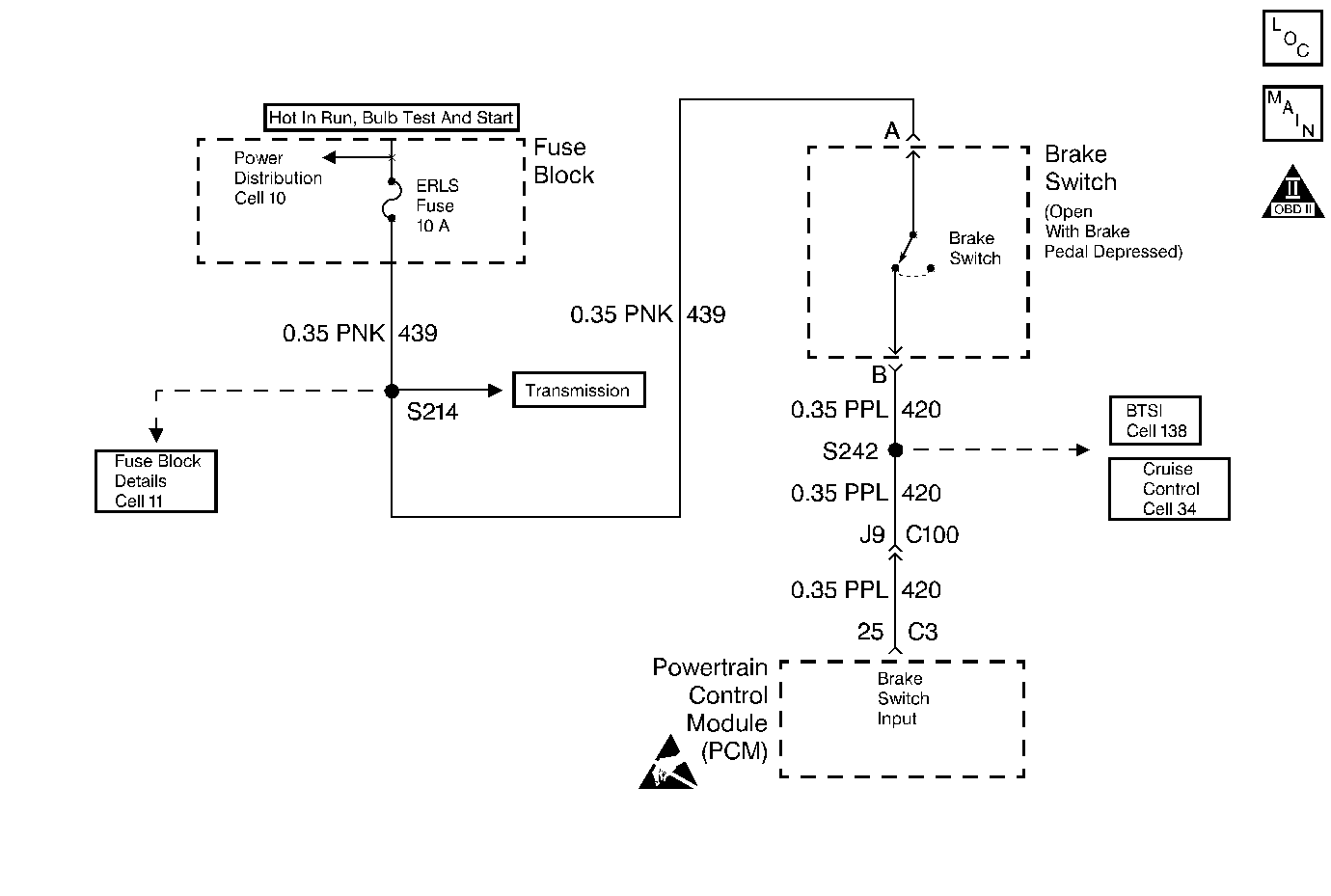
Circuit Description

The brake switch indicates brake pedal status to the Powertrain Control Module (PCM). The normally-Closed brake switch supplies battery voltage on circuit 420 to the PCM. Applying the brake pedal opens the switch, interrupting voltage to the PCM. Releasing the brake pedal resumes voltage to the PCM. When the PCM senses 0 volts at the brake switch input, the PCM de-energizes the Torque Converter Clutch Solenoid Valve.

When the PCM detects an open brake switch (stuck ON) during accelerations, then DTC P0719 sets. DTC P0719 is a type D DTC.

Conditions for Setting the DTC

DTC P0719 sets if the PCM detects an open brake switch or circuit (0 volts) during vehicle acceleration and the following conditions occur seven consecutive times:

    • The vehicle speed is less than 8 km/h (5 mph);
    • then, the vehicle speed is 8-32 km/h (5-20 mph) for 4 seconds;
    • then, the vehicle speed is greater than 32 km/h (20 mph) for 4 seconds.

Action Taken When the DTC Sets

    • The PCM does not illuminate the Malfunction Indicator Lamp (MIL).
    • DTC P0719 is stored in the PCM history.
    • The PCM inhibits TCC engagement.

Conditions for Clearing the DTC

    • A scan tool can clear the DTC from the PCM history. The PCM clears the DTC from the PCM history if the vehicle completes 40 warm-up cycles without a failure reported.
    • The PCM cancels the DTC default actions when the fault no longer exists and the ignition is OFF long enough in order to power down the PCM.

Diagnostic Aids

    • Ask about the customer's driving habits. Ask about unusual traffic conditions, and stop-and-go driving.
    • Inspect the brake switch for proper adjustment.
    • Inspect the wiring for poor electrical connections at the PCM. Inspect the wiring for poor electrical connections at the brake switch connector. Look for the following conditions:
       - A bent terminal
       - A backed out terminal
       - A damaged terminal
       - Poor terminal tension
       - A chafed wire
       - A broken wire inside the insulation
    • When diagnosing for an intermittent short or open condition, massage the wiring harness while watching the test equipment for a change.

Test Description

The numbers below refer to the Step numbers on the diagnostic table.

  1. Disconnecting the brake switch connector, and observing a status change, isolates the brake switch as the source of the DTC.

  2. If circuit 439 shorts to ground, the ERLS fuse opens.

  3. If the brake switch is properly adjusted, then the brake switch must be replaced.

  4. Replace the PCM only after you have completed the preceding diagnostic steps.

P0719

Step

Action

Value(s)

Yes

No

1

Was the Powertrain On-Board Diagnostic (OBD) System Check performed?

--

Go to Step 2

Go to

Powertrain On Board Diagnostic (OBD) System Check (2.2L)

Powertrain On Board Diagnostic (OBD) System Check (2.4L)

2

  1. Install the scan tool (tech 1) .
  2. With the engine OFF, turn the ignition switch to the RUN position.
  3. Important: Before clearing the DTCs, use the scan tool in order to record the Failure Records for reference. The Clear Info function will erase the data.

  4. Record the DTC Failure Records.
  5. Select scan tool Brake Switch.
  6. Disconnect the brake switch connector.
  7. Install a fused jumper from terminal A to terminal B of the brake switch connector.

Did the brake switch status change from Open to Close?

--

Go to Step 5

Go to Step 3

3

  1. Remove the ERLS fuse.
  2. Inspect the fuse for an open.

Refer to Troubleshooting Procedures, Section 8.

Is the fuse open?

--

Go to Step 4

Go to Step 7

4

Inspect circuit 439 for a short to ground.

Refer to Troubleshooting Procedures, Section 8.

Did you find and correct the condition?

--

Go to Step 9

--

5

Inspect the brake switch for proper adjustment.

Refer to Stoplamp Switch Adjustment, Section 5.

Did you find and correct the condition?

--

Go to Step 9

Go to Step 6

6

Replace the brake switch.

Refer to Stoplamp Switch, Section 5.

Is the replacement complete?

--

Go to Step 9

--

7

Inspect circuit 420 for an open.

Refer to Troubleshooting Procedures, Section 8.

Did you find and correct the condition?

--

Go to Step 9

Go to Step 8

8

Replace the PCM.

Refer to Section 6:

Powertrain Control Module/EEPROM Replacement/Programming (2.2L)

Powertrain Control Module/EEPROM Replacement/Programming (2.4L)

Is the replacement complete?

--

Go to Step 9

--

9

In order to verify your repair, perform the following procedure:

  1. Select DTC.
  2. Select Clear Info.
  3. Operate the vehicle under the following conditions:
  4. • Turn the ignition switch to the RUN position.
    • Do not apply the brake pedal.
    • The PCM must receive 12 volts (brake switch closed) on the circuit for 3 seconds or more.
  5. Select Specific DTC. Enter DTC P0719.

Has the test run and passed?

--

System OK

Begin the diagnosis again. Go to Step 1