GM Service Manual Online
For 1990-2009 cars only

Engine Cranks But Does Not Run LD9


Object Number: 50822  Size: LF
Engine Controls Components
Ignition Controls
OBD II Symbol Description Notice
Engine Controls Connector End Views
Handling ESD Sensitive Parts Notice

Circuit Description

This engine is equipped with a distributorless ignition system called the Electronic Ignition (EI) system. The primary circuit of the EI system consists of the following items:

    • Two separate ignition coils
    • Electronic Ignition Control Module (ICM)
    • Crankshaft Position (CKP) sensor
    • Related connecting wires and the ignition control portion of the PCM

Each secondary circuit consists of the following items:

    • Secondary winding of the coil
    • Two connecting metal strips that are molded into the coil housing
    • Spark plug boot/connector assemblies
    • Spark plugs

Diagnostic Aids

    • A small amount of resistance in the battery positive voltage circuit to the PCM may cause a no start with a functioning MIL. Check the battery positive voltage circuit for excessive resistance or corrosion.
    • Check the Throttle Position (TP) sensor for binding or sticking or for being intermittently shorted or open.
    • If the THEFT SYSTEM telltale is flashing on the Instrument Panel Cluster (IPC), the theft deterrent system has been activated, refer to the DTC P1629 Theft Deterrent Fuel Enable Signal Not Received 2.4L, or the DTC P1629 Theft Deterrent Fuel Enable Signal Not Received 2.2L for further diagnosis.
    • Check for water or foreign material in the fuel system.
    • Check for a basic engine problem (low compression).
    • Verify that only resistor spark plugs are used.
    • A scan tool can be used to energize the fuel pump ON to check fuel pump operation and for ignition voltage at the fuel injector harness.

Test Description

Number(s) below refer to the step number(s) on the Diagnostic Table.

  1. The Powertrain OBD System Check prompts the technician to complete some basic checks and store the freeze frame and failure records data on the scan tool if applicable. This creates an electronic copy of the data taken when the malfunction occurred. The information is then stored in the scan tool for later reference.

  2. Diagnosis of the DTCs that may be set could lead to the cause of the Cranks But Will Not Run condition.

  3. The PCM grounds will only cause a problem if all the grounds are not making a good connection. If a PCM ground problem is suspected, the most probable place to check is where all the grounds meet at the engine block.

  4. Locate and repair any shorts that may have caused the fuse to open before replacing the fuse.

  5. A TP sensor that reads too high may cause an incorrect fueling condition.

  6. An engine that has not been started should display ECT and IAT temperatures that are relatively close to each other. During the warmer weather, the IAT readings maybe slightly higher than the ECT readings.

  7. This step looks for a normal barometer reading and a change in MAP sensor values while cranking the engine. This step verifies the MAP sensor can detect the change in the manifold pressure that occurs while cranking the engine. Compare any questionable barometer readings with readings from another vehicle.

  8. While cranking the engine, the CKP Activity (7X reference) should increment to 255, then rollover to 0.

  9. If the scan tool loses serial data only while cranking the engine, then the ignition switch is not sending voltage to the PCM while in the crank position.

  10. Check for possible voltage loss to the PCM including the ignition switch itself.

  11. The ignition positive voltage should be available at the ignition feed terminal (L) of the ICM 11 pin harness electrical connector, and the ground terminal (K) should be a good ground.

  12. The CKP sensor core is a magnet and should be magnetized.

  13. The CKP sensor should output a AC voltage near 1100-1300 mV as the crankshaft turns. It is possible to trigger the ICM with a voltage as low as 200 mV. If no voltage is produced, a poor CKP sensor electrical connection or a malfunctioning CKP sensor is indicated.

  14. The test light connected to B+ simulates a reference signal to the PCM. A fuel injector test light can be installed and will blink for every other touch of the test light if the CKP Activity (7X reference) circuit, the PCM and the fuel injector driver circuits are all functioning properly.

  15. If the test light illuminates while probing the CKP Activity (7X reference) circuit, then the CKP Activity (7X reference) circuit is shorted to ground. If the test light remains OFF and the CKP Activity Counter does not increment, then the CKP Activity (7X reference) circuit is open. If the CKP Activity Counter increments several counts, when the reference low (terminal H) is probed, then the CKP Activity (7X reference) is shorted to voltage.

  16. Replacement PCMs must be reprogrammed and the crankshaft position system variation learn procedure must be performed. Refer to the latest Techline information for PCM programming and the Powertrain Control Module (PCM) for the Crankshaft Position System Variation Procedure .

  17. Battery voltage should be available at the fuel injector ignition feed circuit whenever the fuel pump power feed circuit is switched ON and when the PCM is receiving ignition pulses, during engine cranking or when running. The ignition must be turned OFF for at least 10 seconds to assure that the PCM powers down and will then switch the fuel pump back ON for 2-3 seconds when the ignition is turned back ON.

  18. By installing the spark plug jumper leads and testing for spark on all 4 plug wire leads, each ignition coil's ability to produced at least 25,000 volts is verified.

  19. The fuel pump is turned ON by the PCM for 2-3 seconds after ignition is first turned ON. This step checks to see if the fuel pump and fuel pump relay are operating correctly and if the fuel pressure is within the proper range. Refer to the Fuel System Diagnosis for fuel pressure gauge installation procedure.

  20. The ignition voltage is supplied to the fuel injectors and fuel pump for the first two seconds when the ignition switch is turned ON and continuously when the engine is cranked. If the fuel pump runs but the fuel injector test light did not blink, then the fuel injector ignition feed circuit is open between the fuel injector and the splice from the ignition feed circuit.

  21. This step verifies that the PCM is sending a signal to the Ignition Control Module (ICM) to fire the ignition coils. If the test light blinks, then the signal is OK to this point and the no spark condition lies in the ignition coil electrical harness or the ignition coil that did not produce spark.

  22. The ignition coil electrical harness can easily be checked by performing the previous step with the ignition coil electrical harness connected to the ICM. Check for a voltage and ground signal to the ignition coils at the coil electrical connector.

Engine Cranks But Will Not Run

Step

Action

Value(s)

Yes

No

1

Was the Powertrain On-Board Diagnostic (OBD) System Check performed?

--

Go to Step 2

Go to Powertrain On Board Diagnostic (OBD) System Check

2

Are DTC(s) P0335, P0601, P0602, or P1629 set?

--

Go to applicable DTC table

Go to Step 3

3

Inspect the PCM ground connection at the engine block.

Is the ground connection OK?

--

Go to Step 4

Go to Step 5

4

Inspect the following fuses:

    • Fuel pump
    • Fuel injector ignition feed
    • IGN feed

Are the fuses OK?

--

Go to Step 6

Go to Step 7

5

Repair the PCM ground connection.

Is the action complete?

--

Go to Step 36

--

6

Check the fuel level and add fuel if necessary.

Was it necessary to add fuel?

--

Go to Step 36

Go to Step 8

7

  1. Check for a short to ground in the fuel pump and fuel injector ignition feed circuit and repair as necessary.
  2. Replace the open fuse.

Is the action complete?

--

Go to Step 36

--

8

  1. Install a scan tool.
  2. Turn the ignition switch ON, with the engine OFF and throttle closed.

Does the TP sensor read less than the specified value?

1.0 V

Go to Step 9

Go to DTC P0121 Throttle Position (TP) Sensor Performance

9

Is the Engine Coolant Temperature (ECT) relatively close to the Intake Air Temperature (IAT)?

--

Go to Step 10

Go to DTC P0118 Engine Coolant Temperature (ECT) Sensor Circuit High Voltage

or DTC P0117 Engine Coolant Temperature (ECT) Sensor Circuit Low Voltage

10

  1. Check to see if the Manifold Absolute Pressure (MAP) sensor reading is over the specified value.
  2. Crank the engine while watching the MAP sensor readings.

Does the MAP sensor read over the specified value and then change while cranking the engine?

4 V

Go to Step 11

Go to Step 12

11

Crank the engine.

Does the CKP Activity Counter increment while cranking?

--

Go to Step 26

Go to Step 14

12

Was Serial Data lost while cranking the engine?

--

Go to Step 13

Go to Manifold Absolute Pressure Sensor Output Diagnosis

13

Repair the voltage loss to the PCM from the ignition switch.

Is the action complete?

--

Go to Step 36

--

14

  1. Turn the ignition switch OFF.
  2. Disconnect the electronic Ignition Control Module (ICM) 11 pin harness electrical connector.
  3. Turn the ignition switch ON.
  4. Connect the DVM between the ICM ground and ignition positive voltage terminals.

Does the DVM read the specified voltage?

B+

Go to Step 15

Go to Step 16

15

  1. Connect the DVM between the ICM harness electrical connector terminals F and J.
  2. Measure the combined CKP sensor and the ICM electrical harness resistance.

Is the resistance reading within the specified value?

500-900ohms

Go to Step 18

Go to Step 17

16

Repair the open in the ground or in the ignition positive voltage circuit to the ICM.

Is the action complete?

--

Go to Step 36

--

17

  1. Remove the CKP sensor from the engine.
  2. Connect the DVM across the CKP sensor terminals.
  3. Measure the CKP sensor resistance.
  4. Verify that the CKP sensor is magnetic.
  5. Check the terminals for damage.

Is the CKP sensor magnetic with undamaged terminals and the resistance within the specified value?

500-900ohms

Go to Step 20

Go to Step 21

18

  1. Connect the DVM between the ICM harness electrical connector terminals F and J.
  2. Crank the engine and note the voltage (AC scale).

Is the voltage reading greater than the specified value?

200 mV

Go to Step 19

Go to Step 17

19

Connect a test light to B+ and touch the ICM harness electrical connector G terminal and then the H terminal.

Does the CKP Activity Counter increment one count as the test light touches terminal H?

--

Go to Step 22

Go to Step 23

20

Check for a poor electrical connection, open or a short in the CKP sensor electrical harness and repair as necessary.

Was a repair necessary?

--

Go to Step 36

--

21

Replace the CKP sensor.

Is the action complete?

--

Go to Step 36

--

22

Visually inspect the ICM harness electrical connector to see if the connections are clean and tight and repair if necessary.

Was a repair necessary?

--

Go to Step 36

Go to Step 24

23

Check the CKP activity (7X reference) circuit for an open or a short and repair as necessary.

Was a repair necessary?

--

Go to Step 36

Go to Step 25

24

Replace the ICM.

Is the action complete?

--

Go to Step 36

--

25

Check for a poor electrical connection at the PCM, if OK replace the PCM.

Is the action complete?

--

Go to Step 36

--

26

  1. Disconnect all of the fuel injectors electrical connectors and install a fuel injector test light on fuel injector #1 electrical connector.
  2. Crank the engine and note the light.

Does the test light blink?

--

Go to Step 27

Go to Step 30

27

  1. Remove the ignition coil and the electronic ignition control module assembly.
  2. Install the spark plug jumper wires J 36012.
  3. Remove the spark plug boot from companion cylinder of the ignition coil housing
  4. Install a jumper wire from the spark plug boot connector of the ignition coil housing to ground.
  5. Crank the engine with the remaining spark plug wires still connected and check for spark with spark tester J 26792 on all 4 spark plug wires (one at a time).

Does spark jump the spark tester on all 4 spark plug wires?

--

Go to Step 28

Go to Step 31

28

  1. Install a fuel pressure gauge.
  2. Important: The ignition switch may have to be cycled more than one time to achieve the highest fuel pressure.

  3. Note the fuel pressure after the ignition switch is turned ON for 2 seconds.

Is the fuel pressure between the specified value?

284-325 kPa (41-47 psi)

Go to Step 29

Go to Engine Cranks but Does Not Run

29

Check for fouled spark plugs and replace if necessary.

Was any spark plug replacement necessary?

--

Go to Step 36

Go to Diagnostic Aids

30

Repair the open in the fuel pump and fuel injector ignition feed circuit.

Is the action complete?

--

Go to Step 36

--

31

  1. Turn the ignition switch OFF.
  2. Disconnect the PCM electrical connectors.
  3. Turn the ignition switch ON.
  4. Notice: Do not leave the jumper wire connected to the PCM IC circuit connector for longer than 5 seconds at a time. Failure to do so may damage the ignition coil and/or the Ignition Control Module.

  5. Connect a fused jumper wire to B+ and momentarily probe the IC circuit with the fused jumper wire.
  6. Remove the fused jumper wire from the IC circuit and a spark should jump from the spark tester.

Does a spark jump on the spark tester?

--

Go to Step 25

Go to Step 32

32

  1. Turn the ignition switch OFF.
  2. Disconnect the spark plug jumper wires.
  3. Reconnect the PCM electrical connectors.
  4. Remove the ignition coil housing.
  5. Disconnect the ignition coil harness electrical connector at the ICM.
  6. Connect a test light between B+ and the ICM control terminal for the ignition coil(S) which did not spark.
  7. Crank the engine and note the test light.

Does the test light blink while cranking the engine?

--

Go to Step 33

Go to Step 35

33

Check for a malfunctioning ignition coil harness electrical connection or a open in the ignition coil harness and repair as necessary.

Was a repair necessary?

--

Go to Step 36

Go to step 34

34

Replace the ignition coil that did not spark.

Is the action complete?

--

Go to Step 36

--

35

Check the ignition control circuit for an open or a short and repair as necessary.

Was a repair necessary?

--

Go to Step 36

Go to Step 22

36

  1. Using the scan tool, clear any DTCs.
  2. Attempt to start the engine.

Does the engine start and continue to run?

--

Go to Step 37

Go to Step 2

37

  1. Allow the engine to idle until normal operating temperature is reached.
  2. Check if any DTCs are set.

Are any DTCs displayed that have not been diagnosed?

--

Go to Applicable DTC table

System OK

Refer to Diagnostic Aids

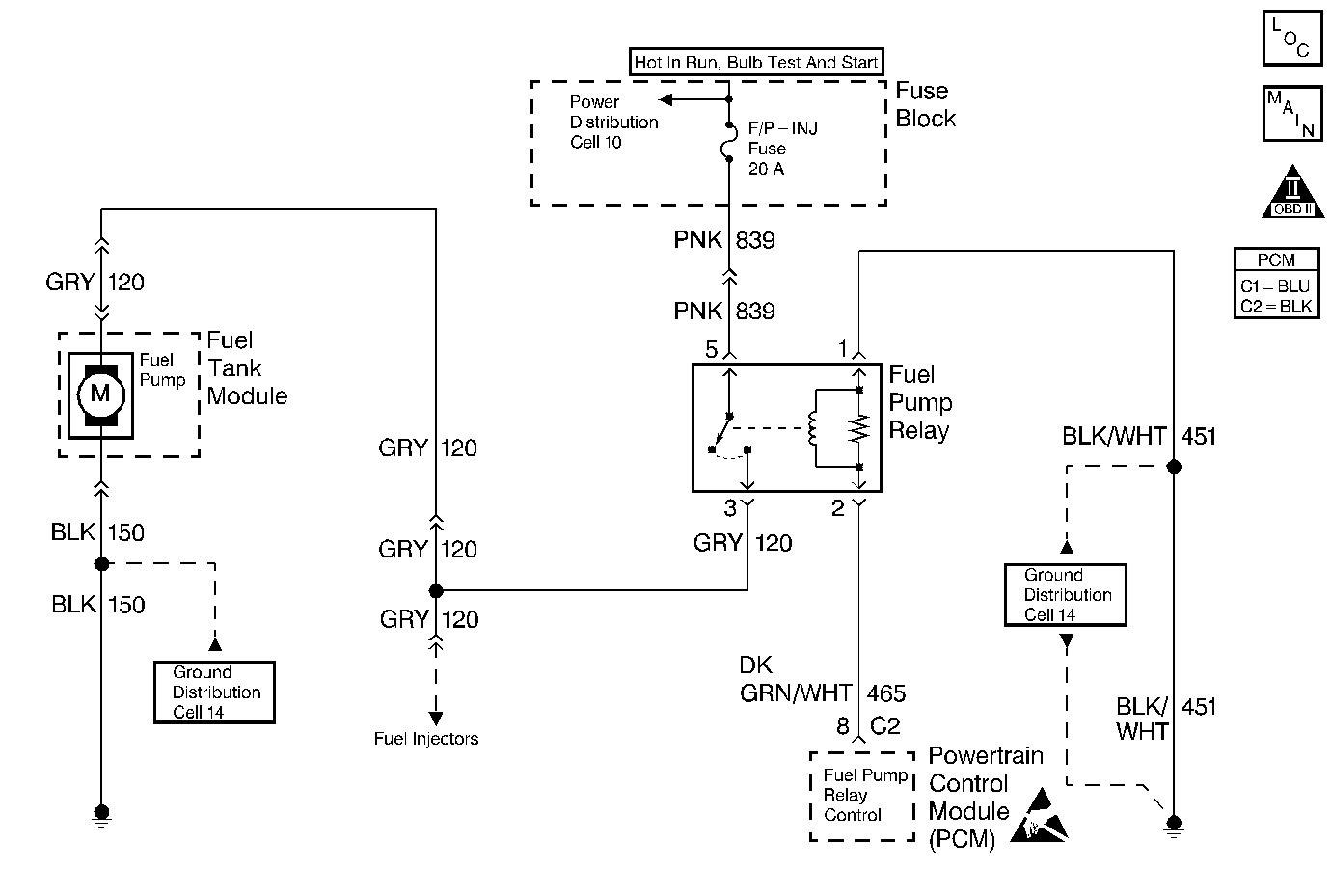
Engine Cranks But Does Not Run Fuel Pump Circuit


Object Number: 50821  Size: MF
Engine Controls Components
Fuel Controls
OBD II Symbol Description Notice
Engine Controls Connector End Views
Handling ESD Sensitive Parts Notice

Circuit Description

When the ignition switch is turned ON, the Powertrain Control Module (PCM) turns ON the in-tank fuel pump. It will remain ON as long as the PCM is receiving ignition reference pulses from the electronic Ignition Control Module (ICM). If there are no reference pulses, the PCM will shut OFF the fuel pump about 2-3 seconds after the ignition is turned ON, about 10 seconds after the reference pulses stop.

The fuel pump delivers fuel to the fuel rail and fuel injectors, then to the fuel pressure regulator, where the system pressure is controlled to 283-324 kPa (41-47 psi) with no manifold vacuum or 214-303 kPa (31-44 psi) at idle. Excess fuel is then returned to the fuel tank.

Improper fuel system pressure will result in one or all of the following symptoms:

    • Cranks but will not run
    • DTC P0108
    • DTC P0171
    • DTC P0172
    • DTC P0300
    • DTC P1171
    • Cuts out, may feel like an ignition problem
    • Poor fuel economy, loss of power
    • Hesitation

Diagnostic Aids

An intermittent may be caused by a poor connections, rubbed through wire insulation, or a broken wire inside of the inslation.

Any circuitry, that is suspected as causing an intermittent complaint, should be throughly checked for the following conditions:

    • Backed out terminals
    • Improper mating
    • Broken locks
    • Improperly formed or damaged terminals
    • Physical damage to the wiring harness
    • Corrosion

Test Description

Number(s) below refer to step number(s) on the Diagnostic Table.

  1. The Powertrain OBD System Check prompts the technician to complete some basic checks and stores the freeze frame and failure records data on the scan tool, if applicable. This creates an electronic copy of the data taken when the malfunction occurred. The information is then stored in the scan tool for later reference.

  2. If the no start condition was due to a open fuse, locate and repair any shorts that may have caused the fuse to open before replacement.

  3. This step determines if the fuel pump circuit can be controlled by the PCM. The PCM should energize the fuel pump relay and turn the fuel pump ON when commanded by the scan tool. If the engine is not cranking or running, the PCM should de-energize the relay and turn OFF the fuel pump after 2-3 seconds.

  4. Jumpering CKT 120 to CKT 839 verifies that the fuel pump relay ignition feed circuit, the fuel pump feed circuit, the fuel pump and fuel ground are all OK.

  5. Check for an open CKT 451.

  6. Replacement PCMs must be reprogrammed and the crankshaft position system variation procedure must be performed. Refer to the latest Techline information for PCM programming and Powertrain Control Module (PCM) for the Crankshaft Position System Variatioin Procedure.

  7. This step checks CKT 150 on the body side of the body harness only. If CKT 150 is OK, then CKTs 120 or 150 in the fuel tank harness or the fuel pump itself is malfunctioning.

  8. This test will determine if a short to ground on CKT 120 caused the fuse to open. To prevent mis-diagnosis, be sure the fuel pump harness is disconnected before the test.

Engine Cranks But Will Not Run Fuel Pump Circuit

Step

Action

Value(s)

Yes

No

1

Was the Powertrain On-Board Diagnostic (OBD) System Check performed?

--

Go to Step 2

Go to

Powertrain On Board Diagnostic (OBD) System Check 2.4L

Powertrain On Board Diagnostic (OBD) System Check 2.2L

2

Inspect the fuel pump relay fuse.

Is the fuse OK?

--

Go to Step 3

Go to Step 20

3

  1. Turn the ignition switch ON.
  2. Install a scan tool.
  3. Command the fuel pump relay ON.

Does the in-tank fuel pump run when commanded ON?

--

Go to

Fuel System Diagnosis 2.4L

Fuel System Diagnosis 2.2L

Go to Step 4

4

  1. Disconnect the fuel pump relay.
  2. Using a fused jumper wire, connect the fuel pump feed terminal to the fuel pump relay ignition feed terminal.

Does the fuel pump run?

--

Go to Step 5

Go to Step 6

5

  1. With a test light connected to ground, probe the fuel pump relay control terminal.
  2. Command the fuel pump ON with the scan tool.

Does the test light illuminate?

--

Go to Step 7

Go to Step 8

6

With a test light connected to ground, probe the ignition feed terminal to the fuel pump relay.

Is the test light ON?

--

Go to Step 9

Go to Step 10

7

With a test light connected to B+, probe the ground terminal to the fuel pump relay.

Is the test light ON?

--

Go to Step 11

Go to Step 12

8

Check for an open or short to ground in the fuel pump control circuit and repair as necessary.

Was a repair necessary?

--

Go to Step 25

Go to Step 13

9

  1. Reinstall the fuel pump relay.
  2. Disconnected the fuel pump electrical harness at the rear body connector.
  3. Probe the fuel pump feed terminal (body side) with a test light connected to ground.
  4. Command the fuel pump ON with the scan tool.

Does the test light illuminate?

--

Go to Step 14

Go to Step 15

10

Repair the open in the ignition feed circuit for the fuel pump relay.

Is the action complete?

--

Go to Step 25

--

11

Replace the fuel pump relay.

Is the action complete?

--

Go to Step 25

--

12

Repair the open ground circuit to the fuel pump relay.

Is the action complete?

--

Go to Step 25

--

13

Inspect connections and terminals at the PCM and repair as necessary.

Was a repair necessary?

--

Go to Step 25

Go to Step 16

14

With a test light connected to B+, probe the fuel pump ground circuit (body side).

Does the test light illuminate?

--

Go to Step 17

Go to Step 18

15

Repair the open fuel pump feed circuit.

Is the action complete?

--

Go to Step 25

--

16

Replace the PCM.

Is the action complete?

--

Go to Step 25

--

17

Check the fuel pump feed and ground circuits in the fuel pump harness for an open and repair as necessary.

Was a repair necessary?

--

Go to Step 25

Go to Step 19

18

Repair the open fuel pump ground circuit.

Is the action complete?

--

Go to Step 25

--

19

Replace the fuel pump.

Is the action complete?

--

Go to Step 25

--

20

  1. Disconnect the fuel pump electrical harness at the rear body harness connector.
  2. Disconnect the fuel pump relay.
  3. Turn the ignition switch OFF.
  4. Probe the fuel pump feed terminal with a test light connected to B+.

Does the test light illuminate?

--

Go to Step 21

Go to Step 22

21

Repair the short to ground in the fuel pump feed circuit.

Is the action complete?

--

Go to Step 25

--

22

With the test light still connected to B+, probe the fuel pump relay ignition feed circuit terminal.

Does the test light illuminate?

--

Go to Step 23

Go to Step 24

23

Repair the short to ground in the fuel pump relay ignition feed circuit.

Is the action complete?

--

Go to Step 25

--

24

Check the fuel pump feed circuit in the fuel pump harness for a short to ground and repair as necessary.

Was a repair necessary?

--

Go to Step 25

Go to Step 19

25

  1. Using the scan tool, clear the DTCs.
  2. Attempt to start the engine.

Does the engine start and continue to run?

--

Go to Step 26

Go to Step 2

26

  1. Allow the engine to idle until normal operation temperature is reached.
  2. Check if any DTCs are set.

Are any DTCs displayed that have not been diagnosed?

--

Go to applicable DTC table

System OK