GM Service Manual Online
For 1990-2009 cars only
Makes
🢒
Chevrolet
🢒
2002
🢒
Cavalier
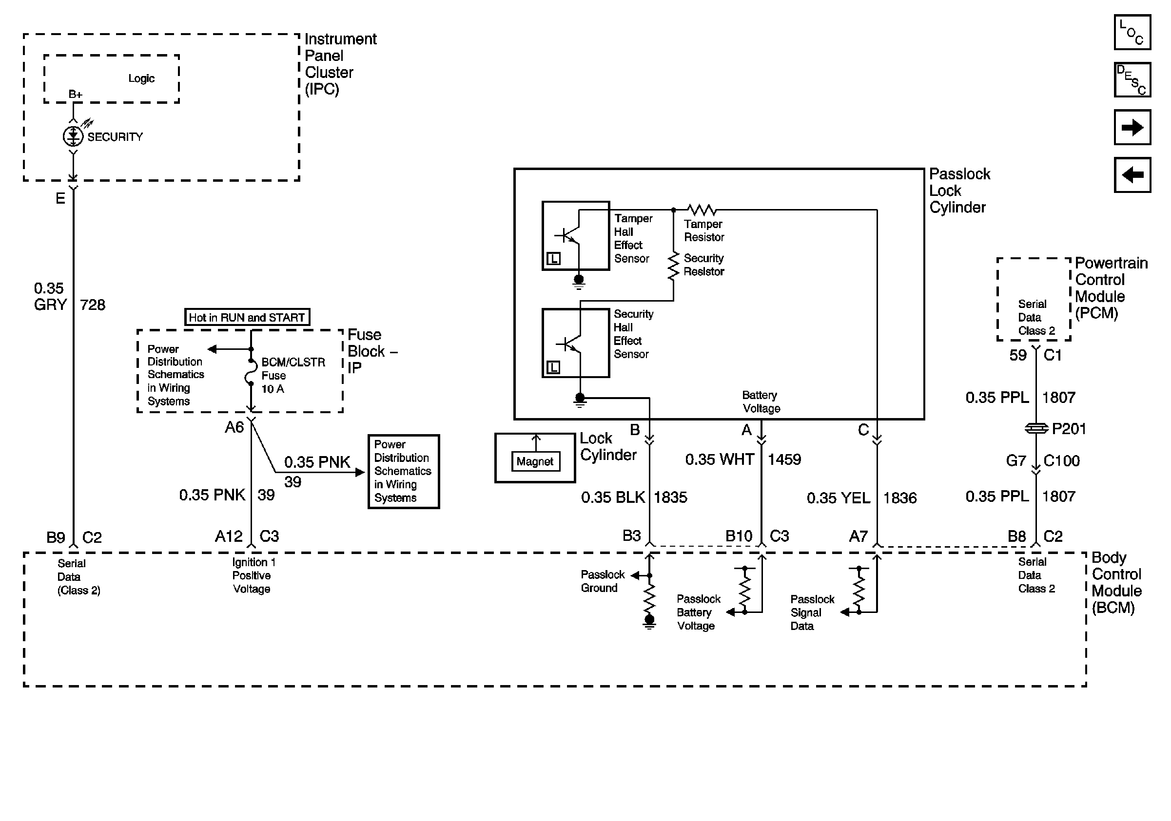
🢒 Theft Deterrent Passlock™ Lock Cylinder
Theft Deterrent Passlock™ Lock Cylinder
Theft Deterrent Passlock⢠Lock Cylinder
Master Electrical Component List
Content Theft Deterrent: DRL, Security Indicator, and Horn
Content Theft Deterrent: Door Jamb Switches and Rear Compartment Lamp Switch
IP Fuse Block TURN - B/U, IGN MDL, PCM, BCM /CLU Fuses
IP Fuse Block TURN - B/U, IGN MDL, PCM, BCM /CLU Fuses