GM Service Manual Online
For 1990-2009 cars only

Starter Overhaul 37-MT

If the motor does not perform to specifications, it may be necessary to disassemble the motor in order to further inspect the components. Only disassemble the starter motor as necessary in order to perform repair or replacement of defective components.

Caution: Wear safety glasses in order to avoid eye damage.

Prior to disassembly, electrically test the solenoid. Refer to Starter Motor Inspection .

Field Frame Disassembly

  1. Clean the outside of the starter housing.
  2. Clean any of the following conditions:

    • Grease
    • Oil
    • Mud
  3. Scribe marks in order to show the relationship of the following components:
  4. • The drive housing
    • The lever housing
    • The field frame
    • The end frame
    • Scribing the above marks will aid in assembly.

    Object Number: 205395  Size: SH
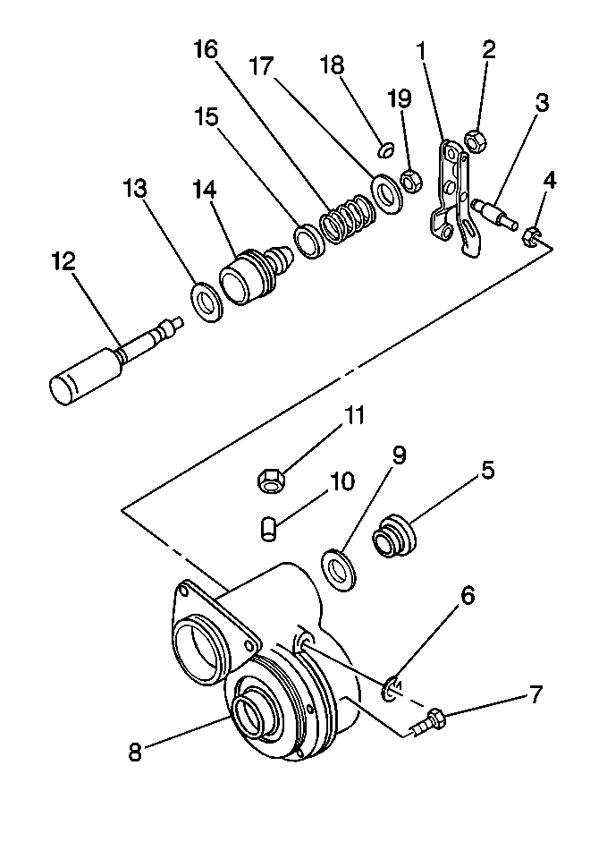
  5. Remove the field coil terminal to solenoid connector (8) and two screws (1).

  6. Object Number: 205374  Size: SH
  7. Remove the following components from the end frame:
  8. • The nut (1) if present
    • The nut (2)
    • The washers (3,4)
    • The terminal insulator (5)
    • The square insulator is located inside the end frame.
  9. Remove the thermostat retaining ring (12) from the thermostat (11) on starters with overcrank protection.
  10. Remove the four end frame screws (6).

  11. Object Number: 203361  Size: SH
  12. Remove the end frame from the field frame.
  13. Hold the end of each brush spring (2) off the end of each brush (3) while pulling the brush out of the guide. Only pull the brush out of the guide enough in order to rest the spring against the side of the brush.


    Object Number: 205398  Size: MH
  14. Remove the brush attaching screws (9) from the positive (insulated) brushes and field coil leads.
  15. Remove the brush plate assembly (8) and the terminal lead (2) from the field frame.

  16. Object Number: 205403  Size: MH
  17. Remove the drive housing screws (4).
  18. Remove the drive housing (5).
  19. Remove the lever housing O-ring (9).
  20. Remove the five lever housing screws (13).
  21. Remove the lever housing (14).
  22. Pry the lever housing away from the field frame.

  23. Remove the armature (18).

  24. Object Number: 203362  Size: SH
  25. Perform the following procedure in order to remove the retainer ring and the pinion stop  from the armature shaft:
  26. 16.1. Slide a metal cylinder (1) onto the armature shaft.
    16.2. Use a hammer in order to strike the metal cylinder against the retainer ring.
    16.3. Use pliers in order to remove the snap ring (2) from the groove in the shaft.

    If the snap ring becomes distorted during removal, replace the snap ring.


    Object Number: 205403  Size: MH
  27. Remove the pinion stop (11) from the armature shaft.
  28. Remove the thrust washer (20) from the commutator end of the armature shaft.

  29. Object Number: 205395  Size: SH
  30. Remove three solenoid to lever housing screws (3).

  31. Object Number: 203363  Size: MH
  32. Remove the solenoid (1).

Lever Housing Disassembly


    Object Number: 205404  Size: MH
  1. Remove the inspection plug (5) from the lever housing (8).

  2. Object Number: 203364  Size: SH
  3. Remove the drive assembly (2) from the lever housing (1).

  4. Object Number: 205404  Size: MH
  5. Remove the shaft retainer ring (6) from the lever housing at the end of the shift lever shaft (3).
  6. Important: The retainer will bend during removal. Do not reuse the retainer.

  7. Remove the shift lever shaft (3).
  8. Remove the shift lever (2).

Field Coil Disassembly


    Object Number: 205395  Size: SH

    Important: Inspect the field coil for grounds before removing the coil from the frame. Refer to Starter Motor Inspection . Grounds may not appear after the field coil is removed.

  1. Remove the outer insulator (7) from the field frame.

  2. Object Number: 205403  Size: MH
  3. Remove the pole shoe screws (22) from the field frame, including the frame grounding terminal 16 (if present).
  4. Remove the field coil insulator (21).
  5. Remove the following components from the field frame:
  6. • The field coil (17)
    • The pole shoes (23)

    Object Number: 205395  Size: SH
  7. Remove the inside insulator (6) from the field terminal on the field coil.

Solenoid Boot Disassembly


    Object Number: 205404  Size: MH
  1. Remove the plunger spring retainer ring (19) from the plunger shaft (12).
  2. Remove the following components:
  3. • The plunger spring retainers (15,17)
    • The spring (16)
  4. Remove the plunger boot (14).

Solenoid Disassembly


    Object Number: 203363  Size: MH
  1. Remove the two cover attaching screws (19).
  2. Remove the nuts (15, 16, 17) and the washers (21, 20) from the terminal studs.
  3. Remove the cover (1).
  4. Remove the solenoid contact (10).
  5. Remove the cover gasket (3).
  6. Inspect the gasket for damage. Replace the gasket if necessary.
  7. Inspect the following components for wear, corrosion or dirt:
  8. • The contact plate (10)
    • The bottom of the contact return stud (4)
    • The terminal stud (24)
  9. Clean the contact points on the contact plate and the bottom of the studs.

Solenoid Assembly


    Object Number: 203363  Size: MH
  1. Install the gasket (3).
  2. Install a new contact (10) and studs (4, 5, 24) if necessary.
  3. Install the cover (1).
  4. Notice: Use the correct fastener in the correct location. Replacement fasteners must be the correct part number for that application. Fasteners requiring replacement or fasteners requiring the use of thread locking compound or sealant are identified in the service procedure. Do not use paints, lubricants, or corrosion inhibitors on fasteners or fastener joint surfaces unless specified. These coatings affect fastener torque and joint clamping force and may damage the fastener. Use the correct tightening sequence and specifications when installing fasteners in order to avoid damage to parts and systems.

  5. Install two solenoid screws (19).
  6. Tighten
    Tighten the solenoid screws to 3.5 N·m (30 lb in).

  7. Install the nuts (16, 17, 18) and the washers (20, 21, 22) to the studs (4, 5, 6, 24).

Solenoid Boot Assembly


    Object Number: 205404  Size: MH
  1. Install a new boot (14) on the plunger (12).
  2. Install the following components onto the plunger (12).
  3. • The spring retainer (15)
    • The spring (16)
    • The spring retainer (17)
    • The retaining ring (19)

Field Coil Assembly


    Object Number: 205403  Size: MH
  1. Install the inner insulator to the field coil terminal (17).
  2. Use a pole shoe spreader if necessary in order to install the field coils (17) and the pole shoes (23) into the field frame.
  3. If the pole shoe has a long tip on one side and a short tip on the other side, assemble the long tip in the direction of armature rotation. Refer to the identification tag on the field frame for the direction of the pinion rotation.

  4. Install the pole shoe screws (22) and the frame ground terminal (16) (if used) through the field frame and into the pole shoes.
  5. Finger tighten the pole shoes in order to allow insertion of the field coil insulator (21).


    Object Number: 203370  Size: SH

    Notice: Use the correct fastener in the correct location. Replacement fasteners must be the correct part number for that application. Fasteners requiring replacement or fasteners requiring the use of thread locking compound or sealant are identified in the service procedure. Do not use paints, lubricants, or corrosion inhibitors on fasteners or fastener joint surfaces unless specified. These coatings affect fastener torque and joint clamping force and may damage the fastener. Use the correct tightening sequence and specifications when installing fasteners in order to avoid damage to parts and systems.

  6. Install the field coil insulator (1) to the left field frame.
  7. Tighten
    Tighten the pole shoe screws and the frame ground terminal (if used) to 45 N·m (33 lb ft).

  8. Install the outer field coil terminal insulator to the field frame.

Starter Motor Unit Assembly


    Object Number: 205404  Size: MH
  1. Install the shift lever (2) in the lever housing (8).

  2. Object Number: 203371  Size: SH
  3. Use the following procedure in order to install the shift lever shaft (5) in the lever housing (3):
  4. 2.1. Use the shaft retainer (2) in order to secure the shift lever shaft.
    2.2. Verify that the lever shaft is fully seated in the housing. Support the housing. Use a 3/8 inch driver (1) and a hammer in order to drive the retainer snugly against the end of the shift lever shaft.

    Object Number: 205404  Size: MH
  5. Install the inspection plug (5) to the lever housing (8).
  6. Install the solenoid plunger shaft (12) through the shift lever trunnion (6).
  7. Install the plunger adjuster nut (1) to about the same position on the shaft as prior to disassembly.

  8. Object Number: 205403  Size: MH
  9. Install new seals in the armature end of the lever housing as necessary.
  10. Lubricate the armature and lever housing spacer (24). Refer to Starter Motor Inspection .
  11. Install the spacer (24) onto the armature shaft.
  12. If the lever housing bushing (11) is being replaced, lubricate the new wick and the new bushing. Refer to Starter Motor Inspection .

  13. Object Number: 205404  Size: MH
  14. Install the following components:
  15. • The new bushing
    • The new wick (10)
    • the new cup (11)
  16. Install the lever housing onto the armature shaft and field frame.
  17. Be sure to align the marks scribed during disassembly.

    Notice: Use the correct fastener in the correct location. Replacement fasteners must be the correct part number for that application. Fasteners requiring replacement or fasteners requiring the use of thread locking compound or sealant are identified in the service procedure. Do not use paints, lubricants, or corrosion inhibitors on fasteners or fastener joint surfaces unless specified. These coatings affect fastener torque and joint clamping force and may damage the fastener. Use the correct tightening sequence and specifications when installing fasteners in order to avoid damage to parts and systems.

  18. Install the five lever housing mounting screws.
  19. Tighten
    Tighten the lever housing screws to 20 N·m (15 lb ft).


    Object Number: 205403  Size: MH
  20. Install the following components onto the armature shaft (18):
  21. • The brake washer (10)
    • The drive assembly (8)
  22. Install the pinion stop (7).
  23. The flat side of the pinion stop must face toward the pinion.

  24. Place the retaining ring (6) on the end of the shaft.

  25. Object Number: 203372  Size: SH
  26. Use a light hammer blow against a wood block on top of the retaining ring in order to force the ring onto the shaft.
  27. Slide the ring down into the shaft groove.

  28. Object Number: 205403  Size: MH
  29. Tap the pinion stop (7) up over the retaining ring (6).
  30. If replacing the drive housing bushing (3), lubricate the new wick and the new bushing. Refer to Starter Motor Inspection .
  31. Install the following components into the drive housing (5):
  32. • The new bushing
    • The new wick
    • The new oil cup
  33. Install the drive housing (5) into the lever housing (14).
  34. Be sure to align the marks scribed during disassembly.

  35. Install the drive housing mounting screws (4).
  36. Tighten
    Tighten the drive housing mounting screws to 24 N·m (18 lb ft).

  37. Install the thrust washer (20) onto the armature shaft at the commutator end.

  38. Object Number: 203361  Size: SH
  39. Perform the following procedure in order to install the new brushes (3), if needed, and springs (2) to the brush plate assembly (1):
  40. 24.1. Install each brush spring in the following manner:
       • The plate assembly post is inside the innermost loop of the spring.
       • The free end of the spring is located toward the center of the plate assembly.
    24.2. Place the brush into the holder in the plate assembly in the following manner:
       • The flat side of the brush clip is down under the brush screw.
       • The plain end of the brush is even with the bottom of the holder.
    24.3. Use needle nose pliers in order to pull the free end of the brush spring past the holder and place the spring against the side of the brush.

    The above action will hold the brush in a retracted position for further motor assembly.


    Object Number: 205398  Size: MH
  41. Use the brush attaching screws (9) in order to install the terminal assembly (2) and the thermostat (if present) to the grounded (negative) brush holders and the brush leads.
  42. Place the terminal leads between the brush holders and the brush clips.

    Tighten
    Tighten the brush attaching screws to 3.4 N·m (30 lb in).

  43. Install the brush plate assembly (8) to the field frame.
  44. Use the brush attaching screws (9) in order to install the field coil leads to the grounded (negative) brush holders and the brush leads.
  45. Place the field leads between the brush holders and the brush clips.

    Tighten
    Tighten the brush attaching screws to 3.4 N·m (30 lb in).

  46. Perform the following procedure in order to release the brushes onto the commutator:
  47. 28.1. Pull back each brush spring
    28.2. Push each brush into the holder until the brush rests against the commutator.

    Verify that the brushes move freely in the holders. Verify that the brush tension holds the brushes flat against the commutator

    28.3. Release the spring onto the end of the brush.
    28.4. Verify that the braided copper brush leads on the insulated (positive) brushes do not touch any ground source around the brush holder.
  48. If replacing the end frame bushing , lubricate the new wick and the new bushing. Refer to Starter Motor Inspection .

  49. Object Number: 205374  Size: SH
  50. Install the following components into the end frame (9):
  51. • The new bushing
    • The wick (8)
    • The oil cup (7)

    Object Number: 205398  Size: MH
  52. Install the end frame into the field frame.
  53. Be sure to align the marks scribed during disassembly.

  54. Install the four end frame screws (1).
  55. Tighten
    Tighten the end frame screws to 5.6 N·m (50 lb in).


    Object Number: 205395  Size: SH
  56. Use three solenoid mounting screws (3) in order to install the solenoid (4) to the lever housing.
  57. Tighten
    Tighten the solenoid mounting screws to 18 N·m (13 lb ft).

  58. Inspect the mounting nuts on the large solenoid M and BAT terminals in order to verify that the terminals are secure.
  59. Tighten
    Tighten the solenoid terminal nuts to 30 N·m (22 lb ft).

  60. Use two screws (1) in order to install the connector (8) to the field terminal and the solenoid M terminal.
  61. Tighten
    Tighten the terminal screws to 3.4 N·m (30 lb in).

  62. Inspect the mounting nuts on the solenoid S terminal and ground terminals (if present) in order to verify that the terminals are secure in the cap.
  63. Tighten
    Tighten the solenoid terminal nuts to 3.0 N·m (27 lb in).


    Object Number: 205374  Size: SH
  64. If a ground lead is used between the solenoid terminal and the commutator end terminal (type 350 only), inspect the nut (2) on the ground lead to the solenoid ground terminal.
  65. Hold the mounting nut (next to the cap) in order to prevent the mounting nut from turning when tightening the outer terminal nut.
  66. Tighten
    Tighten the terminal nut to 3.0 N·m (27 lb in).

  67. Install the thermostat retaining ring (12) to the thermostat connector (if present).
  68. Install the commutator terminal mounting nut (1) to the commutator end ground terminal.
  69. Tighten
    Tighten the mounting nut to 30 N·m (22 lb ft).

  70. Install a ground lead from the commutator end terminal to the solenoid (type 350, if used) outer nut (1).
  71. Hold the mounting nut (next to end frame) in order to prevent the mounting nut from turning when tightening the outer terminal nut.
  72. Tighten
    Tighten the terminal nut to 30 N·m (22 lb ft).