GM Service Manual Online
For 1990-2009 cars only
Makes
🢒
Chevrolet
🢒
1999
🢒
Chevrolet C-Series Medium Duty Truck B7
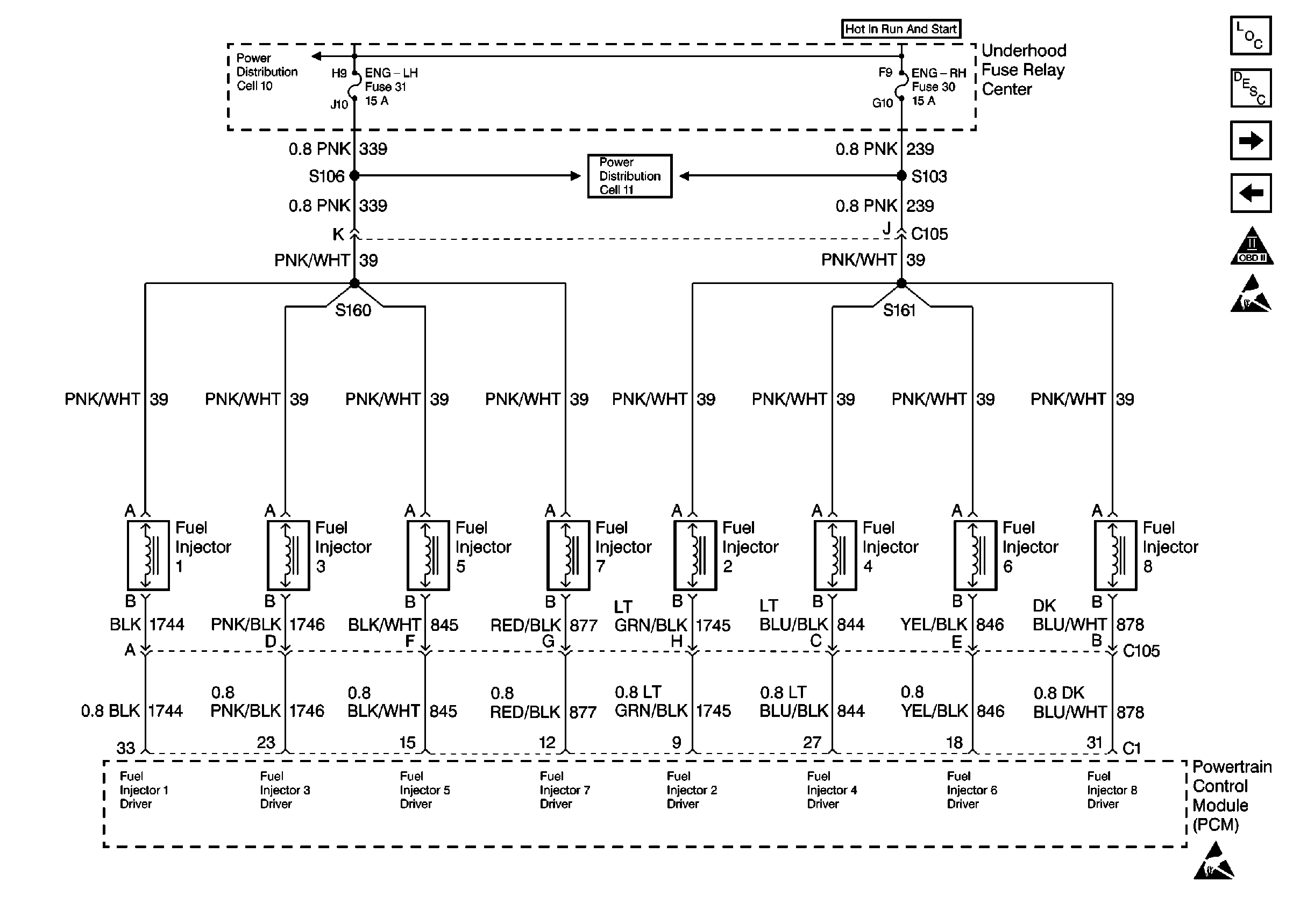
🢒 Cell 20: Fuel Injector Control
Cell 20: Fuel Injector Control
Cell 20: Fuel Injector Control
Cell 10: Hot in Run and Start Fuses
Cell 11: Eng RH, LH, PCM 1, and Fuel Pump Fuses
Engine Controls Components
Sequential Multiport Fuel Injector Fuel System Description
Cell 20: MAP, ECT, and IAT Sensors; EGR Valve
Cell 20: Fuel Pump Control
OBD II Symbol Description Notice
ESD Notice