GM Service Manual Online
For 1990-2009 cars only
Makes
🢒
Chevrolet
🢒
2000
🢒
Chevrolet C-Series Medium Duty Truck B7
🢒
Body and Accessories
🢒
Lighting Systems
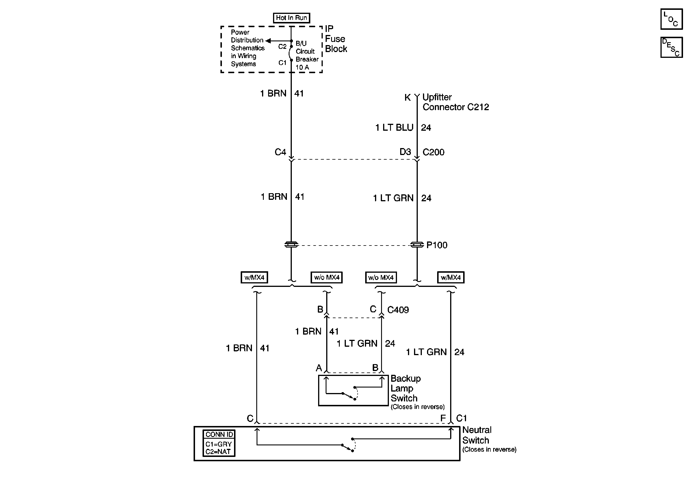
🢒 Backup Lamp Schematics
Lighting Systems Components
Backup Lamp Circuit Description
AUX 2, CHASSIS, B/U, AUX 1 Circuit Breakers
Lighting Systems Connector End Views