GM Service Manual Online
For 1990-2009 cars only

Clutch Assembly Replacement 6.6L w/RPO MZE

Tools Required

    • J 26455-A Clutch Alignment Arbor
    • J 35990 Clutch Alignment Arbor

Removal Procedure


    Object Number: 792688  Size: SH
  1. Remove the transmission. Refer to Transmission Replacement in Manual Transmission - Medium Duty.
  2. Remove the clutch pressure plate bolts and washers.
  3. Remove the clutch pressure plate (1).
  4. Remove the clutch driven plate (2).
  5. Remove the clutch intermediate plate (3).
  6. Remove the clutch front drive plate (4).
  7. Remove the clutch pilot bearing (5), if necessary.

Inspection


    Object Number: 792690  Size: SH
  1. Remove any grease, dirt or oil from the flywheel surface.

  2. Object Number: 792691  Size: SH
  3. Inspect the following items for wear:
  4. • Smooth are of the input shaft (1)
    • Cross-shafts and bushings (2)
    • Splines on the input shaft (3)
    • Release yoke fingers (5)

    Object Number: 792692  Size: SH
  5. Inspect the mating surfaces of the engine and bellhousing (1, 2), replace as necessary.

Installation Procedure


    Object Number: 792948  Size: SH
  1. Install the clutch pilot bearing, if necessary.
  2. Important: Ensure that the side marked "Flywheel Side" faces the flywheel.

  3. Install the clutch driven rear plate by inserting the J 26455-A or J 35990 (1) through the plate splines and into the pilot shaft.

  4. Object Number: 792952  Size: SH
  5. Install two 3/8 x 16 x 3 inch long guide studs (1).
  6. Important: Ensure that the side marked "Pressure Plate Side" is facing the pressure plate.

  7. Install the clutch intermediate plate over the studs and forward until the plate touches the flywheel.

  8. Object Number: 792953  Size: SH
  9. Remove the J 26455-A or J 35990 .
  10. Important: Ensure that the side marked "Pressure Plate Side" is facing the pressure plate.

  11. Install the J 26455-A orJ 35990 through the splines of the clutch driven rear plate, and insert the J 26455-A or J 35990 with the rear plate into the pilot bearing.
  12. Ensure that the ceramic buttons (1) align with each other as closely as possible, in order to aid the function of the positive roll pins.

  13. Object Number: 792958  Size: SH
  14. Slide the pressure plate over both the guide studs and the J 26455-A orJ 35990 , until it rest against the intermediate plate.

  15. Object Number: 792695  Size: SH
  16. Install 6 clutch pressure plate bolts, with washers, until finger tight.
  17. Remove the2 guide studs, and install the final 2 clutch pressure plate bolts, with washers, finger tight.
  18. Notice: Use the correct fastener in the correct location. Replacement fasteners must be the correct part number for that application. Fasteners requiring replacement or fasteners requiring the use of thread locking compound or sealant are identified in the service procedure. Do not use paints, lubricants, or corrosion inhibitors on fasteners or fastener joint surfaces unless specified. These coatings affect fastener torque and joint clamping force and may damage the fastener. Use the correct tightening sequence and specifications when installing fasteners in order to avoid damage to parts and systems.

  19. Tighten the clutch pressure plate bolts, in the sequence shown.
  20. Tighten

    1. Tighten the clutch pressure plate bolts a first pass to 20 N·m (15 lb ft).
    2. Tighten the clutch pressure plate bolts a final pass to 40 N·m (30 lb ft).
  21. Remove the J 26455-A or J 35990 .

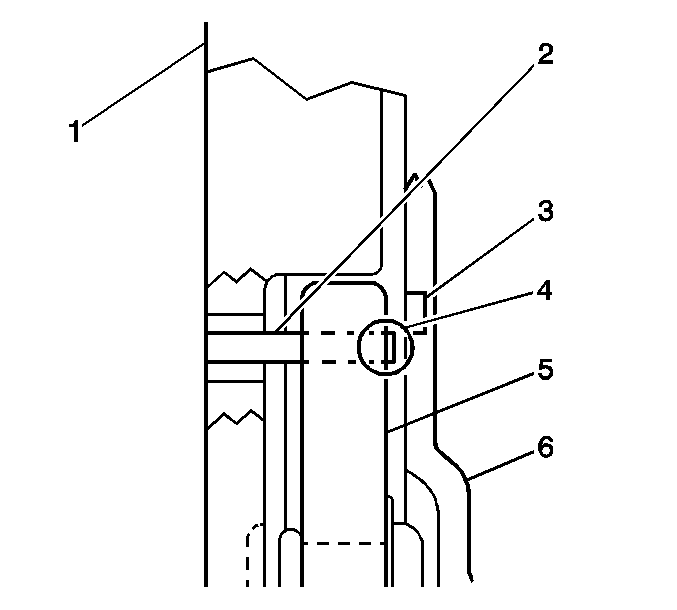
  22. Object Number: 792959  Size: SH
  23. Using a hammer and a flat nose punch, lightly tap the 4 roll pins through the access holes, as shown, of the clutch cover.
  24. Ensure that the roll pins are against the flywheel, this will allow an equal gap on all sides of the intermediate plate during clutch disengagement.

  25. Object Number: 792962  Size: SH

    Important: The roll pins may be damaged of struck with excessive force.

  26. Only a small portion of the roll pin (2) will be visible through the access hole (1) of the pressure plate (3).

  27. Object Number: 792963  Size: SH
  28. When installed correctly, and the roll pins (2) are correctly positioned, there should be a gap (4) between the roll pin and the pressure plate (6). This will allow the intermediate plate (5) to move back and free the front disc.
  29. Specification
    Gap between roll pin and clutch cover 0.5 - 0.8 mm (0.020 - 0.030 in).

  30. Install the transmission. Refer to Transmission Replacement in Manual Transmission - Medium Duty.
  31. Reset the clutch. Refer to Clutch Assembly Adjustment .

Clutch Assembly Replacement 7.2L w/RPO MWM

Tools Required

    • J 26455-A Clutch Alignment Arbor
    • J 35990 Clutch Alignment Arbor

Removal Procedure


    Object Number: 792687  Size: SH
  1. Remove the transmission. Refer to Transmission Replacement in Manual Transmission - Medium Duty.
  2. Remove the clutch pressure plate bolts and washers.
  3. Remove the clutch pressure plate (1).
  4. Remove the clutch driven plate (2).
  5. Remove the clutch pilot bearing (3), if necessary.

Inspection


    Object Number: 792690  Size: SH
  1. Remove any grease, dirt or oil from the flywheel surface.
  2. Inspect the following items for wear:
  3. • Smooth are of the input shaft
    • Splines on the input shaft

    Object Number: 792692  Size: SH
  4. Inspect the mating surfaces of the engine and bellhousing (1, 2), replace as necessary.

Installation Procedure


    Object Number: 792687  Size: SH
  1. Install the clutch pilot bearing, if necessary.
  2. Important: Ensure that the side marked "Flywheel Side" faces the flywheel.

  3. Install the clutch drive plate (2) by inserting the J 26455-A or J 35990 through the plate splines and into the pilot shaft.
  4. Install two clutch locating pins 180 degrees apart on the flywheel.
  5. Install the clutch pressure plate (1) over the alignment pins.

  6. Object Number: 793091  Size: SH
  7. Install 6 clutch pressure plate bolts, with washers, until finger tight.
  8. Remove the 2 locating pins, and install the final 2 clutch pressure plate bolts, with washers, finger tight.
  9. Notice: Use the correct fastener in the correct location. Replacement fasteners must be the correct part number for that application. Fasteners requiring replacement or fasteners requiring the use of thread locking compound or sealant are identified in the service procedure. Do not use paints, lubricants, or corrosion inhibitors on fasteners or fastener joint surfaces unless specified. These coatings affect fastener torque and joint clamping force and may damage the fastener. Use the correct tightening sequence and specifications when installing fasteners in order to avoid damage to parts and systems.

  10. Tighten the clutch pressure plate bolts, in the sequence shown.
  11. Tighten
    Tighten the clutch pressure plate bolts to 54 N·m (40 lb ft).

  12. Remove the J 26455-A or J 35990 .
  13. Install the transmission. Refer to Transmission Replacement in Manual Transmission - Medium Duty.
  14. Reset the clutch. Refer to Clutch Assembly Adjustment .

Clutch Assembly Replacement 6.6L/7.2L w/RPO MTD

Tools Required

    • J 26455-A Clutch Alignment Arbor
    • J 35990 Clutch Alignment Arbor

Removal Procedure


    Object Number: 792685  Size: SH
  1. Remove the transmission. Refer to Transmission Replacement in Manual Transmission - Medium Duty.
  2. Remove the clutch pressure plate bolts and washers.
  3. Remove the clutch pressure plate (1).
  4. Remove the clutch driven plate (3).
  5. Remove the clutch pilot bearing (4), if necessary.

Inspection


    Object Number: 792690  Size: SH
  1. Remove any grease, dirt or oil from the flywheel surface.

  2. Object Number: 792691  Size: SH
  3. Inspect the following items for wear:
  4. • Smooth are of the input shaft (1)
    • Cross-shafts and bushings (2)
    • Splines on the input shaft (3)
    • Release yoke fingers (5)

    Object Number: 792692  Size: SH
  5. Inspect the mating surfaces of the engine and bellhousing (1, 2), replace as necessary.

Installation Procedure


    Object Number: 792693  Size: SH
  1. Install the clutch pilot bearing, if necessary.
  2. Install two 3/8 x 16 x 3 inch long (76 mm) guide studs (1) at the 11 o'clock and 1 o'clock positions on the flywheel.

  3. Object Number: 792694  Size: SH
  4. Apply lubrication to the hub splines.
  5. Install the Title not found or J 35990 (1).
  6. Important: Ensure that the side marked "Pressure Plate Side" faces the pressure plate.

  7. Install the driven plate by sliding the plate over the J 26455-A or J 35990 (1) splines and into the pilot bearing.
  8. Install the clutch pressure plate over the J 26455-A or J 35990 (1) and the guide studs.

  9. Object Number: 792695  Size: SH
  10. Install 6 clutch pressure plate bolts, with washers, until finger tight.
  11. Remove the 2 guide studs, and install the final 2 clutch pressure plate bolts, with washers, finger tight.
  12. Notice: Use the correct fastener in the correct location. Replacement fasteners must be the correct part number for that application. Fasteners requiring replacement or fasteners requiring the use of thread locking compound or sealant are identified in the service procedure. Do not use paints, lubricants, or corrosion inhibitors on fasteners or fastener joint surfaces unless specified. These coatings affect fastener torque and joint clamping force and may damage the fastener. Use the correct tightening sequence and specifications when installing fasteners in order to avoid damage to parts and systems.

  13. Tighten the clutch pressure plate bolts, in the sequence shown.
  14. Tighten

    1. Tighten the clutch pressure plate bolts a first pass to 20 N·m (15 lb ft).
    2. Tighten the clutch pressure plate bolts a final pass to 40 N·m (30 lb ft).

    Object Number: 792696  Size: SH

    Important: Save these bolts for future use. Should the clutch need to be removed and then re-installed, the shipping bolts must be re-installed snugly prior to the clutch removal. If the clutch has been removed, the clutch must be reset.

  15. Using a hex-head socket, remove the four yellow colored shipping bolts in a criss-cross pattern.

  16. Object Number: 792697  Size: SH
  17. Remove the J 26455-A or J 35990 (1).
  18. Install the transmission. Refer to Transmission Replacement in Manual Transmission - Medium Duty.
  19. Reset the clutch. Refer to Clutch Assembly Adjustment .

Clutch Assembly Replacement 8.1L w/RPO MPJ

Tools Required

    • J 26455-A Clutch Alignment Arbor
    • J 35990 Clutch Alignment Arbor

Removal Procedure


    Object Number: 792689  Size: SH
  1. Remove the transmission. Refer to Transmission Replacement in Manual Transmission - Medium Duty.
  2. Remove the clutch pressure plate bolts.
  3. Remove the clutch pressure plate (2).
  4. Remove the clutch driven plate (1).
  5. Remove the clutch pilot bearing, if necessary.

  6. Object Number: 792690  Size: SH
  7. Remove any grease, dirt or oil from the flywheel surface.

Installation Procedure


    Object Number: 792689  Size: SH
  1. Install the clutch pilot bearing, if necessary.
  2. Important: Ensure that the side marked "Flywheel Side" faces the flywheel.

  3. Install the clutch driven plate (1) by inserting the J 26455-A or J 35990 through the plate splines and into the pilot bearing.
  4. Install two clutch locating pins 180 degrees apart on the flywheel.
  5. Install the clutch pressure plate (2) over the alignment pins.

  6. Object Number: 793091  Size: SH

    Notice: Use the correct fastener in the correct location. Replacement fasteners must be the correct part number for that application. Fasteners requiring replacement or fasteners requiring the use of thread locking compound or sealant are identified in the service procedure. Do not use paints, lubricants, or corrosion inhibitors on fasteners or fastener joint surfaces unless specified. These coatings affect fastener torque and joint clamping force and may damage the fastener. Use the correct tightening sequence and specifications when installing fasteners in order to avoid damage to parts and systems.

  7. Install the clutch pressure plate bolts finger tight.
  8. Tighten the clutch pressure plate bolts, in the sequence shown.

    Tighten
    Tighten the clutch pressure plate bolts to 70 N·m (52 lb ft).

  9. Remove the J 26455-A or J 35990 .
  10. Install the transmission. Refer to Transmission Replacement in Manual Transmission - Medium Duty.
  11. Reset the clutch. Refer to Clutch Assembly Adjustment .