GM Service Manual Online
For 1990-2009 cars only
Makes
🢒
Chevrolet
🢒
2002
🢒
Chevrolet C-Series Medium Duty Truck B7
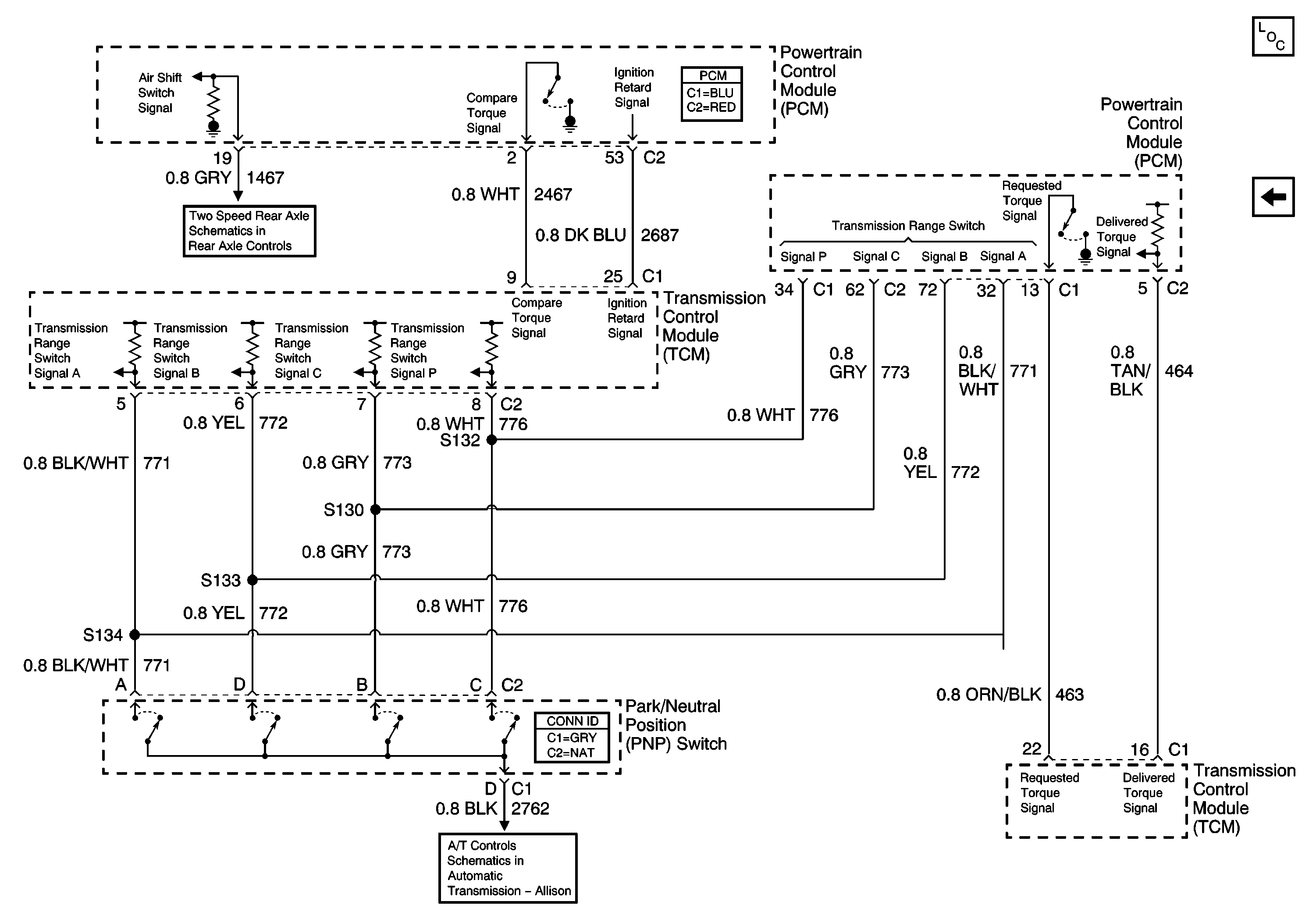
🢒 Park/Neutral Position (PNP) Switch and Transmission Control Module(TCM) (MX4/MTW)
Park/Neutral Position (PNP) Switch and Transmission Control Module(TCM) (MX4/MTW)
Park/Neutral Position (PNP) Switch and Transmission Control Module (TCM) (MX4/MTW)
Master Electrical Component List
Automatic Transmission Modulator Relay and A/T Modulator (MF1)
2001 GMT530 b7 Cell 37 Two Speed Rear Axle
Internal Pressure Switches and Solenoids (MX4/MTW)