GM Service Manual Online
For 1990-2009 cars only
Makes
🢒
Chevrolet
🢒
2002
🢒
Chevrolet C-Series Medium Duty Truck B7
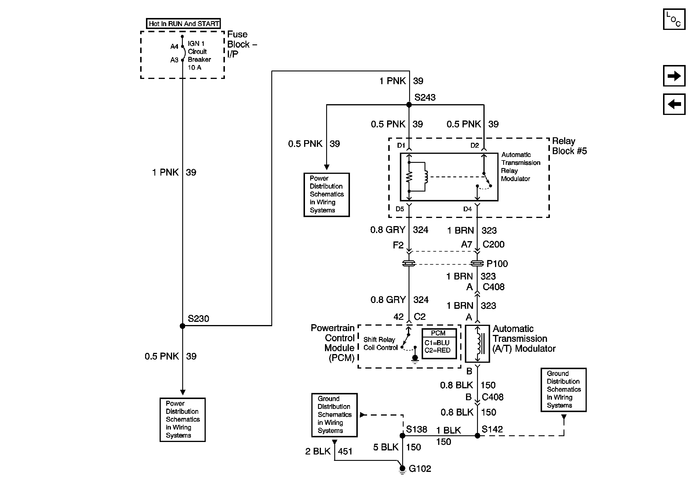
🢒 Automatic Transmission Modulator Relay and A/T Modulator (MF1)
Automatic Transmission Modulator Relay and A/T Modulator (MF1)
Automatic Transmission Modulator Relay and A/T Modulator (MF1)
Master Electrical Component List
Park/Neutral Position (PNP) Switch and Transmission Control Module(TCM) (MX4/MTW)
Clutch, Park/Neutral Position (PNP) and Neutral Safety Switches, Starter Relay and Transmission Control Module (TCM)
IGN 1 Circuit Breaker, S232, S243
IGN 1 Circuit Breaker, S225, S226, S230
S142, S178, S179, S405 and S409 (L18)
G102 and S138 (L18)