GM Service Manual Online
For 1990-2009 cars only
Makes
🢒
Chevrolet
🢒
1999
🢒
Chevrolet C-Series Medium Duty Truck C6/C7/C8
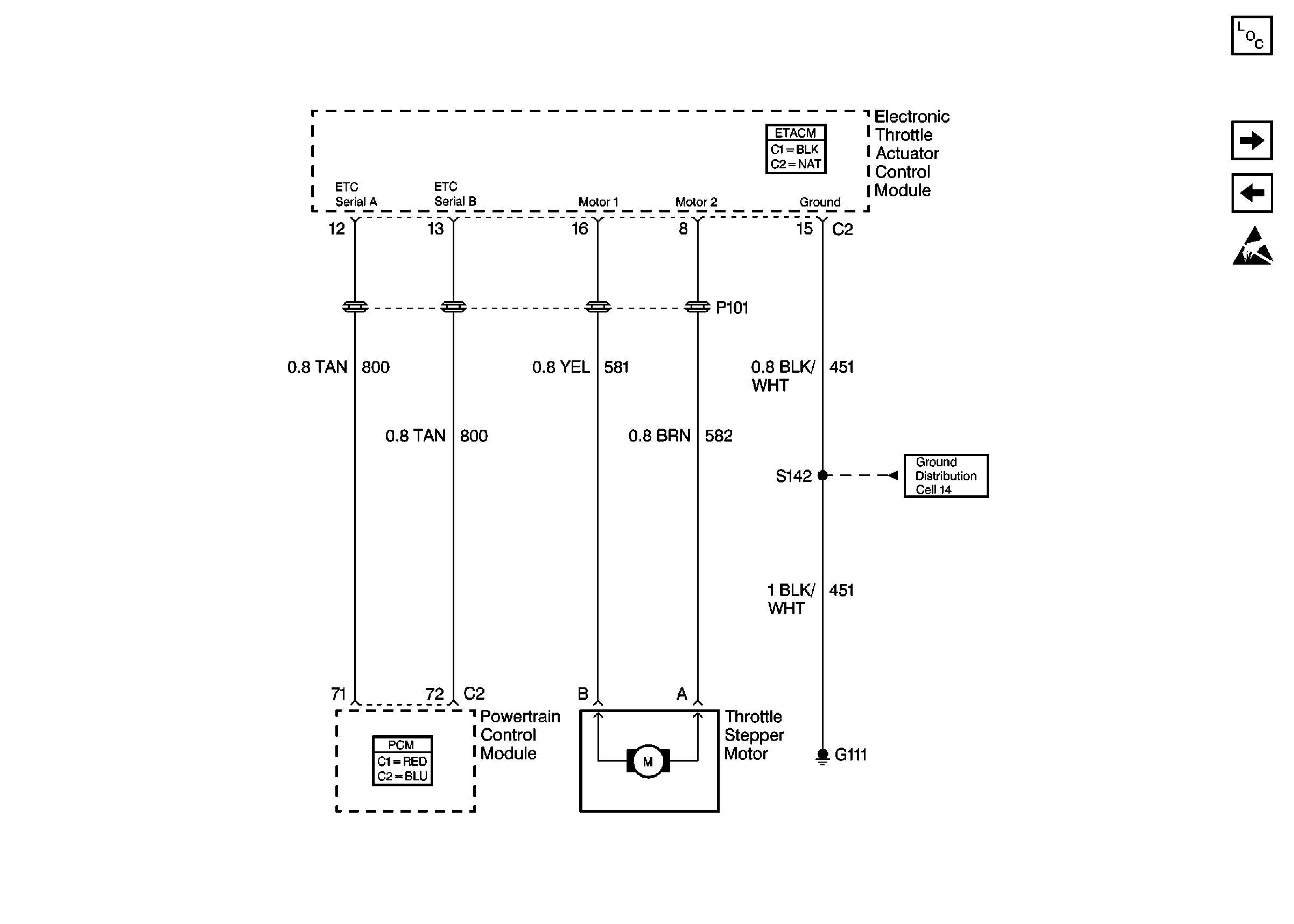
🢒 Cell 20: Throttle Stepper Motor, Electronic Throttle Actuator Control MOdule
Cell 20: Throttle Stepper Motor, Electronic Throttle Actuator Control MOdule
Cell 20: Throttle Stepper Motor, Electronic Throttle Actuator Control Module
Engine Controls Components
Cell 20: Engine Sensors, Exhaust Gas Recirculation Valve
Cell 20: Throttle Position Sensor, Electronic Throttle Actuator Control MOdule, Cruise Control Switch
Handling ESD Sensitive Parts Notice