GM Service Manual Online
For 1990-2009 cars only
Makes
🢒
Chevrolet
🢒
2000
🢒
Chevrolet C-Series Medium Duty Truck C6/C7/C8
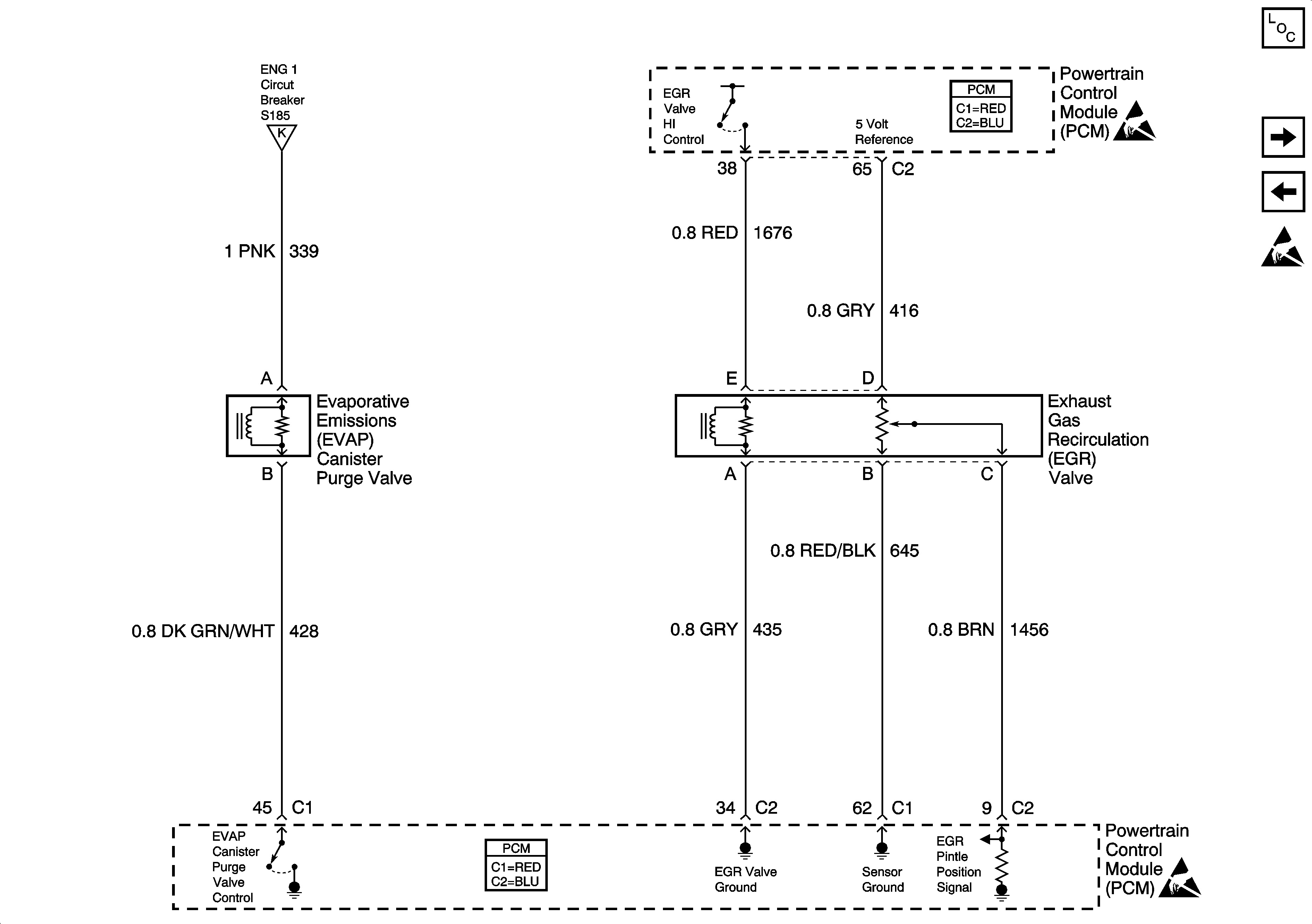
🢒 EGR and EVAP Valves
EGR and EVAP Valves
EGR and EVAP Valves
Engine Controls Components
TAC Module
VSS
Handling ESD Sensitive Parts Notice
HO2S
Powertrain Control Module Connector End Views
Handling ESD Sensitive Parts Notice
Powertrain Control Module Connector End Views
Handling ESD Sensitive Parts Notice