GM Service Manual Online
For 1990-2009 cars only

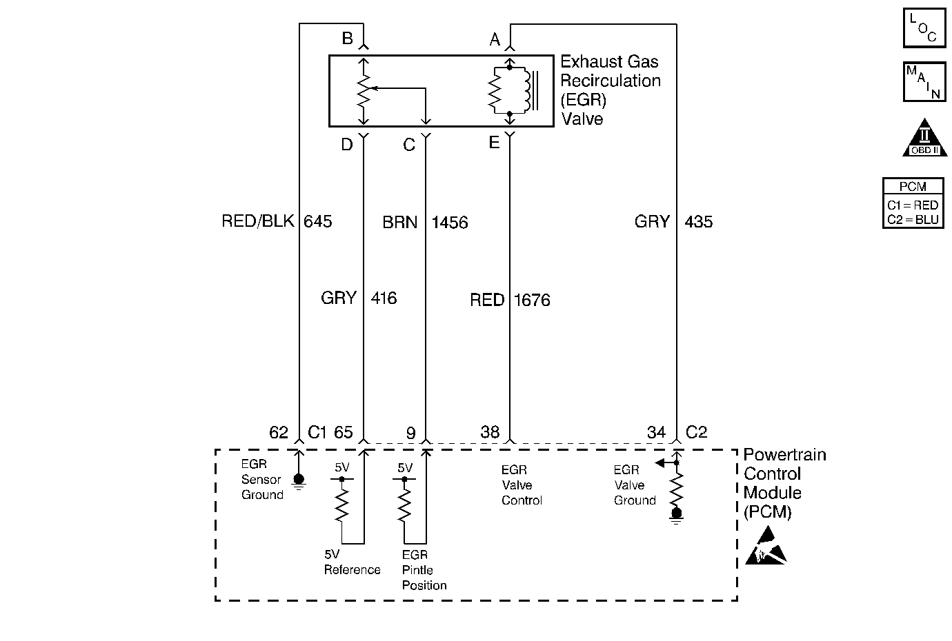
Object Number: 215052  Size: MF
Engine Controls Components
EGR and EVAP Valves
Handling ESD Sensitive Parts Notice

Circuit Description

An exhaust gas recirculation (EGR) system is used to lower oxides of nitrogen (NOx) emission levels caused by high combustion temperatures. It accomplishes this by feeding small amounts of exhaust gases back into the combustion chamber. When the air/fuel mixture is diluted with the exhaust gases, combustion temperatures are reduced.

A linear EGR valve is used on this system. The linear EGR valve is designed to accurately supply exhaust gases to the engine without the use of intake manifold vacuum. The valve controls exhaust flow going into the intake manifold from the exhaust manifold through an orifice with a powertrain control module (PCM) controlled pintle. The PCM controls the pintle position using inputs from the throttle position (TP) and manifold absolute pressure (MAP) sensors. The PCM then commands the EGR valve to operate when necessary by controlling an ignition signal through the PCM. This can be monitored on a scan tool as the desired EGR position.

The PCM monitors the results of its command through a feedback signal. By sending a 5 volt reference and a ground to the EGR valve, a voltage signal representing the EGR valve pintle position is sent to the PCM. This feedback signal can also be monitored on a scan tool and is the actual position of the EGR pintle. The actual EGR position should always be near the commanded or desired EGR position. The PCM monitors the EGR valve pintle position input to ensure that the valve responds properly to commands from the PCM and to detect a fault if the pintle position sensor circuit is open or shorted. If the PCM detects an excessively low EGR Feedback signal voltage.

Conditions for Running the DTC

    • No TP, MAF, HO2S, IAT, or ECT DTCs are set
    • Engine run time met. The time ranges from 45 seconds to 8.5 minutes depending upon engine coolant temperature at startup
    • TP angle is more than 2 percent
    • System voltage is more than 10 volts

Conditions for Setting the DTC

    • EGR Feedback is less than 0.14 volt at any time
    • The condition is present for longer than 20 seconds

Action Taken When the DTC Sets

    • The PCM will illuminate the MIL during the second consecutive trip in which the diagnostic test has been run and failed
    • The PCM will disable EGR for the rest of the ignition cycle
    • The PCM will store conditions which were present when the DTC set as Freeze Frame and Fail Records data

Conditions for Clearing the MIL/DTC

    • The PCM will turn the MIL OFF during the third consecutive trip in which the diagnostic has been run and passed
    • The history DTC will clear after 40 consecutive warm-up cycles have occurred without a malfunction
    • The DTC can be cleared by using the scan tool Clear Information function or by disconnecting the PCM battery feed

Diagnostic Aids

    • Inspect the harness connectors for the following conditions:
       - Backed out terminals
       - Improper mating
       - Broken locks
       - Improperly formed or damaged terminals
    • Inspect the wiring harness for damage. If the harness appears to be OK, connect the DMM and check circuit continuity while moving connectors and wiring harnesses related to the EGR valve. A change in the DMM display will indicate the location of the malfunction.

Test Description

The numbers below refer to the step numbers on the diagnostic table.

  1. Verifies that the malfunction is present.

  2. If DTC P0405 will only set under certain conditions, the malfunction may be intermittent; refer to Diagnostic Aids. If an intermittent wiring problem is not present, check for a poor connection at the PCM or the EGR valve.

  3. This vehicle is equipped with a PCM which utilizes an electrically erasable programmable read only memory (EEPROM). When the PCM is being replaced, the new PCM must be programmed.

DTC P0405 - EGR Valve Pintle Position Circuit Low Voltage

Step

Action

Values

Yes

No

1

Did you perform the Powertrain On-Board Diagnostic (OBD) System Check?

--

Go to Step 2

Go to Powertrain On Board Diagnostic (OBD) System Check

2

  1. Start the engine.
  2. Select the scan tool EGR valve output control function.
  3. Increment the EGR valve through all positions while comparing incremented EGR position to Actual EGR Position.

Does Desired EGR Position remain close to Actual EGR Position at all commanded positions?

--

Go to Step 3

Go to Step 4

3

  1. Review and record scan tool Failure Records data.
  2. Operate the vehicle within Failure Records conditions.
  3. Using a scan tool, monitor Specific DTC info for DTC P0405.

Does the scan tool indicate DTC P0405 failed this ign?

--

Go to Step 4

Go to Diagnostic Aids

4

  1. Disconnect the EGR valve electrical connector.
  2. Connect a DMM to measure voltage between the EGR pintle position sensor ground circuit and the 5 volt reference circuit at the EGR valve connector.

Is the voltage at the specified value?

5 V

Go to Step 5

Go to Step 9

5

Probe the EGR valve pintle position circuit at the EGR valve harness connector with a test light connected to B+.

Is the test light ON?

--

Go to Step 8

Go to Step 6

6

  1. Connect a jumper between the 5 volt reference circuit and the pintle position circuit at the EGR valve connector.
  2. Observe Actual EGR Position on the scan tool.

Is Actual EGR Position at the specified value?

100%

Go to Step 13

Go to Step 7

7

  1. Turn OFF the ignition.
  2. Disconnect the PCM.
  3. Inspect for an open in the EGR valve pintle position circuit.
  4. If a problem is found, repair as necessary. Refer to Wiring Repairs in Wiring Systems.

Was a problem found?

--

Go to Step 19

Go to Step 17

8

  1. Turn OFF the ignition.
  2. Disconnect the PCM.
  3. Probe the EGR valve pintle position circuit with a test light to B+.

Is the test light ON?

--

Go to Step 12

Go to Step 15

9

Probe the 5 volt reference circuit with a test light to B+.

Is the test light ON?

--

Go to Step 10

Go to Step 11

10

  1. Turn OFF the ignition.
  2. Disconnect the PCM.
  3. Probe the 5 volt reference A circuit with a test light to B+.

Is the test light ON?

--

Go to Step 16

Go to Step 18

11

  1. Check for an open in the 5 volt reference A circuit between the PCM and the EGR valve.
  2. If a problem is found, repair as necessary. Refer to Wiring Repairs in Wiring Systems.

Was a problem found?

--

Go to Step 19

Go to Step 17

12

Locate and correct the short to ground in the EGR valve pintle position circuit. Refer to Wiring Repairs in Wiring Systems.

Is action complete?

--

Go to Step 19

--

13

  1. Inspect for the following conditions:
  2. • Poor terminal connections at the EGR valve
    • The EGR pintle position signal circuit shorted to the EGR valve control circuit
  3. If a problem is found, repair as necessary. Refer to Wiring Repairs in Wiring Systems.

Was a problem found?

--

Go to Step 19

Go to Step 14

14

Replace the EGR valve. Refer to Exhaust Gas Recirculation Valve Replacement .

Important: If the EGR valve shows signs of excessive heat, check the exhaust system for blockage (possibly a plugged converter) using the procedure found on the restricted exhaust system check. If the exhaust system is restricted, repair the cause; one of which might be an injector which is open due to one of the following reasons:

    • Stuck
    • Grounded driver circuit
    • Possible faulty control module

If this condition is found, the oil should be checked for possible fuel contamination.

Is action complete?

--

Go to Step 19

--

15

  1. Inspect the EGR valve pintle position circuit for a short to the sensor ground circuit.
  2. If a problem is found, repair as necessary. Refer to Wiring Repairs in Wiring Systems.

Was a problem found?

--

Go to Step 19

Go to Step 18

16

Locate and repair short to ground in the 5 volt reference A circuit. Refer to Wiring Repairs in Wiring Systems.

Is action complete?

--

Go to Step 19

--

17

  1. Inspect the circuits related to the EGR valve for a poor terminal connection at the PCM.
  2. If a problem is found, repair as necessary. Refer to Wiring Repairs in Wiring Systems.

Was a problem found?

--

Go to Step 19

Go to Step 18

18

Important: Program the replacement PCM.

Replace the PCM. Refer to Powertrain Control Module Replacement .

Is action complete?

--

Go to Step 19

--

19

  1. Review and record scan tool Failure Records data.
  2. Clear DTCs.
  3. Operate the vehicle within Failure Records conditions.
  4. Using a scan tool, monitor Specific DTC info for DTC P0405.

Does the scan tool indicate DTC P0405 failed this ignition?

--

Go to Step 2

System OK