GM Service Manual Online
For 1990-2009 cars only

DTC P0502 Vehicle Speed Sensor (VSS) Circuit Low Input Gas Only


Object Number: 522555  Size: LF
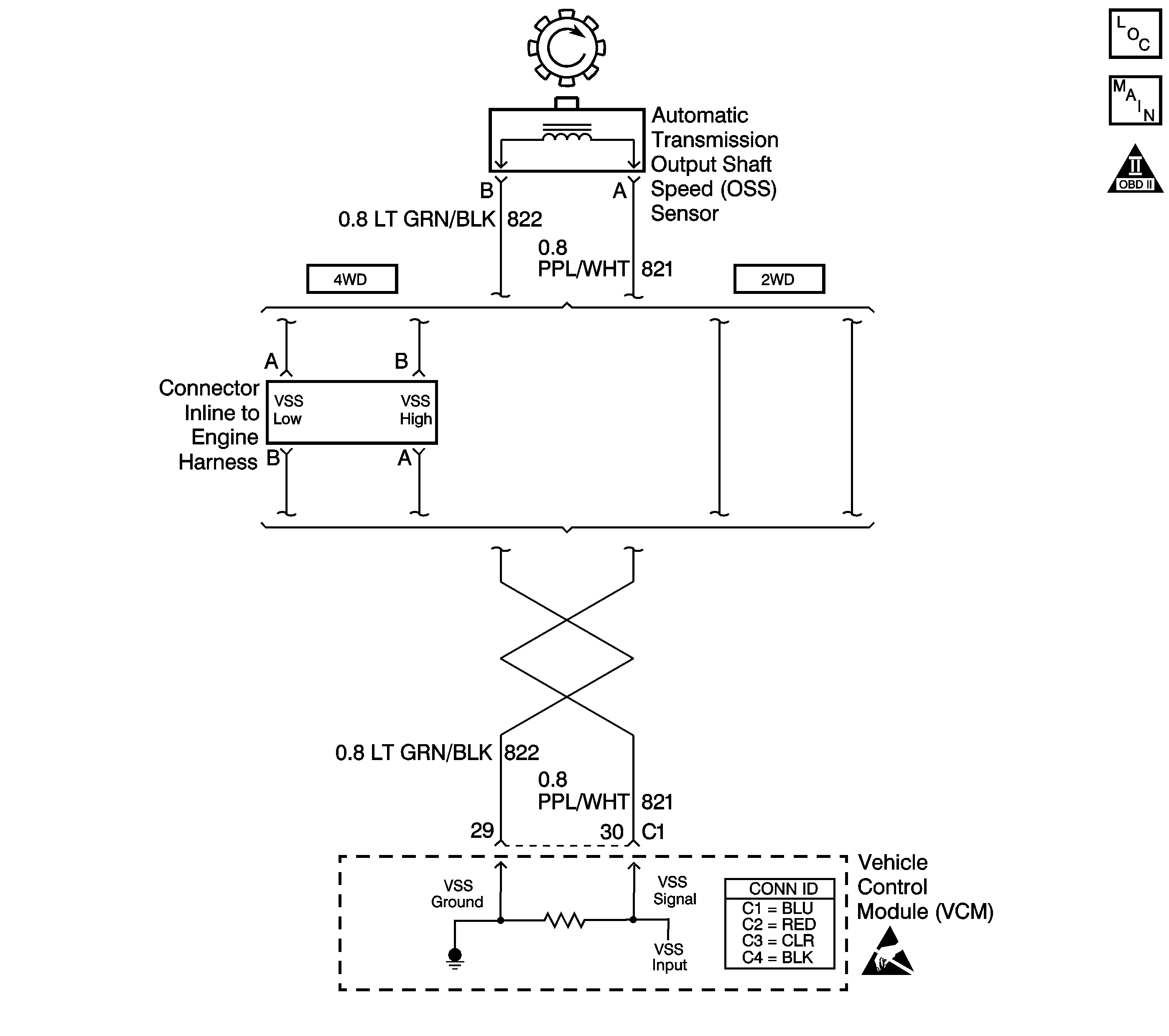
Automatic Transmission Controls Schematics Gas
OBD II Symbol Description Notice
Handling ESD Sensitive Parts Notice

Circuit Description

The output shaft speed (OSS) sensor , which is a permanent magnet (PM) generator, provides the vehicle speed information to the vehicle control module (VCM). The PM generator produces a pulsing AC voltage as the transmission speed sensors rotor teeth pass through the sensor's magnetic field. The AC voltage level and the number of pulses increase as the speed of the vehicle increases. The VCM then converts the pulsing voltage to a digital signal for vehicle speed. The vehicle speed is used for engine and transmission calculations.

If the VCM detects a low vehicle speed and there is a high engine speed in a drive gear range, DTC P0502 sets. DTC P0502 is a type C DTC. For California emissions, DTC P0502 is a type B DTC.

Conditions for Running the DTC

    • No MAF sensor DTCs P0101, P0102 or P0103.
    • No MAP sensor DTCs P0106, P0107 or P0108.
    • No TP sensor DTCs P0122 or P0123.
    • No TFP manual valve position switch DTC P1810.
    • No AT ISS DTC P0716 or P0717.
    • The engine torque must be 60 N·m (80 lb ft) to the following:
       - 542 N·m (400 lb ft) 5.7L
       - 677 N·m (500 lb ft) 7.4L
    • No change in 4WD low for at least 2.0 seconds.
    • The AT ISS is greater than 1500 RPM.
    • The gear range is not PARK or NEUTRAL.
    • TP angle is greater than 10%.
    • The engine is running more than 475 RPM for more than 7 seconds.

Conditions for Setting the DTC

The OSS is less than 25 RPM for at least 4 seconds.

Action Taken When the DTC Sets

    • For California emissions, the VCM illuminates the malfunction indicator lamp (MIL).
    • The VCM commands maximum line pressure.
    • The VCM freezes the shift adapts.
    • The VCM defaults a calculated output speed value by using the ISS values.
    • The VCM stores DTC P0502 in VCM history.

Conditions for Clearing the MIL/DTC

    • For California emissions, the VCM turns OFF the MIL during the third consecutive trip in which the diagnostic test runs and passes.
    • A scan tool clears the DTC from VCM history.
    • For California emissions, the VCM clears the DTC from VCM history if the vehicle completes 40 consecutive warm-up cycles without an emission related diagnostic fault occurring.
    • For Federal emissions, the VCM clears the DTC from VCM history if the vehicle completes 40 consecutive warm-up cycles without a non-emission related diagnostic fault occurring.
    • The VCM cancels the DTC default actions when the fault no longer exists and the ignition switch is OFF long enough in order to power down the VCM.

Diagnostic Aids

    • DTC P0502 sets when no vehicle speed is detected at the start off.
    • Inspect the wiring at the VCM, the OSS sensor connector and all other circuit connecting points for the following conditions:
       - A backed out terminal
       - A damaged terminal
       - Reduced terminal tension
       - A chafed wire
       - A broken wire inside the insulation.
       - Moisture intrusion
       - Corrosion
    • When diagnosing for an intermittent short or open, massage the wiring harness while watching the test equipment for a change.
    • First diagnose and clear any engine DTCs or TP sensor codes. Then inspect for any transmission DTCs that may have reset.

Test Description

The numbers below refer to the step numbers on the diagnostic table.

  1. This step tests for voltage in the 822 low circuit.

  2. This step tests the 5-volt and ground circuit of the VCM.

  3. This step tests the integrity of the OSS sensor.

  4. This step tests the OSS circuit.

DTC P0502

Step

Action

Value(s)

Yes

No

1

Did you perform the Powertrain Diagnostic System Check?

--

Go to Step 2

Go to Powertrain On Board Diagnostic (OBD) System Check 5.0/5.7L or Powertrain On Board Diagnostic (OBD) System Check 7.4L

2

  1. Install a Scan Tool .
  2. With the engine OFF, turn the ignition switch to the RUN position.
  3. Important: Before clearing the DTC, use the scan tool in order to record the Freeze Frame and Failure Records. Using the Clear Info function erases the Freeze Frame and Failure records from the VCM.

  4. Record the Freeze Frame and Failure Records.
  5. Clear the DTC.
  6. Raise and support the drive axle assembly.
  7. Place the Transmission in NEUTRAL.
  8. Observe the transmission OSS on the Scan Tool , while rotating a drive wheel.

Ensuring that the drive shaft is rotating, does the Transmission OSS increase with the drive wheel speed?

--

Go to Diagnostic Aids

Go to Step 3

3

  1. Turn the ignition OFF.
  2. Disconnect the OSS sensor harness connector from the sensor.
  3. Turn the ignition switch to the RUN position.
  4. Using the J 39200 digital multimeter (DMM) on DC volts and J 35616 connector test adapter kit, measure the voltage between the OSS sensor harness connector terminal A and a good ground.

Is the voltage within the specified value?

4.0-5.1 volts DC

Go to Step 4

Go to Step 5

4

With the ignition switch in the RUN position, measure the voltage between terminal B of the OSS sensor harness connector and a good ground.

Is the voltage less than the specified value?

0.2 volts

Go to Step 6

Go to Step 12

5

Was the voltage reading in Step 3 greater than the specified value?

5.1 volts

Go to Step 12

Go to Step 7

6

With the ignition switch in the RUN position, measure the voltage between terminals A and B of the OSS sensor harness connector.

Is the voltage within the specified value?

4.0-5.1 volts

Go to Step 10

Go to Step 8

7

Important: The condition that affects this circuit may exist in other connecting branches of the circuit. Refer to Power Distribution Schematics in Wiring Systems for complete circuit distribution.

Important: 4 wheel drive vehicles use an in-line connector between the engine harness and the OSS sensor harness at the transfer case.

Inspect circuit 821 (PPL/WHT) for high resistance or an open circuit.

Was a condition found?

--

Go to Step 18

Go to Step 9

8

Important: The condition that affects this circuit may exist in other connecting branches of the circuit. Refer to Power Distribution Schematics in Wiring Systems for complete circuit distribution.

Important: 4 wheel drive vehicles use an in-line connector between the engine harness and the OSS sensor harness at the transfer case.

Inspect circuit 822 (LT GRN/BLK) for an open circuit between the connector and the VCM.

Was the condition found?

--

Go to Step 18

Go to Step 13

9

Important: The condition that affects this circuit may exist in other connecting branches of the circuit. Refer to Power Distribution Schematics in Wiring Systems for complete circuit distribution.

Inspect circuit 821 (PPL/WHT) for a short to ground.

Was the condition found?

--

Go to Step 18

Go to Step 13

10

Using the J 39200 DMM, measure the resistance between terminals  A and B of the OSS sensor.

Is the resistance within the specified value?

1042-2088ohms

Go to Step 11

Go to Step 17

11

  1. Place the transmission in NEUTRAL.
  2. With the J 39200 DMM on terminals A and B, select the AC volts.
  3. Rotate the rear wheels ensuring that the driveshaft is turning.

Is the voltage greater than the specified value?

0.5 volts AC

Go to Step 13

Go to Step 15

12

    Important: The condition that affects this circuit may exist in other connecting branches of the circuit. Refer to Power Distribution Schematics in Wiring Systems for complete circuit distribution.

  1. Inspect circuit 821 (PPL/WHT) for a short to voltage B+.
  2. Inspect circuit 822 (LT GRN/BLK) for a short to voltage B+.
  3. Inspect circuits 821 (PPL/WHT) and 822 (LT GRN/BLK) for a short together.

Was the condition found?

--

Go to Step 18

Go to Step 14

13

  1. Reconnect the OSS sensor connector to the OSS sensor.
  2. With the ignition OFF disconnect the VCM connector C1.
  3. Connect the J 39200 DMM to terminals C1-29 and C1-30.
  4. While rotating the rear wheels and ensuring that the driveshaft is turning, measure the voltage with the J 39200 DMM on AC volts.

Is the voltage greater than the specified value?

0.5 volts AC

Go to Step 14

--

14

Inspect the VCM pins and C1 terminals for corrosion or poor tension.

Was the condition found?

--

Go to Step 18

Go to Step 16

15

  1. Remove the OSS.
  2. Inspect the output shaft speed sensor rotor for damage or misalignment.
  3. Refer to Transmission Overhaul in the 4L80-E Section of the Transmission Unit Repair Manual.

Was the condition found?

--

Go to Step 18

Go to Step 17

16

Replace the VCM.

Refer to VCM Replacement/Programming (5.7L) or VCM Replacement/Programming (7.4L) in Engine Controls.

Is the replacement complete?

--

Go to Step 18

--

17

Replace the OSS sensor.

Refer to Vehicle Speed Sensor Replacement .

Is the replacement complete?

--

Go to Step 18

--

18

Perform the following procedure in order to verify the repair:

  1. Select DTC.
  2. Select Clear Info.
  3. Operate the vehicle so that the transmission OSS is greater than 500 RPM for 1 second.
  4. Select Specific DTC.
  5. Enter DTC P0502.

Has the test run and passed?

--

System OK

Go to Step 1