GM Service Manual Online
For 1990-2009 cars only

DTC P0753 1-2 Shift Solenoid Circuit Electrical Gas


Object Number: 522584  Size: MF
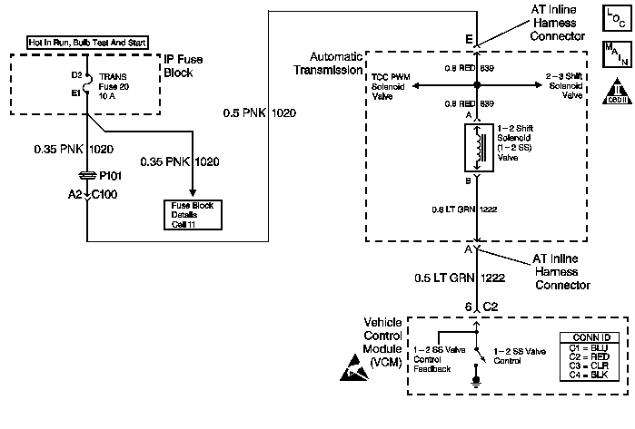
Automatic Transmission Controls Schematics Gas
OBD II Symbol Description Notice
Handling ESD Sensitive Parts Notice

Circuit Description

The 1-2 shift solenoid (SS) valve controls the fluid flow action on the 1-2 and the 3-4 shift valves. The 1-2 SS valve is a normally-open exhaust valve that is used with the 2-3 SS valve to allow for four different shifting combinations. The 1-2 SS valve attaches to the control valve body within the transmission. The ignition voltage goes directly to the 1-2 SS valve. The VCM controls the 1-2 SS valve by providing the ground path through circuit 1222.

When the vehicle control module (VCM) detects a continuous open or short in the 1-2 SS valve circuit or the 1-2 SS valve, then DTC P0753 sets. DTC P0753 is a type C DTC. For California emissions vehicles, DTC P0753 is a type A DTC.

Conditions for Running the DTC

    • The system voltage is 10-16 volts.
    • The ignition is ON.
    • The engine runs more than 475 RPM for greater than 7 seconds.

Conditions for Setting the DTC

All conditions for running the DTC are met, and either of the following conditions occur for 4.3 out of 5 seconds.

    • The VCM commands the solenoid on, and the voltage input remains high (B+).
    • The VCM commands the solenoid off and the voltage input remains low.

Action Taken When the DTC Sets

    • The VCM illuminates the malfunction indicator lamp (MIL) for California emissions vehicles.
    • The VCM commands maximum line pressure.
    • The VCM freezes shift adapts.
    • The VCM inhibits 3-2 downshifts above 25 MPH.
    • The VCM stores DTC P0753 in VCM history.

Conditions for Clearing the MIL/DTC

    • For California emissions, the VCM turns OFF the MIL during the third consecutive trip in which the diagnostic test runs and passes.
    • A scan tool clears the DTC from VCM history.
    • For California emissions, the VCM clears the DTC from VCM history if the vehicle completes 40 consecutive warm-up cycles without an emission related diagnostic fault occurring.
    • For Federal emissions, the VCM clears the DTC from VCM history if the vehicle completes 40 consecutive warm-up cycles without a non-emission related diagnostic fault occurring.
    • The VCM cancels the DTC default actions when the fault no longer exists and the ignition switch is OFF long enough in order to power down the VCM.

Diagnostic Aids

    • Inspect the wiring at the VCM, the transmission connector and all other circuit connecting points for the following conditions:
       - A backed out terminal
       - A damaged terminal
       - Reduced terminal tension
       - A chafed wire
       - A broken wire inside the insulation
       - Moisture intrusion
       - Corrosion
    • When diagnosing for an intermittent short or open, massage the wiring harness while watching the test equipment for a change.
    • An open ignition feed on circuit 1020 can cause multiple DTCs to set.
    • First diagnose and clear any engine DTCs or TP sensor codes that are present. Then inspect for any transmission DTCs that may have reset.
    • Refer to Shift Solenoid Valve State and Gear Ratio table.

Test Description

The numbers below refer to the step numbers on the diagnostic table.

  1. This step tests the function of the 1-2 SS valve and the internal wiring harness.

  2. This step tests the power to the 1-2 SS valve from the ignition through the fuse.

  3. This step tests the ability of the VCM and the wiring to control the ground circuit.

  4. This step measures the resistance of the automatic transmission wiring harness assembly and the 1-2 SS valve.

P0753

Step

Action

Value(s)

Yes

No

1

Did you perform the Powertrain Diagnostic System Check?

--

Go to Step 2

Go to Powertrain On Board Diagnostic (OBD) System Check 5.0/5.7L or Powertrain On Board Diagnostic (OBD) System Check 7.4L

2

  1. Install a Scan Tool .
  2. With the engine OFF, turn the ignition switch to the RUN position.
  3. Important: Before clearing the DTC, use the scan tool in order to record the Freeze Frame and Failure Records. Using the Clear Info function erases the Freeze Frame and Failure Records from the VCM.

  4. Record the Freeze Frame and Failure Records.
  5. Clear the DTC.

Were DTC P0758, or P1860 also set?

--

Go to Step 3

Go to Step 4

3

  1. Inspect the transmission fuse.
  2. If an open fuse is found, inspect the following components for a short to ground:
  3. • Circuit 1020 (PNK)
    • The 3 solenoids
    • The automatic transmission wiring harness assembly
  4. Repair the circuit, the solenoid, and replace the harness if necessary.
  5. Refer to Wiring Repairs in Wiring Systems.

Was the condition found?

--

Go to Step 16

Go to Step 4

4

Using the transmission output control function on the scan tool, command the 1-2 SS valve ON and OFF three times while listening to the bottom of the transmission pan (use a stethoscope if needed).

Does the solenoid click when commanded?

--

Go to Diagnostic Aids

Go to Step 5

5

  1. Turn the ignition OFF.
  2. Disconnect the transmission 20-way connector (additional DTCs will set).
  3. Install the J 44152 jumper harness (20 pins) on the engine harness connector.
  4. With the engine OFF, turn the ignition switch to the RUN position.
  5. Connect a 12 volt test lamp from the J 44152 cavity E to ground.

Is the test lamp on?

--

Go to Step 7

Go to Step 6

6

Repair the open or high resistance in ignition feed circuit 1020 (PNK) to the 1-2 SS valve.

Refer to Wiring Repairs in Wiring Systems.

Is the repair complete?

--

Go to Step 16

--

7

  1. Install a 12 volt test lamp between cavities E and A of the J 44152 .
  2. Using the transmission output control function, command the 1-2 SS valve ON and OFF three times.

Does the test lamp illuminate when you command the shift solenoid ON and turn off when you command the shift solenoid OFF?

--

Go to Step 10

Go to Step 8

8

Inspect circuit 1222 (LT GRN) for an open or short to ground.

Refer to General Electrical Diagnosis in Wiring Systems.

Was the condition found?

--

Go to Step 16

Go to Step 9

9

Replace the VCM.

Refer to VCM Replacement/Programming (5.7L) or VCM Replacement/Programming (7.4L) in Engine Controls.

Is the replacement complete?

--

Go to Step 16

--

10

  1. Turn the ignition OFF.
  2. Install J 44152 on the transmission 20-way connector (Automatic Transmission Connector End View).
  3. With the J 39200 digital multimeter (DMM) and the J 35616 connector test adapter kit , measure the resistance between terminals A and E.

Is the resistance within the specified values?

19-31ohms

Go to Step 12

Go to Step 11

11

  1. Disconnect the automatic transmission wiring harness assembly from the 1-2 SS valve.
  2. Measure the resistance of the 1-2 SS valve.

Is the resistance within the specified values?

19-31ohms

Go to Step 14

Go to Step 15

12

  1. Measure the resistance between terminal A and ground. Use the J 39200 DMM.
  2. Measure the resistance between terminal E and ground.

Are both readings greater than the specified value?

250kohms

Go to Diagnostic Aids

Go to Step 13

13

  1. Disconnect the automatic transmission wiring harness assembly from the 1-2 SS valve.
  2. Measure the resistance from the component's terminals to ground.

Are both readings greater than the specified value?

250kohms

Go to Step 14

Go to Step 15

14

Replace the automatic transmission wiring harness assembly.

Refer to AT Wiring Harness Replacement.

Is the replacement complete?

--

Go to Step 16

--

15

Replace the 1-2 SS valve.

Refer to Control Valve Body Replacement .

Is the replacement complete?

--

Go to Step 16

--

16

Perform the following procedure in order to verify your repair:

  1. Select DTC.
  2. Select Clear Info.
  3. Select the parameters 1-2 Solenoid and 1-2 Solenoid Open/Shorted to GND, and 1-2 Solenoid Shorted to Volts.
  4. Operate the vehicle under the following conditions:
  5. • The VCM commands the 1-2 SS valve ON, and the 1-2 Solenoid Shorted to Volts is NO.
    • The VCM commands the 1-2 SS valve OFF, and the 1-2 Solenoid Open/Shorted to GND is NO.
    • All conditions met for 5 seconds.
  6. Select Specific DTC.
  7. Enter DTC P0753.

Has the test run and passed?

--

System OK

Go to Step 1

DTC P0753 1-2 Shift Solenoid Circuit Electrical Diesel


Object Number: 523420  Size: MF
Automatic Transmission Controls Schematics Diesel
OBD II Symbol Description Notice
Handling ESD Sensitive Parts Notice

Circuit Description

The 1-2 shift solenoid (1-2 SS) valve controls the fluid flow acting on the 1-2 and the 3-4 shift valves. The 1-2 SS valve is a normally-open exhaust valve that is used with the 2-3 shift solenoid (2-3 SS) valve in order to allow four different shifting combinations. The 1-2 SS valve attaches to the control valve body within the transmission. The ignition voltage goes directly to the 1-2 SS valve. The powertrain control module (PCM) controls the 1-2 SS valve by providing the ground path through circuit 1222.

If the PCM detects a continuous open or short to ground in the 1-2 SS valve circuit or the 1-2 SS valve, then DTC P0753 sets. DTC P0753 is a type A DTC.

Conditions for Running the DTC

    • The engine runs more than 475 RPM for greater than 7 seconds.
    • System voltage is 8.0-18.0 volts.

Conditions for Setting the DTC

The above conditions are met and either of the following conditions occur for 4.3 out of 5 seconds:

    • The PCM commands the solenoid ON and the voltage input remains high (B+).
    • The PCM commands the solenoid OFF and the voltage input remains low (0 volts).

Action Taken When the DTC Sets

    • The PCM illuminates the malfunction indicator lamp (MIL).
    • The PCM commands maximum line pressure.
    • The PCM freezes shift adapts.
    • The PCM records the operating conditions when the Conditions for Setting the DTC are met. The PCM stores this information as Feeze Frame and Failure Records.
    • The PCM stores DTC P0753 in PCM history.

Conditions for Clearing the MIL/DTC

    • For Federal and California emissions, the PCM turns OFF the MIL during the third consecutive trip in which the diagnostic test runs and passes.
    • A scan tool clears the DTC from PCM history.
    • For Federal and California emissions, the PCM clears the DTC from PCM history if the vehicle completes 40 consecutive warm-up cycles without an emission related diagnostic fault occurring.
    • For vehicles equal to or greater than 15,000 lbs GVW, the PCM clears the DTC from PCM history if the vehicle completes 40 consecutive warm-up cycles without a non-emission related diagnostic fault occurring.
    • The PCM cancels the DTC default actions when the fault no longer exists and the ignition switch is OFF long enough in order to power down the PCM.

Diagnostic Aids

    • First diagnose and clear any engine DTCs that are present. Then inspect for any transmission DTCs that may have reset.
    • An open ignition feed circuit can cause multiple DTCs to set.
    • Refer to Shift Solenoid Valve State and Gear Ratio table.
    • Inspect the connectors at the PCM, the AT wiring harness and all other circuit connecting points for an intermittent condition. Refer to Testing for Intermittent Conditions and Poor Connections in Wiring Systems.
    • Inspect the circuit wiring for an intermittent condition. Refer to Testing for Electrical Intermittents in Wiring Systems.

Test Description

The numbers below refer to the step numbers on the diagnostic table.

  1. This step tests the function of the 1-2 SS valve and the automatic transmission wiring harness assembly.

  2. This step tests the power to the 1-2 SS valve from the ignition through the fuse.

  3. This step measures the resistance of the 1-2 SS valve.

P0753

Step

Action

Value(s)

Yes

No

1

Did you perform the Powertrain Diagnostic System Check?

--

Go to Step 2

Go to Powertrain On Board Diagnostic (OBD) System Check

2

  1. Install a Scan Tool .
  2. Turn ON the ignition, with the engine OFF.
  3. Important: Before clearing the DTC, use the scan tool in order to record the Freeze Frame and Failure Records for reference. The Clear Info function will erase the data.

  4. Record the Freeze Frame and Failure Records.
  5. Clear the DTC.

Are any of the following DTCs set?

    • P0758
    • P1860

--

Go to Step 3

Go to Step 4

3

Inspect the transmission fuse for an open.

Is the fuse open?

--

Go to Step 12

Go to Step 5

4

Use the scan tool in order to command the 1-2 SS valve ON and OFF three times while listening to the bottom of the transmission pan (a stethoscope may be necessary).

Does the solenoid click when commanded?

--

Go to Diagnostic Aids

Go to Step 5

5

  1. Turn OFF the ignition.
  2. Disconnect the AT inline 20-way connector (additional DTCs may set).
  3. Install the J 44152 jumper harness (20 pins) on the engine side of the AT inline 20-way connector.
  4. Turn ON the ignition, with the engine OFF.
  5. Using the J 35616 connector test adapter kit, connect a test lamp from terminal E of the J 44152 to ground. Refer to Automatic Transmission Inline Harness Connector End View .

Does the test lamp illuminate?

--

Go to Step 6

Go to Step 15

6

  1. Connect a test lamp between terminal E and A of the J 44152 . Refer to Automatic Transmission Inline Harness Connector End View .
  2. Use the Scan Tool in order to command the 1-2 valve ON and OFF three times.

Does the test lamp turn ON and OFF with each command?

--

Go to Step 8

Go to Step 7

7

Is the test lamp always ON?

--

Go to Step 16

Go to Step 17

8

  1. Install the J 44152 on the transmission side of the AT inline 20-way connector.
  2. Using the J 39200 digital multimeter (DMM) and the J 35616 , measure the resistance between terminal A and terminal E of the J 44152 . Refer to Automatic Transmission Inline Harness Connector End View .

Does the resistance measure within the specified range?

19-31

Go to Step 9

Go to Step 10

9

Measure the resistance from terminal A to ground and terminal E to ground.

Do both readings measure greater than the specified value?

250K

Go to Diagnostic Aids

Go to Step 11

10

  1. Disconnect the AT wiring harness assembly from the 1-2 SS valve.
  2. Measure the resistance of the 1-2 SS valve.

Does the resistance measure within the specified range?

19-31

Go to Step 18

Go to Step 19

11

Measure the resistance from terminal A to ground and terminal E to ground.

Do both readings measure greater than the specified value?

250K

Go to Step 18

Go to Step 19

12

Important: The condition that affects this circuit may exist in other connecting branches of the circuit. Refer to Power Distribution Schematics in Wiring Systems for complete circuit distribution.

Test the power feed circuit (CKT 1020) of the 1-2 SS valve for a short to ground between the IP fuse block and the AT inline 20-way connector. Refer to Circuit Testing and Wiring Repairs in Wiring Systems.

Did you find and correct the condition?

--

Go to Step 21

Go to Step 13

13

Important: The condition that affects this circuit may exist in other connecting branches of the circuit. Refer to Power Distribution Schematics in Wiring Systems for complete circuit distribution.

Test the power feed circuit (CKT 839) of the 1-2 SS valve for a short to ground between the AT inline 20-way connector and the 1-2 SS valve. Refer to Circuit Testing and Wiring Repairs in Wiring Systems.

Did you find a short to ground condition?

--

Go to Step 18

Go to Step 14

14

  1. Test each solenoid for a short to ground.
  2. Replace the faulty solenoid as necessary.

Did you complete the replacement?

--

Go to Step 21

--

15

Important: The condition that affects this circuit may exist in other connecting branches of the circuit. Refer to Power Distribution Schematics in Wiring Systems for complete circuit distribution.

Test the power feed circuit (CKT 1020) of the 1-2 SS valve for an open. Refer to Circuit Testing and Wiring Repairs in Wiring Systems.

Did you find and correct the condition?

--

Go to Step 21

--

16

Test the control circuit (CKT 1222) of the 1-2 SS valve for a short to ground between the PCM connector C3 and the AT inline 20-way connector. Refer to Circuit Testing and Wiring Repairs in Wiring Systems.

Did you find and correct the condition?

--

Go to Step 21

Go to Step 20

17

Test the control circuit (CKT 1222) of the 1-2 SS valve for an open or short to power between the PCM connector C3 and the AT inline 20-way connector. Refer to Circuit Testing and Wiring Repairs in Wiring Systems.

Did you find and correct the condition?

--

Go to Step 21

Go to Step 20

18

Replace the AT wiring harness assembly from the 1-2 SS valve.

Refer to TCC PWM Solenoid, TCC Solenoid and Wiring Harness Replacement.

Did you complete the replacement?

--

Go to Step 21

--

19

Replace the 1-2 SS valve. Refer to Control and Shift Solenoids Replacement.

Did you complete the replacement?

--

Go to Step 21

--

20

Replace the PCM. Refer to Powertrain Control Module Replacement/Programming in Engine Controls.

Did you complete the replacement?

--

Go to Step 21

--

21

Perform the following procedure in order to verify the repair:

  1. Select DTC.
  2. Select Clear Info.
  3. Drive the vehicle in D4 and ensure that the following conditions are met:
  4. • The PCM commands the 1-2 SS valve ON and the voltage input drops to zero.
    • The PCM commands the 1-2 SS valve OFF and the voltage input increases to B+.
    • All conditions are met for 5 seconds.
  5. Select Specific DTC.
  6. Enter DTC P0753.

Has the test run and passed?

--

System OK

Go to Step 1