GM Service Manual Online
For 1990-2009 cars only

DTC P0716 Input Speed Sensor Circuit Intermittent Gas


Object Number: 522574  Size: MF
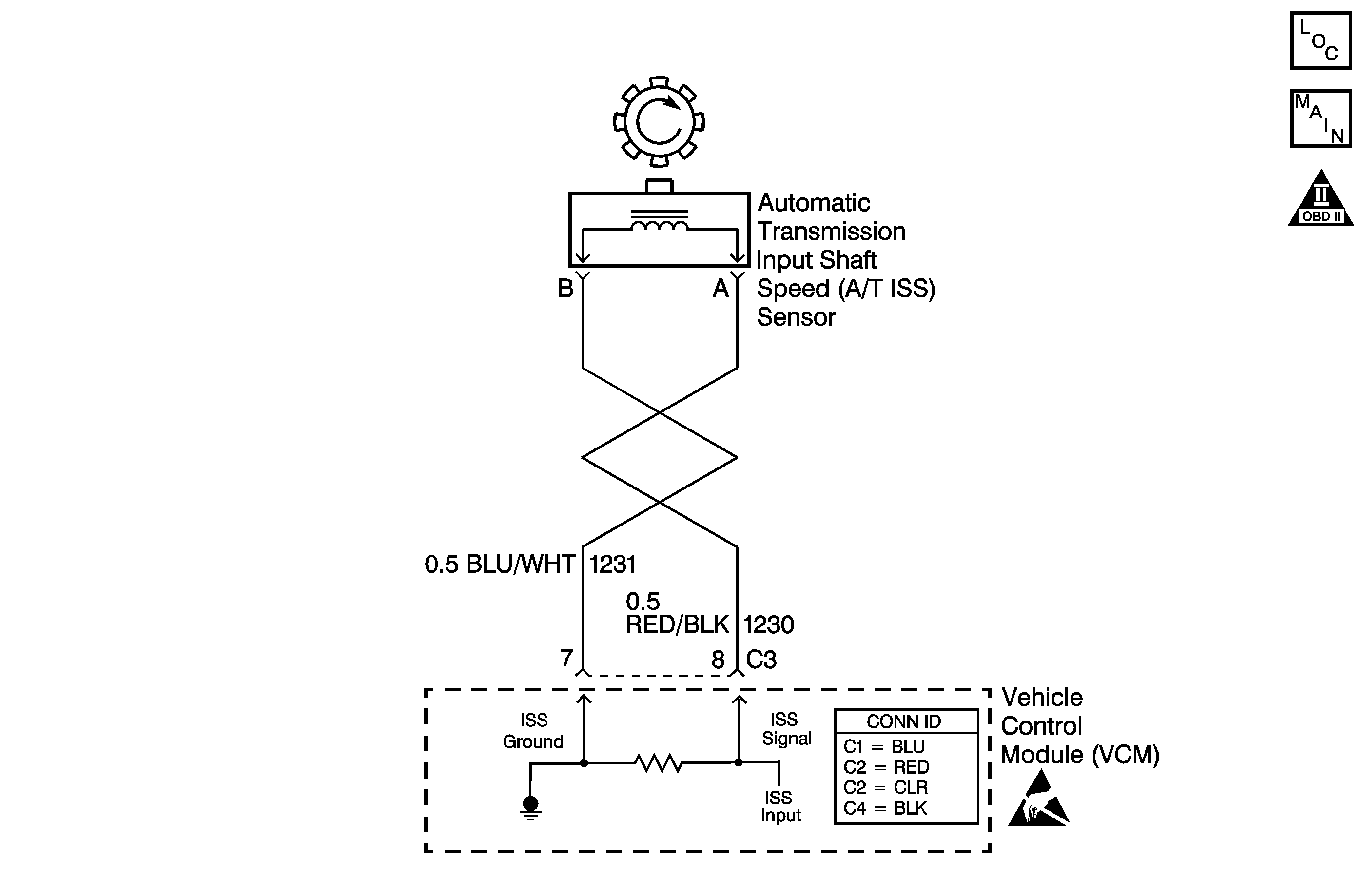
Automatic Transmission Controls Schematics Gas
OBD II Symbol Description Notice
Handling ESD Sensitive Parts Notice

Circuit Description

The automatic transmission input (shaft) speed (AT ISS) sensor provides transmission input speed to the vehicle control module (VCM). The AT ISS sensor is a permanent magnet (PM) generator. The sensor mounts into the transmission case and maintains a slight air gap between the sensor and the forward clutch housing. The PM generator produces an AC voltage as the forward clutch housing rotor teeth pass through the sensor's magnetic field. The AC voltage level increases as the turbine shaft speed increases. The VCM converts the AC voltage into a digital signal. The VCM determines actual turbine speed using the digital signal. The VCM uses the input speed to calculate torque converter slip speed, and gear ratios.

When the VCM detects an unreasonably large change in the input speed, in a very short period of time, then DTC P0716 sets. DTC P0716 is a type C DTC. For California emissions vehicles, DTC P0716 is a type B DTC.

Conditions for Running the DTC

    • No throttle position (TP) sensor DTCs P0121, P0122 or P0123.
    • No OSS DTC P0502 or P0503.
    • No AT ISS DTC P0717.
    • No shift solenoid DTC P0751 or P0753.
    • The TP is greater than 10%.
    • The vehicle speed is greater than 25 mph.
    • The engine is running greater than 475 RPM for more than 7 seconds.

Conditions for Setting the DTC

    • The transmission is not in PARK or NEUTRAL.
    • The input speed varies by 1200 RPM for greater than 5 seconds.

Action Taken When the DTC Sets

    • For California emission vehicles only, the VCM illuminates the malfunction indicator lamp (MIL).
    • The VCM commands maximum line pressure.
    • The VCM freezes shift adapts.
    • The VCM stores DTC P0716 in VCM History.

Conditions for Clearing the MIL/DTC

    • For California emissions, the VCM turns OFF the MIL during the third consecutive trip in which the diagnostic test runs and passes.
    • A scan tool clears the DTC from VCM history.
    • For California emissions, the VCM clears the DTC from VCM history if the vehicle completes 40 consecutive warm-up cycles without an emission related diagnostic fault occurring.
    • For Federal emissions, the VCM clears the DTC from VCM history if the vehicle completes 40 consecutive warm-up cycles without a non-emission related diagnostic fault occurring.
    • The VCM cancels the DTC default actions when the fault no longer exists and the ignition switch is OFF long enough in order to power down the VCM.

Diagnostic Aids

    • Inspect the wiring at the VCM, the OSS connector and all other circuit connecting points for the following:
       - A backed out terminal
       - A damaged terminal
       - Reduced terminal tension
       - A chafed wire
       - A broken wire inside the insulation
       - Moisture intrusion
       - Corrosion
       - The AT ISS sensor harness being near the DIS components or the ignition wires
    • When diagnosing for an intermittent short or open, massage the wiring harness while watching the test equipment for a change.
    • First diagnose and clear any engine DTCs or TP sensor codes that are present. Then inspect for any transmission DTCs that may have reset.

Test Description

The numbers below refer to the step numbers on the diagnostic table.

  1. This step tests for proper operation to the AT ISS sensor.

  2. This step tests for proper AT ISS circuit operation up to the VCM connections. Remove the fuel pump relay in order to eliminate a flooding condition during this step.

DTC P0716

Step

Action

Value(s)

Yes

No

1

Did you perform the Powertrain Diagnostic System Check?

--

Go to Step 2

Go to Powertrain On Board Diagnostic (OBD) System Check 5.0/5.7L or Powertrain On Board Diagnostic (OBD) System Check 7.4L

2

  1. Install a Scan Tool .
  2. With the engine OFF, turn the ignition switch to the RUN position.
  3. Important: Before clearing the DTC, use the scan tool in order to record the Freeze Frame and Failure Records. Using the Clear Info function erases the Freeze Frame and Failure Records from the VCM.

  4. Record the Freeze Frame and Failure Records.
  5. Clear the DTC.
  6. With the vehicle in PARK, start the engine.
  7. Raise the drive wheels.
  8. Select Scan Tool Transmission ISS and Engine RPM.
  9. Observe the Transmission ISS while slowly accelerating the engine to 2000 RPM and hold.

Is the Scan Tool Transmission ISS more than 800 RPM?

--

Go to Diagnostic Aids

Go to Step 3

3

  1. Turn the ignition switch to the OFF position.
  2. Remove the connector from the AT ISS sensor.
  3. Remove the AT ISS sensor from the transmission.
  4. Using the J 39200 digital multimeter (DMM) and J 35616-A connector test adapter kit, measure the resistance of the AT ISS sensor.

Is the sensor resistance within the specified value?

1042-2088ohms

Go to Step 4

Go to Step 9

4

Inspect circuit 1230 (RED/BLK) for an open or a short to ground.

Refer to General Electrical Diagnosis in Wiring Systems.

Was an open or short to ground condition found?

--

Go to Step 7

Go to Step 5

5

Inspect circuit 1231 (BLU/WHT) for an open.

Refer to General Electrical Diagnosis in Wiring Systems.

Was an open condition found?

--

Go to Step 8

Go to Step 6

6

  1. Re-install the AT ISS sensor in the transmission.
  2. Reconnect the AT ISS sensor connector to the sensor.
  3. Disconnect the VCM connector C3 (additional DTCs may set).
  4. Probe across terminal C3-7 and terminal C3-8 at VCM connector C3 with J 39200 DMM on AC voltage.
  5. Remove the fuel pump relay.
  6. Refer to Automatic Transmission Components.

  7. With the vehicle in PARK, crank the engine.

Is the voltage above the specified value?

0.5 volts AC

Go to Step 10

Go to Diagnostic Aids

7

Repair the open or short to ground in circuit 1230 (RED/BLK).

Refer to Wiring Repairs in Wiring Systems.

Was the condition corrected?

--

Go to Step 12

--

8

Repair the open in circuit 1231 (BLU/WHT).

Refer to Wiring Repairs in Wiring Systems.

Was the open condition corrected?

--

Go to Step 12

--

9

Replace the ISS sensor.

Refer to Vehicle Speed Sensor Replacement .

Is the replacement complete?

--

Go to Step 12

--

10

  1. Inspect the VCM pins for corrosion or reduced terminal tension.
  2. Inspect the C3 connector terminals for corrosion or reduced terminal tension.

Was the condition found?

--

Go to Step 12

Go to Step 11

11

Replace the VCM.

Refer to VCM Replacement/Programming (5.7L) or VCM Replacement/Programming (7.4L) in Engine Controls.

Is the replacement complete?

--

Go to Step 12

--

12

Perform the following procedure in order to verify the repair:

  1. Select DTC.
  2. Select Clear Info.
  3. Operate the vehicle under the following conditions:
  4. • The engine must be running and AT ISS must be greater than 500 RPM.
    •  The VCM must see an input speed change of less than 200 RPM for 1 second.
  5. Select Specific DTCs.
  6. Enter DTC P0716.

Has the test run and passed?

--

System OK

Go to Step 1

DTC P0716 Input Speed Sensor Circuit Intermittent Diesel


Object Number: 522638  Size: MF
Automatic Transmission Controls Schematics Diesel
OBD II Symbol Description Notice
Handling ESD Sensitive Parts Notice

Circuit Description

The automatic transmission input (shaft) speed sensor (AT ISS) provides transmission input speed to the powertrain control module (PCM). The AT ISS sensor is a permanent magnet (PM) generator. The sensor mounts into the transmission case and maintains a slight air gap between the sensor and the forward clutch housing. The PM generator produces an AC voltage as the forward clutch housing rotor teeth pass through the sensor's magnetic field. The AC voltage level increases as the turbine shaft speed increases. The PCM converts the AC voltage into a digital signal. The PCM determines actual turbine speed using the digital signal. The PCM uses the input speed to calculate torque converter slip speed, and gear ratios.

When the PCM detects an unrealistically large change in input speed, then DTC P0716 sets. DTC P0716 is a type B DTC.

Conditions for Running the DTC

    • No AT ISS sensor DTC P0717.
    • No OSS sensor DTCs P0502 or P0503.
    • System voltage is 8.0-18.0. volts.
    • Engine speed is greater than 475 RPM for greater than 7 seconds.
    • The APP angle is greater than 15%.
    • The vehicle speed is greater than 32 km/h (20 mph).

Conditions for Setting the DTC

The AT ISS varies by more than 1,200 RPM within 4.0 seconds.

Action Taken When the DTC Sets

    • The PCM illuminates the malfunction indicator lamp (MIL).
    • The PCM commands maximum line pressure.
    • The PCM freezes shift adapts.
    • The PCM stores DTC P0716 in PCM history.

Conditions for Clearing the MIL/DTC

    • For Federal and California emissions, the PCM turns OFF the MIL during the third consecutive trip in which the diagnostic test runs and passes.
    • A scan tool clears the DTC from PCM history.
    • For Federal and California emissions, the PCM clears the DTC from PCM history if the vehicle completes 40 consecutive warm-up cycles without an emission related diagnostic fault occurring.
    • For vehicles equal to or greater than 15,000 lbs GVW, the PCM clears the DTC from PCM history if the vehicle completes 40 consecutive warm-up cycles without a non-emission related diagnostic fault occurring.
    • The PCM cancels the DTC default actions when the fault no longer exists and the ignition switch is OFF long enough in order to power down the PCM.

Diagnostic Aids

    • Inspect the wiring at the PCM, the transmission connector and all other circuit connecting points for the following conditions:
       - A backed out terminal
       - A damaged terminal
       - Reduced terminal tension
       - A chafed wire
       - A broken wire inside the insulation
       - Moisture intrusion
       - Corrosion
    • When diagnosing for an intermittent short or open, massage the wiring harness while watching the test equipment for a change.
    • You may have to drive the vehicle in order to experience a fault.
    • First diagnose and clear any engine DTCs that are present. Then inspect for any transmission DTCs that may have reset.

Test Description

The numbers below refer to the step numbers on the diagnostic table.

  1. This step tests for proper operation of the AT ISS sensor.

  2. This step tests for proper AT ISS sensor circuit operation up to the PCM connections. You remove the fuel solenoid fuse in order to eliminate a flooding condition during this step.

  3. This step tests for a short to ground in the AT ISS sensor circuit.

DTC P0716 (Diesel)

Step

Action

Value(s)

Yes

No

1

Did you perform the Powertrain Diagnostic System Check?

--

Go to Step 2

Go to Powertrain On Board Diagnostic (OBD) System Check

2

  1. Install a Scan Tool .
  2. Turn the ignition to the RUN position with the engine OFF.
  3. Important: Before clearing the DTC, use the scan tool in order to record the Freeze Frame and Failure Records. Using the Clear Info function erases the Freeze Frame and Failure Records from the PCM.

  4. Record the Freeze Frame and Failure Records.
  5. Clear the DTC.
  6. With the transmission in PARK, start the engine.
  7. Observe the scan tool, Transmission ISS.
  8. Run the engine to 2000 RPM and hold the engine speed steady.

Does the Transmission ISS RPM change by more than 1200 RPM at steady engine speed?

--

Go to Step 3

Go to Diagnostic Aids

3

  1. Turn the ignition to the OFF position.
  2. Disconnect the AT ISS sensor harness connector from the AT ISS sensor.
  3. Using the J 35616 connector test adapter kit, connect the J 39200 digital multimeter (DMM) to the AT ISS sensor terminals.
  4. Check for resistance.

Is the AT ISS sensor resistance within the specified value?

1042-2088ohms

Go to Step 4

Go to Step 15

4

  1. With the J 39200 DMM connected to the ISS sensor, select AC Volts.
  2. With the transmission in PARK, start the engine.
  3. Run the engine to 2000 RPM and hold the engine speed steady.

Is the J 39200 DMM voltage steady?

Greater than 10.0 volts AC

Go to Step 5

Go to Step 15

5

  1. Turn the ignition to the OFF position.
  2. Select DC Volts on the J 39200 DMM.
  3. Turn the ignition to the RUN position with the engine OFF.
  4. Measure the voltage at both AT ISS sensor harness connector terminals A and B to a good ground.

Is either voltage reading greater than the specified value?

10.5 volts DC

Go to Step 6

Go to Step 8

6

  1. Inspect circuit 1230 (RED/BLK) for a short to power.
  2. Inspect circuit 1231 (DK BLU/WHT) for a short to power.

Refer to General Electrical Diagnosis in Wiring Systems.

Was the condition found?

--

Go to Step 7

Go to Step 16

7

Repair the short to power in circuits 1230 (RED/BLK) and/or 1231 (DK BLU/WHT).

Is the repair complete?

--

Go to Step 18

--

8

  1. Reconnect the AT ISS harness connector to the AT ISS sensor.
  2. Turn the ignition to the OFF position.
  3. Disconnect the PCM connector C1.
  4. Connect the J 39200 DMM on AC Volts across the C1 connector terminals D1 and D11.
  5. Remove the fuel solenoid fuse in the Fuse/Relay Center.
  6. Refer to Automatic Transmission Components.

  7. Turn the ignition to the RUN position and crank the engine while observing the J 39200 DMM.

Is the voltage greater than the specified value and steady?

0.4 volts AC

Go to Step 16

Go to Step 9

9

With the J 39200 DMM measure the resistance between terminals D1 and D11 of the PCM connector C1.

Is the circuit resistance within the specified value?

1042-2088ohms

Go to Step 10

Go to Step 12

10

  1. Measure the resistance from PCM connector C1 terminal D11 to a good ground.
  2. Measure the resistance from PCM connector C1 terminal D1 to a good ground.

Is either resistance less than the specified value?

50kohms

Go to Step 11

Go to Diagnostic Aids

11

Inspect circuits 1230 (RED/BLK) and 1231 (DK BLU/WHT) for short to ground.

Refer to General Electrical Diagnosis in Wiring Systems.

Was the condition corrected?

--

Go to Step 18

--

12

Is the resistance reading from Step 9 less than the specified value?

1042-2088ohms

Go to Step 13

Go to Step 14

13

Repair circuits 1230 (RED/BLK) and 1231 (DK BLU/WHT) for a short together.

Refer to Wiring Repairs in Wiring Systems.

Is the repair complete?

--

Go to Step 18

--

14

  1. Inspect circuit 1230 (RED/BLK) for high resistance or an open.
  2. Inspect circuit 1231 (DK BLU/WHT) for high resistance or an open.

Refer to General Electrical Diagnosis in Wiring Systems.

Was the condition corrected?

--

Go to Step 18

--

15

Replace the AT ISS sensor.

Refer to Vehicle Speed Sensor Replacement .

Is the replacement complete?

--

Go to Step 18

--

16

Inspect the PCM pins and connector terminals for corrosion or reduced terminal tension.

Was the condition found?

--

Go to Step 18

Go to Step 17

17

Replace the PCM.

Refer to Powertrain Control Module Replacement/Programming in Engine Controls.

Is the replacement complete?

--

Go to Step 18

--

18

Perform the following procedure in order to verify the repair:

  1. Select DTC.
  2. Important: Failure to clear codes first may cause poor engine performance and high idle at start up.

  3. Select Clear Info.
  4. Operate the vehicle under the following conditions:
  5. • Start and run the engine greater than 475 RPM.
    •  The PCM must see an AT ISS change of less than 500 RPM for 1 second.
  6. Select Specific DTC.
  7. Enter DTC P0716.

Has the test run and passed?

--

System OK

Go to Step 1