GM Service Manual Online
For 1990-2009 cars only
Makes
🢒
Chevrolet
🢒
2000
🢒
Chevy C Pickup - 2WD
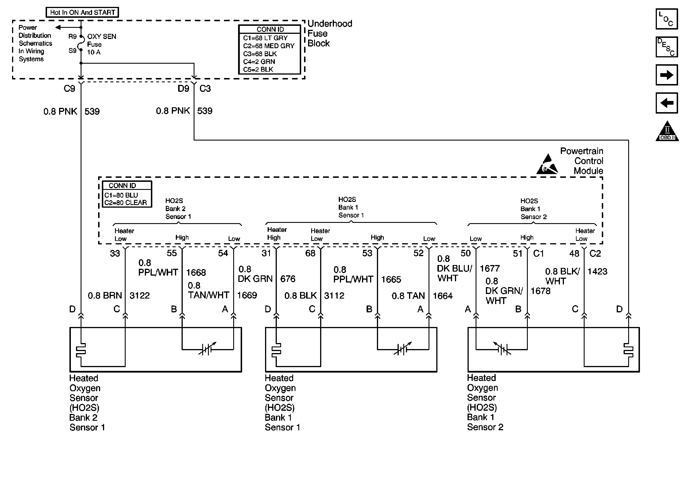
🢒 Heated Oxygen Sensors (HO2S)
Heated Oxygen Sensors (HO2S)
Heated Oxygen Sensors (HO2S)
Engine Controls Components
Powertrain Control Module (PCM)
EVAP Valves, EGR Valve
Sensors
OBD II Symbol Description Notice
Handling ESD Sensitive Parts Notice
Power and Grounding Connector End Views Fuse Blocks and Ignition Switch
OXY SEN, CR CONT, MDL COIL, TRANS Fuses