GM Service Manual Online
For 1990-2009 cars only
Makes
🢒
Chevrolet
🢒
2000
🢒
Chevy C Pickup - 2WD
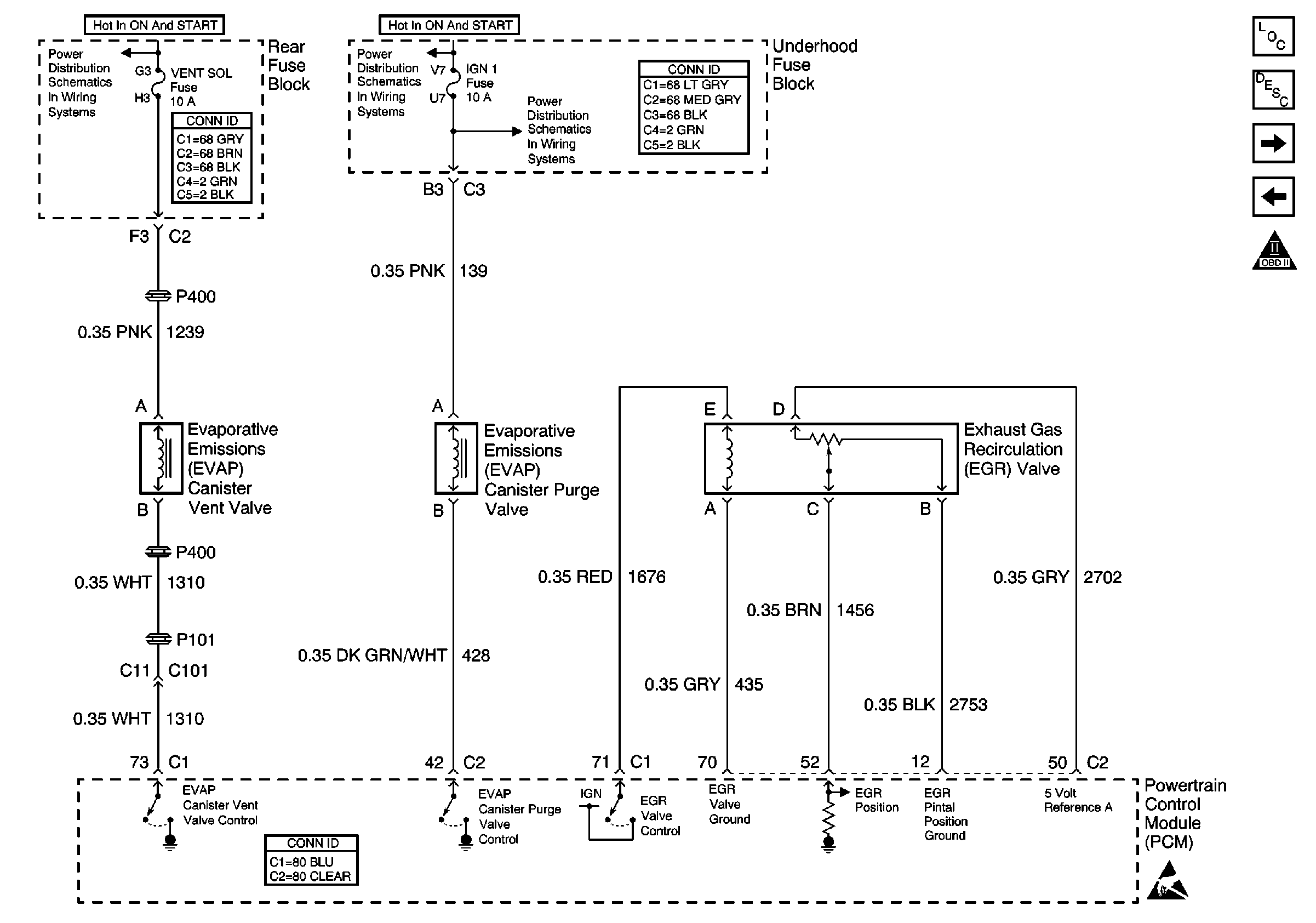
🢒 EVAP Valves, EGR Valve
EVAP Valves, EGR Valve
EVAP Valves, EGR Valve
Engine Controls Components
Powertrain Control Module (PCM)
MAF/IAT Sensor and IAC Valve
Heated Oxygen Sensors (HO2S)
OBD II Symbol Description Notice
SIR, VENT SOL, and IGN 1 Fuses
Power and Grounding Connector End Views Fuse Blocks and Ignition Switch
START Circuit Breaker, PCM IGN and IGN1 Fuses
START Circuit Breaker, PCM IGN and IGN1 Fuses
Power and Grounding Connector End Views Fuse Blocks and Ignition Switch
Powertrain Control Module Connector End Views
Handling ESD Sensitive Parts Notice