GM Service Manual Online
For 1990-2009 cars only
Makes
🢒
Chevrolet
🢒
2000
🢒
Chevy C Pickup - 2WD
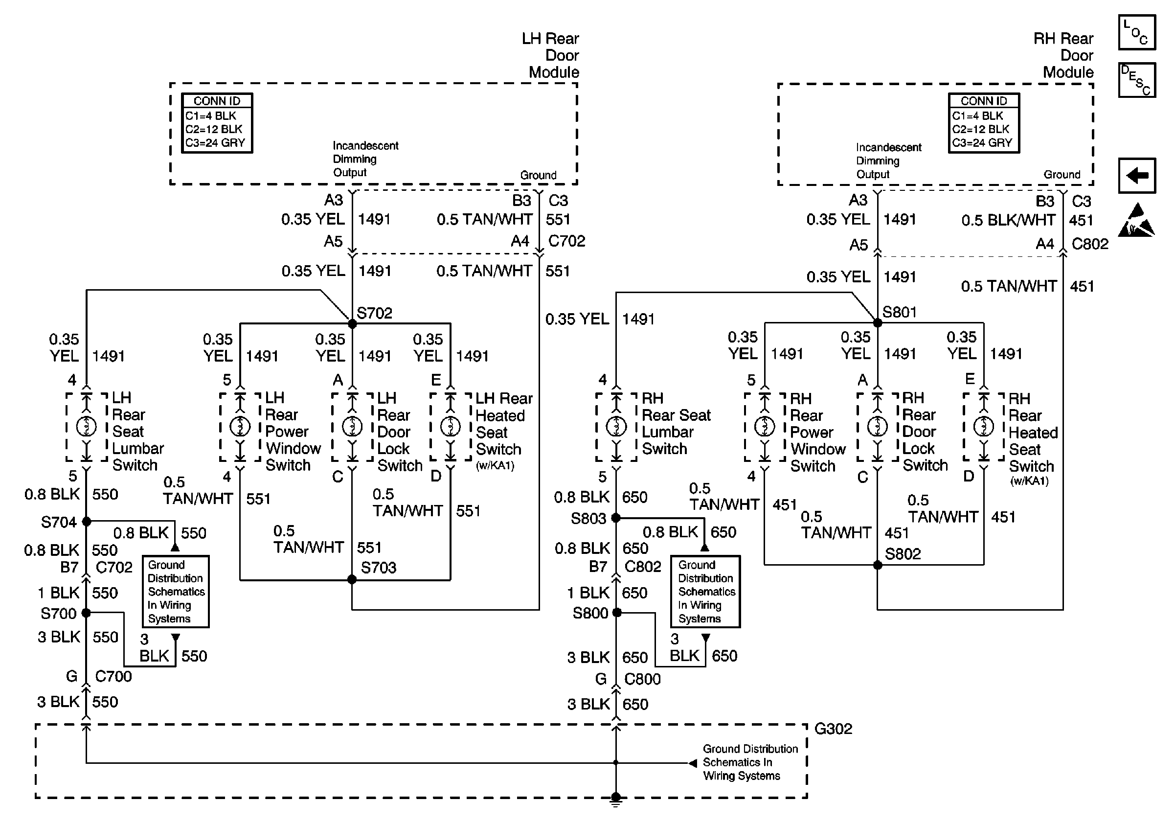
🢒 Rear Door Dimming
Rear Door Dimming
Rear Door Dimming
Lighting Systems Components
Interior Lights Dimming Circuit Description
Middle Door Dimming
Handling ESD Sensitive Parts Notice
G302 - RH Front Seat
G302 - RH Front Seat