GM Service Manual Online
For 1990-2009 cars only

DTC P1875 4WD Low Switch Circuit Electrical Gas LQ4


Object Number: 362793  Size: MF
Automatic Transmission Components
Automatic Transmission Controls Schematics Gas
OBD II Symbol Description Notice
Handling ESD Sensitive Parts Notice

Circuit Description

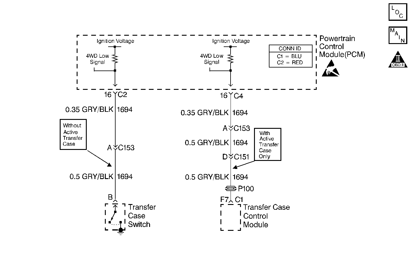
Vehicles equipped with an active transfer case have a four-wheel drive (4WD) low circuit consisting of a powertrain control module (PCM) , an active transfer case control module, and the circuit wiring. The active transfer case control module controls the 4WD low signal on CKT 1694. When the operator selects 4WD low, the active transfer case control module grounds CKT 1694, and the 4WD low signal voltage on the circuit changes from ignition voltage to zero volts. The PCM then compensates for transfer case gear reduction in the transmission output shaft speed (OSS) signal. The PCM uses the transmission OSS signal to adjust shift points, line pressure and torque converter clutch (TCC) scheduling.

Vehicles not equipped with an active transfer case have a 4WD low circuit consisting of a PCM, transfer case switch and the circuit wiring. The transfer case switch is used to control the 4WD low signal on CKT 1694. When the operator moves the 4WD selector lever to 4WD low, the transfer case switch closes, and the 4WD low signal voltage on CKT 1694 changes from B+ voltage to zero volts. The PCM then compensates for transfer case gear reduction in the transmission output (shaft) speed sensor (OSS) readings. The PCM uses the transmission OSS signal in order to adjust shift points, line pressure and TCC scheduling.

If the PCM detects a continuous open or short to ground in the 4WD low signal circuit, then DTC P1875 sets. DTC P1875 is a type D DTC. For California emissions vehicles DTC P1875 is a type B DTC.

Conditions for Running the DTC

    • No MAP sensor DTCs P0106, P0107 or P0108.
    • No TP sensor DTCs P0121, P0122 or P0123.
    • No OSS DTCs P0502 or P0503.
    • No ISS DTCs P0716 or P0717.
    • No 1-2 SS valve DTCs P0751 or P0753.
    • No 2-3 SS valve DTCs P0756 or P0758.
    • No TFP manual valve position switch DTC P1810.
    • No TCC PWM solenoid DTC P1860.
    • The engine is running at least 300 RPM for 7 seconds.
    • The TFP manual valve position switch is D4.
    • The TP sensor is 10-100 percent.
    • The TFT is 20-132°C (68-266°F).
    • The system voltage is 8.0-18.0 volts.
    • Engine torque is 68 N·m (55 lb ft) to 540 N·m (400 lb ft).
    • Vehicle speed is greater than 1.0 mph.

Conditions for Setting the DTC

All conditions for running the DTC are met, and one of the following conditions occur:

    • The four-wheel drive low circuit is closed (grounded) for more than 1.5 seconds with a transfer case ratio of 0.95-1.05:1, for 1 occurrence.
    • The four-wheel drive low circuit is open for 2 seconds, with a transfer case ratio of 2.68-2.76:1 in two different commanded gears for 2 occurrences.

Action Taken When the DTC Sets

    • The PCM illuminates the malfunction indicator lamp (MIL), for California emissions vehicles.
    • The PCM assumes a 4WD low state for transmission shift patterns when stuck OFF.
    • The PCM assumes a non 4WD low state for transmission shift patterns, when stuck ON.
    • The PCM freezes shift adapts from being updated.
    • The PCM stores DTC P1875 in PCM history.

Conditions for Clearing the MIL/DTC

    • For California emissions, the PCM turns OFF the MIL during the third consecutive trip in which the diagnostic test runs and passes.
    • A scan tool can clear the MIL/DTC.
    • For California emissions, the PCM clears the DTC from PCM history if the vehicle completes 40 consecutive warm-up cycles without an emission related diagnostic fault occurring.
    • For Federal emissions, the PCM clears the DTC from PCM history if the vehicle completes 40 consecutive warm-up cycles without a non-emission related diagnostic fault occurring.
    • The PCM cancels the DTC default actions when the fault no longer exists and the ignition switch is OFF long enough in order to power down the PCM.

Diagnostic Aids

    • Inspect the wiring for poor electrical connections at the PCM and at the active transfer case control module (active transfer case vehicles). Inspect the wiring for poor electrical connections at the transmission 20-way connector. Look for the following conditions:
       - A backed out terminal
       - A damaged terminal
       - Reduced terminal tension
       - A chafed wire
       - A broken wire inside the insulation
       - Moisture intrusion
       - Corrosion
    • When diagnosing for an intermittent short or open, massage the wiring harness while watching the test equipment for a change.
    • First diagnose and clear any engine DTCs or TP sensor codes that are present. Then inspect for any transmission DTCs that may have reset.
    • Low pump pressure and a slipping trans can cause DTC P1875 to set.
    • Transfer case gear ratio is calculated by dividing the ISS by the OSS.

Test Description

The numbers below refer to the step numbers on the diagnostic table.

  1. This step tests for a short to ground in CKT 1694.

  2. This step tests for an open in CKT 1694, a faulty transfer case control module (active transfer case vehicles) or transfer case switch (non-active transfer case vehicles).

DTC P1875

Step

Action

Value(s)

Yes

No

1

Was the Powertrain On-Board Diagnostic (OBD) System Check performed?

--

Go to Step 2

Go to Powertrain On Board Diagnostic (OBD) System Check

2

  1. Install the Scan Tool .
  2. With the engine OFF, turn the ignition switch to the RUN position.
  3. Important: Before clearing the DTCs, use the scan tool in order to record the Freeze Frame and Failure Records. Using the Clear Info function erases the Freeze Frame and Failure Records from the PCM.

  4. Record the Freeze Frame and Failure Records.
  5. Clear the DTCs.
  6. Place the transmission in NEUTRAL.
  7. Select 4WD, then 4WD Low on the transfer case selector lever.

Does the 4WD Low on the scan tool display Disabled when 4WD is selected, then Enabled when 4WD Low is selected?

--

Go to Diagnostic Aids

Go to Step 3

3

  1. Turn the ignition switch OFF.
  2. Disconnect the active transfer case control module connector (active transfer case vehicles) or the transfer case switch connector (non-active transfer case vehicles).
  3. Turn the ignition switch to the RUN position.

Does the 4WD Low on the scan tool indicate Enabled?

--

Go to Step 6

Go to Step 4

4

  1. Ground C1-F7 of the active transfer case control module connector (active transfer case vehicles) or terminal B of the transfer case switch connector (non-active transfer case vehicles) to ground.
  2. Ensure that the scan tool displays 4WD Low.

Does 4WD Low on the Scan Tool indicate Enabled when circuit 1694 (GRY/BLK) is grounded?

--

Go to Step 5

Go to Step 7

5

Replace the active transfer case control module (active transfer case vehicles) or the transfer case switch (non-active transfer case vehicles).

Refer to Transfer Case Shift Control Module Replacement in Transfer Case (active transfer case vehicles) or Transfer Case Switch Replacement (non-active transfer case vehicles).

Is the replacement complete?

--

Go to Step 9

--

6

  1. Inspect circuit 1694 (GRY/BLK) for a short to ground.
  2. Repair the circuit if necessary.

Refer to General Electrical Diagnosis in Wiring Systems.

Was the condition found?

--

Go to Step 9

Go to Step 8

7

  1. Inspect circuit 1694 (GRY/BLK) for an open.
  2. Repair the circuit if necessary.

Refer to General Electrical Diagnosis in Wiring Systems.

Was the condition found?

--

Go to Step 9

Go to Step 8

8

Replace the PCM.

Refer to Powertrain Control Module Replacement/Programming in Engine Controls.

Is the replacement complete?

--

Go to Step 9

--

9

Perform the following procedure in order to verify the repair:

  1. Select DTC.
  2. Select Clear Info.
  3. Operate the vehicle under the following conditions:
  4. • Select 4WD Low on the 4WD selector and drive the vehicle. The transfer case gear ratio must be 2.68-2.76 for 1 second in 4th gear with the TCC locked.
    • Select 4WD on the selector and drive the vehicle. The gear ratio must be 0.95-1.05 for 0.5 second in any one gear.
  5. Select Specific DTC.
  6. Enter DTC P1875.

Has the test run and passed?

--

System OK

Go to Step 1