GM Service Manual Online
For 1990-2009 cars only

DTC P0716 Input Speed Sensor Circuit Intermittent Gas LQ4


Object Number: 362785  Size: MF
Automatic Transmission Components
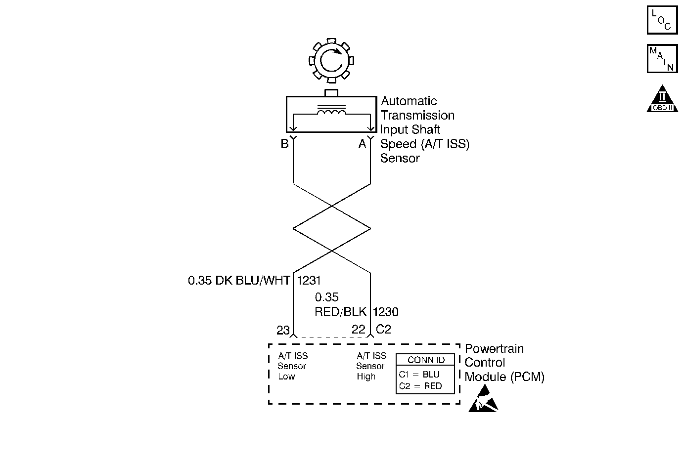
Automatic Transmission Controls Schematics Gas
OBD II Symbol Description Notice
Handling ESD Sensitive Parts Notice

Circuit Description

The automatic transmission input (shaft) speed (A/T ISS) sensor provides transmission input speed to the powertrain control module (PCM). The A/T ISS sensor is a permanent magnet (PM) generator. The sensor mounts into the transmission case and maintains a slight air gap between the sensor and the forward clutch housing. The PM generator produces an AC voltage as the forward clutch housing rotor teeth pass through the sensor's magnetic field. The AC voltage level increases as the turbine shaft speed increases. The PCM converts the AC voltage into a digital signal. The PCM determines actual turbine speed using the digital signal. The PCM uses the input speed to calculate torque converter slip speed, and gear ratios.

When the PCM detects an unreasonably large change in the input speed, in a very short period of time, then DTC P0716 sets. DTC P0716 is a type D DTC. For California emissions vehicles, DTC P0716 is a type B DTC.

Conditions for Running the DTC

    • No throttle position (TP) sensor DTCs P0121, P0122 or P0123.
    • No OSS DTC P0502 or P0503.
    • No A/T ISS DTC P0717.
    • No shift solenoid DTC P0751 or P0753.
    • The system voltage is 8.0-18.0 volts.
    • The TP angle is greater than 10%.
    • The vehicle speed is greater than 27 mph.
    • The engine is running greater than 300 RPM for more than 7 seconds.

Conditions for Setting the DTC

    • The transmission is not in PARK or NEUTRAL.
    • The input speed varies by 1300 RPM for greater than 5 seconds.

Action Taken When the DTC Sets

    • For California emission vehicles only, the PCM illuminates the malfunction indicator lamp (MIL).
    • The PCM commands maximum line pressure.
    • The PCM freezes shift adapts.
    • The PCM stores DTC P0716 in PCM history.

Conditions for Clearing the MIL/DTC

    • For California emissions, the PCM turns OFF the MIL during the third consecutive trip in which the diagnostic test runs and passes.
    • A scan tool can clear the MIL/DTC.
    • For California emissions, the PCM clears the DTC from PCM history if the vehicle completes 40 consecutive warm-up cycles without an emission related diagnostic fault occurring.
    • For Federal emissions, the PCM clears the DTC from PCM history if the vehicle completes 40 consecutive warm-up cycles without a non-emission related diagnostic fault occurring.
    • The PCM cancels the DTC default actions when the fault no longer exists and the ignition switch is OFF long enough in order to power down the PCM.

Diagnostic Aids

    • Inspect the wiring at the PCM, the OSS connector and all other circuit connecting points for the following:
       - A backed out terminal
       - A damaged terminal
       - Reduced terminal tension
       - A chafed wire
       - A broken wire inside the insulation
       - Moisture intrusion
       - Corrosion
       - The A/T ISS sensor harness being near the DIS components or the ignition wires.
    • When diagnosing for an intermittent short or open, massage the wiring harness while watching the test equipment for a change.
    • First diagnose and clear any engine DTCs or TP sensor codes that are present. Then inspect for any transmission DTCs that may have reset.

Test Description

The numbers below refer to the step numbers on the diagnostic table.

  1. This step tests for proper operation to the A/T ISS sensor.

  2. This step tests for proper A/T ISS circuit operation up to the PCM connections. Remove the fuel pump relay in order to eliminate a flooding condition during this step.

DTC P0716

Step

Action

Value(s)

Yes

No

1

Was the Powertrain On-Board Diagnostic (OBD) System Check performed?

--

Go to Step 2

Go to Powertrain On Board Diagnostic (OBD) System Check

2

  1. Install the Scan Tool .
  2. With the engine OFF, turn the ignition switch to the RUN position.
  3. Important: Before clearing the DTCs, use the scan tool in order to record the Freeze Frame and Failure Records. Using the Clear Info function erases the Freeze Frame and Failure Records from the PCM.

  4. Record the Freeze Frame and Failure Records.
  5. Clear the DTCs.
  6. With the vehicle in PARK, start the engine.
  7. Raise the drive wheels.
  8. Select Scan Tool Transmission ISS and Engine RPM.
  9. Observe the Transmission ISS while slowly accelerating the engine to 2000 RPM and hold.

Is the Scan Tool Transmission ISS more than 800 RPM?

--

Go to Diagnostic Aids

Go to Step 3

3

  1. Turn the ignition switch to the OFF position.
  2. Remove the connector from the A/T ISS sensor.
  3. Remove the A/T ISS sensor from the transmission.
  4. Using the J 39200 digital multimeter (DMM) and J 35616-A connector test adaptor kit, measure the resistance of the A/T ISS sensor.

Is the sensor resistance within the specified range?

1042-2088ohms

Go to Step 4

Go to Step 9

4

Inspect CKT 1230 (RED/BLK) for an open or a short to ground.

Refer to General Electrical Diagnosis in Wiring Systems.

Was an open or short to ground condition found?

--

Go to Step 7

Go to Step 5

5

Inspect CKT 1231 (BLU/WHT) for an open.

Refer to General Electrical Diagnosis in Wiring Systems.

Was an open condition found?

--

Go to Step 8

Go to Step 6

6

  1. Re-install the A/T ISS sensor in the transmission.
  2. Reconnect the A/T ISS sensor connector to the sensor.
  3. Disconnect the PCM connector C3 (additional DTCs may set).
  4. Probe across terminal C3-7 and terminal C3-8 at PCM connector C3 with J 39200 DMM on AC voltage.
  5. Remove the fuel pump relay.
  6. Refer to Automatic Transmission Components (Gas).

  7. With the vehicle in PARK, crank the engine.

Is the voltage above the specified value?

0.5 volts AC

Go to Step 10

Go to Diagnostic Aids

7

Repair the open or short to ground in CKT 1230 (RED/BLK).

Refer to Wiring Repairs in Wiring Systems.

Is the repair complete?

--

Go to Step 12

--

8

Repair the open in CKT 1231 (BLU/WHT).

Refer to Wiring Repairs in Wiring Systems.

Is the repair complete?

--

Go to Step 12

--

9

Replace the ISS sensor.

Refer to Vehicle Speed Sensor Replacement .

Is the replacement complete?

--

Go to Step 12

--

10

  1. Inspect the PCM pins for corrosion or reduced terminal tension.
  2. Inspect the C3 connector terminals for corrosion or reduced terminal tension.

Was the condition found?

--

Go to Step 12

Go to Step 11

11

Replace the PCM.

Refer to Powertrain Control Module Replacement/Programming in Engine Controls.

Is the replacement complete?

--

Go to Step 12

--

12

Perform the following procedure in order to verify the repair:

  1. Select DTC.
  2. Select Clear Info.
  3. Operate the vehicle under the following conditions:
  4. • The engine must be running and A/T ISS must be greater than 500 RPM.
    •  The PCM must see an input speed change of less than 200 RPM for 1 second.
  5. Select Specific DTCs.
  6. Enter DTC P0716.

Has the test run and passed?

--

System OK

Go to Step 1