GM Service Manual Online
For 1990-2009 cars only
Makes
🢒
Chevrolet
🢒
2002
🢒
Chevy C Silverado - 2WD
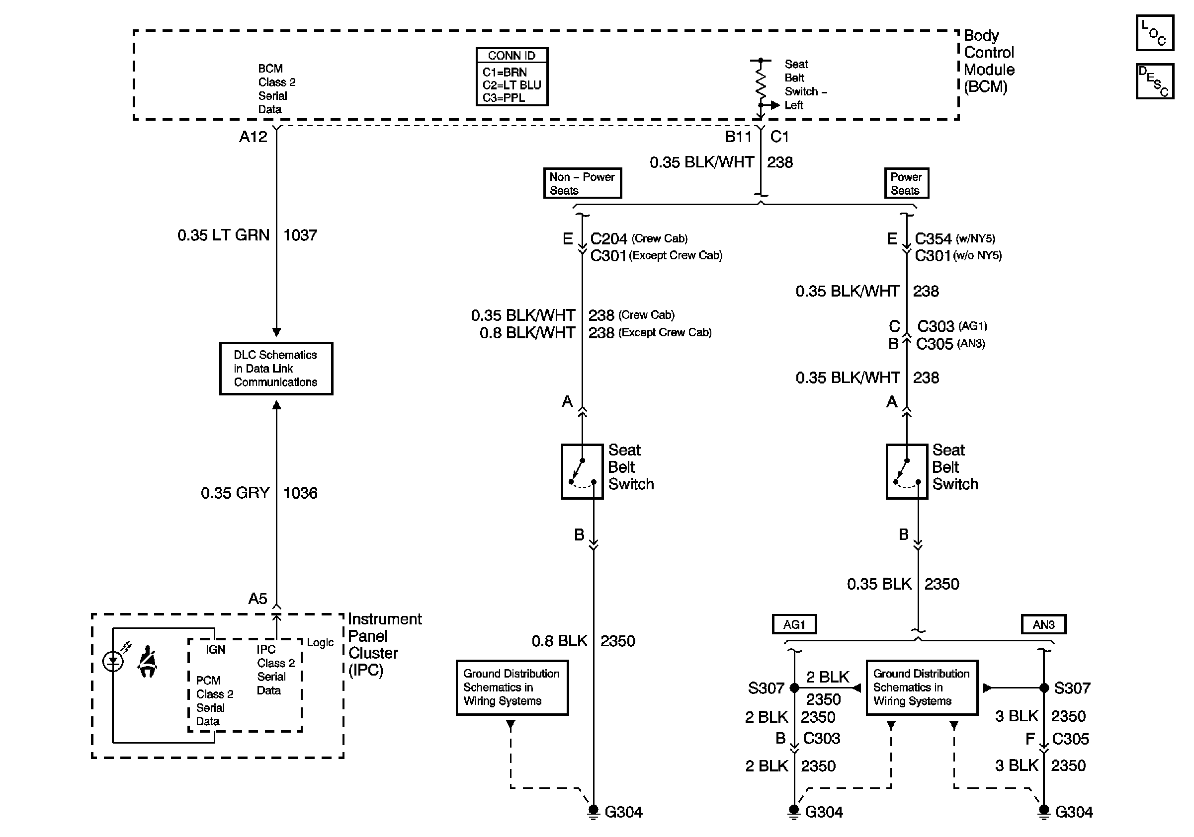
🢒 Seat Belt Switch,IPC,BCM,SDM,G304
Seat Belt Switch,IPC,BCM,SDM,G304
Master Electrical Component List
Seat Belt System Description and Operation
IGN 1, TURN, SEO IGN, AIR BAG, CRANK, and IGN 0 Fuses
AUX PWR and HORN Fuses
Indicators
Splice Pack SP205
G304
Master Electrical Component List
G304
Driver Information System Schematics