GM Service Manual Online
For 1990-2009 cars only
Makes
🢒
Chevrolet
🢒
2004
🢒
Chevy C Silverado - 2WD
🢒
Transmission/Transaxle
🢒
Automatic Transmission - 4L80-E/4L85-E
🢒 Automatic Transmission Controls Schematics
Figure
1:
Valve Controls and Brake Switch
Master Electrical Component List
Transmission Component and System Description
Switch Inputs
OBD II Symbol Description Notice
BRAKE, HTR/AC, and HVAC 1 Fuses
Ignition Switch - START, RUN, and ACC/RUN/START Bus Bars
BRAKE, HTR/AC, and HVAC 1 Fuses
IGN 0, TBC IGN 0,TBC ACCY, SEO ACCY, RR WPR, and WS WPR Fuses
8600 GVW or Less - 2 of 2
Figure
2:
Switch Inputs
Master Electrical Component List
Transmission Component and System Description
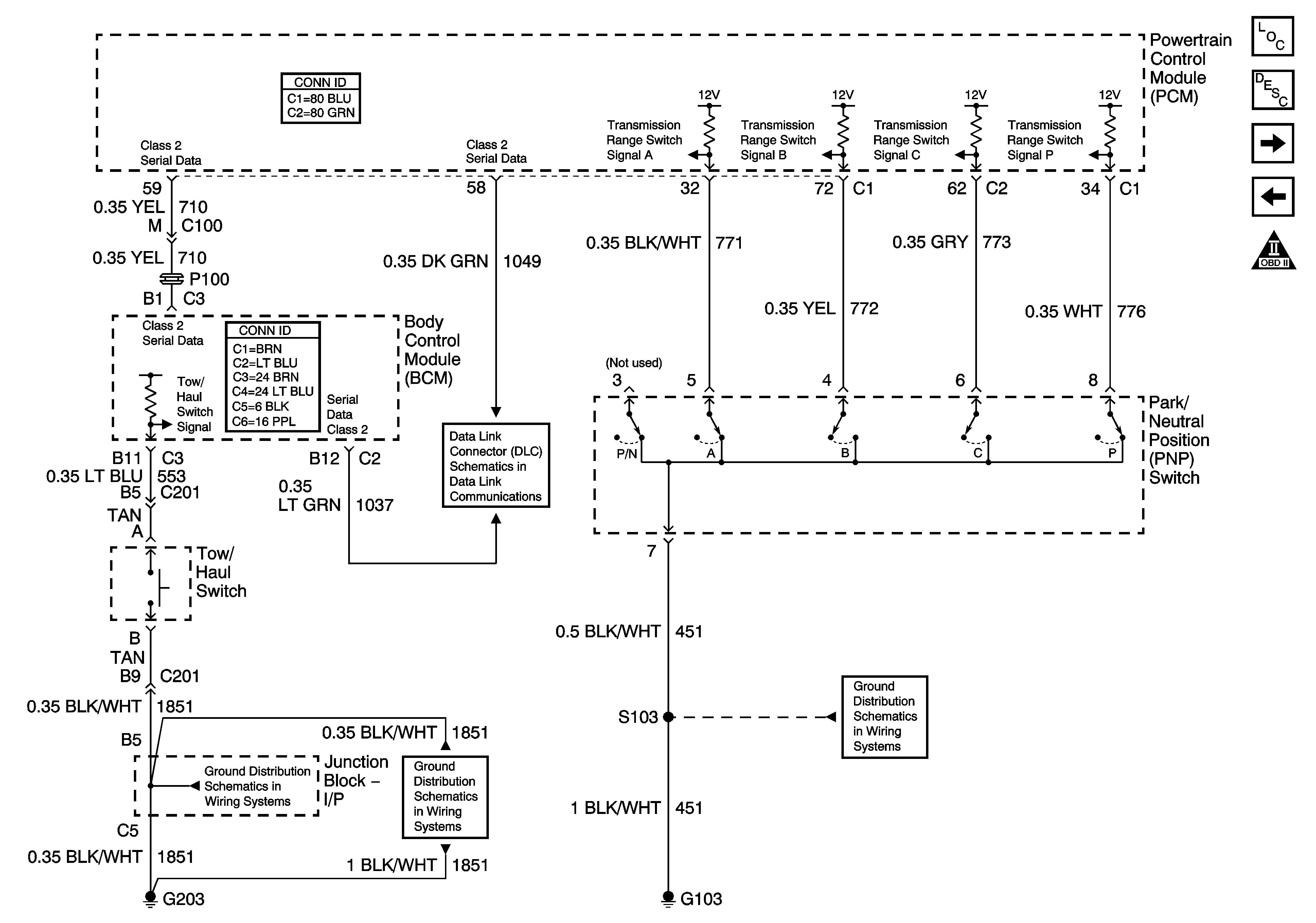
Tow/Haul and PNP Switch Inputs
Valve Controls and Brake Switch
OBD II Symbol Description Notice
Figure
3:
Tow/Haul and PNP Switch Inputs
Master Electrical Component List
Transmission Component and System Description
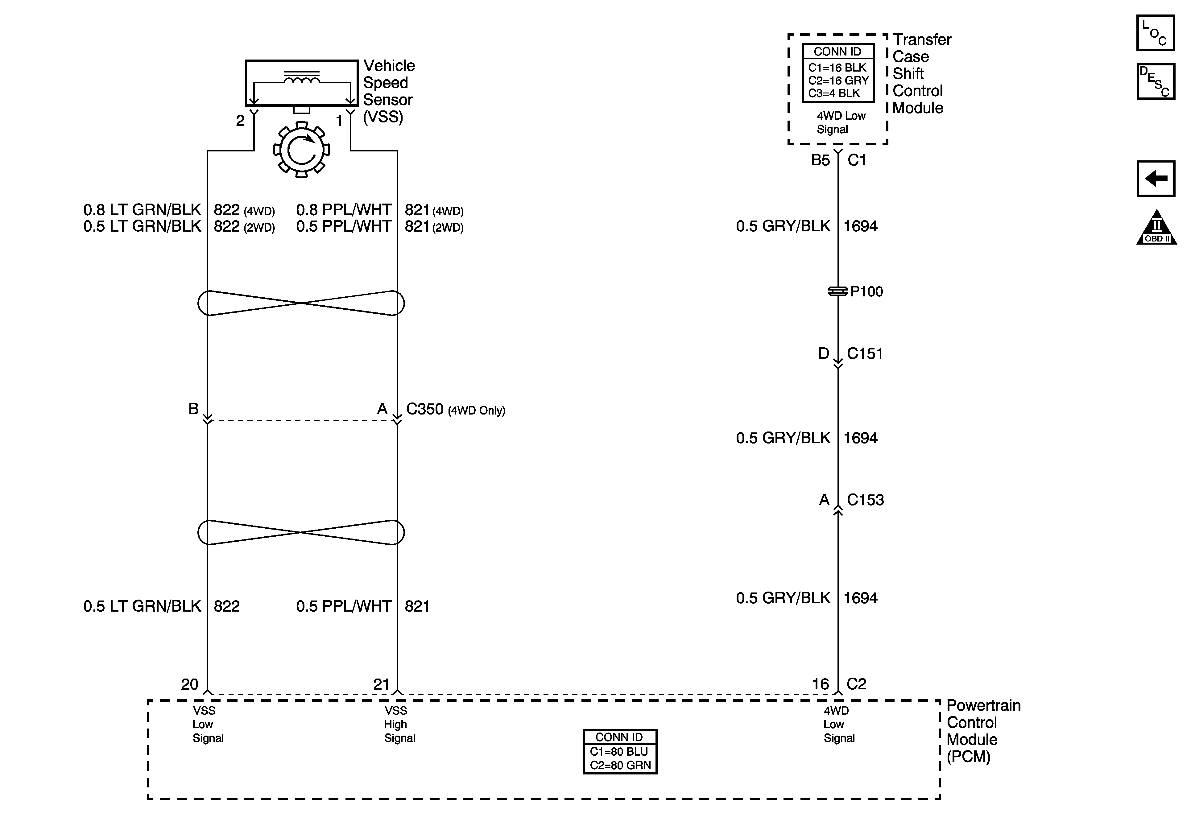
Vehicle Speed Signal and 4WD Low Signal
Switch Inputs
OBD II Symbol Description Notice
SP205 - 2 of 2
G203 - 1 of 3
G203 - 1 of 3
G103 - Gas
Figure
4:
Vehicle Speed Signal and 4WD Low Signal
Master Electrical Component List
Transmission Component and System Description
Tow/Haul and PNP Switch Inputs
OBD II Symbol Description Notice