GM Service Manual Online
For 1990-2009 cars only

Tools Required

    • J 43602 HPL Crowfoot - 2.5 inch
    • J 45529 Tank Removal Tool
    • J 45878 Combustible Gas Detector

Removal Procedure

    Caution: Do not install this part if you can not completely refill the vehicle with CNG after a repair. Failure to properly leak-check the system after the part replacement may result in serious injury, death, or damage to the vehicle or the part.

  1. Remove the fuel tank cover. Refer to Fuel Tank Cover Replacement . Remove the truck body or side panel as required on ZW9 equipped vehicles in order to gain access to the right side of the CNG fuel tank.
  2. Relieve the CNG fuel system line pressure. Refer to Fuel Pressure Relief .
  3. Caution: Always use the J 42435-B Compressed Natural Gas (CNG) Fuel Tank Venting Kit in conjunction with the General Motors approved Fuel Tank Venting service procedure to vent CNG fuel tanks. Failure to use the J 42435-B and follow the approved Fuel Tank Venting procedure could result in death, serious injury or vehicle and component damage.

    The J 42435-B is required for the following reasons:

       • Natural gas fuel vapor can also contain water vapor.
       • The pressure drop associated with venting high pressure gaseous fuel can cause fuel vapor, tank and line temperatures to reach -73°C (-100°F) or colder.
       • The below freezing temperature can cause the water vapor to freeze
       • The J 42435-B vent hose contains an orifice which is intended to freeze before the CNG high pressure lock-off (HPL) tank valve freezes.
       •  The J 42435-B pressure gauge can indicate a restricted orifice if fuel flow ceases.
       • Internal fuel tank ice build-up may result when venting the CNG fuel tank without the J 42435-B.
          - Internal fuel tank ice build-up can completely restrict the venting of fuel.
          - Venting may cease indefinitely depending upon ambient temperature conditions.
          - The ceasing of fuel tank venting may falsely indicate that the fuel tank pressure has been completely vented.
          - CNG fuel tanks with exceptionally high water content are suceptible to internal fuel tank ice build-up even with the use of the J 42435-B.
    The CNG fuel tank is completely vented when all of the following conditions have been met:
    1. Venting natural gas is no longer audible from the vent stack.
    2. Close the J 42435-B ¼-turn valve and stabilize the fuel tank and line assembly at a temperature greater than 7°C (45°F) for at least 4 hours.
    3.         If the ambient temperature is less than 7°C (45°F), warm the fuel tank and vent line assembly manually, either with warm water or by placing the tank and line assembly into a warm environment.
    4. The J 42435-B pressure gauge indicates 0 kPa (0 psi).


    Object Number: 790835  Size: SH
  4. Vent the internal CNG fuel pressure from the tank. Refer to Fuel Tank Venting .
  5. Remove the vent hose (6) from the HPL.
  6. Remove the line fittings and discard the O-rings.
  7. Remove the manual vent tool.
  8. Caution: Unless directed otherwise, the ignition and start switch must be in the OFF or LOCK position, and all electrical loads must be OFF before servicing any electrical component. Disconnect the negative battery cable to prevent an electrical spark should a tool or equipment come in contact with an exposed electrical terminal. Failure to follow these precautions may result in personal injury and/or damage to the vehicle or its components.

  9. Disconnect the negative battery cable. Refer to Battery Negative Cable Disconnection and Connection in Engine Electrical in the C/K Pickup service manual.

  10. Object Number: 763013  Size: SH
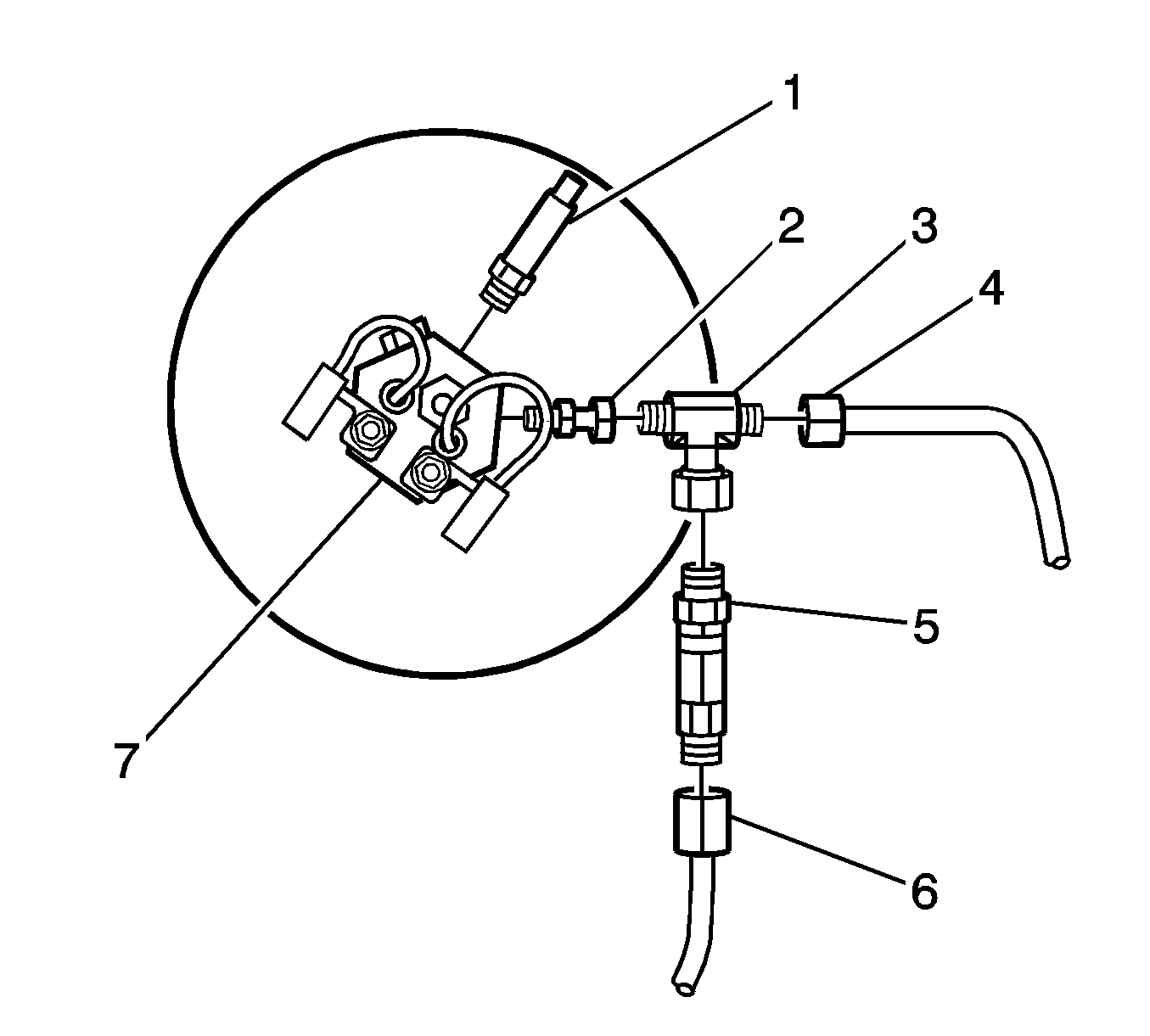
  11. Disconnect the high pressure lock-off (HPL) solenoid connectors (5, 7).

  12. Object Number: 491670  Size: SH
  13. With the J 43602 loosen the HPL.
  14. Proceed directly to Step 27 for vehicles equipped with the ZW9 option.


    Object Number: 762011  Size: SH
  15. Disconnect the high pressure regulator fuel inlet line (3).

  16. Object Number: 327075  Size: SH
  17. Remove the HPR fuel inlet fitting (6). Capture the filter spring (4), filter (3) and seal (2) that are located behind the inlet fitting.

  18. Object Number: 757008  Size: SH

    Important: Do not hold the HPR using the HPR cover hex flange. As required wedge a wrench between the HPR and the tank frame in order to keep the HPR from spinning in the bracket.

  19. Remove the HPR mounting nut (1).

  20. Object Number: 794992  Size: SH
  21. Disconnect the fuel line clips (4) at the lower tank cover mounting bracket.
  22. Disconnect the fuel line clips (3) at the tank frame (3).
  23. Remove the fuel filter mounting bolts (1).
  24. Remove the fuel filter and line assembly from the vehicle.

  25. Object Number: 763174  Size: SH
  26. Remove the upper tank cover mounting bracket bolts (3).
  27. Remove the upper tank cover mounting bracket (1).

  28. Object Number: 794990  Size: SH
  29. Disconnect the HPR coolant hoses from the lower tank cover mounting bracket retainers.
  30. Remove the lower tank cover mounting bracket bolts (2).
  31. Set aside the mounting bracket assembly in order to gain access to the tank strap retaining nuts.

  32. Object Number: 763211  Size: SH
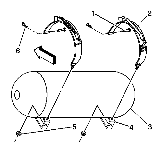
  33. Remove the tank strap retaining nuts (5).
  34. Remove the tank strap upper mounting clips (6) and pins (1).
  35. Remove the tank straps from the vehicle.

  36. Object Number: 763748  Size: SH
  37. Place the J 45529 (1) around the tank (2).
  38. Connect the J 45529 (1) to a suitable lifting device and remove the tank from the vehicle.
  39. Unthread the HPL from the CNG fuel tank and discard the HPL and O-ring.
  40. Inspect the inside of the CNG fuel tank for water, rust, or other contaminants.
  41. If necessary, clean the CNG fuel tank. Refer to Fuel Tank Cleaning .

Installation Procedure

    Caution: Natural gas is stored under high pressure. If a leak occurs, the high pressure could cause a personal injury. In order to prevent Compressed Natural Gas (CNG) fuel leaks, always replace the CNG fuel system O-rings during service.

  1. Install the NEW O-ring on the HPL.
  2. Lubricate the O-ring with petroleum jelly.
  3. Ensure that the O-ring mating surface of the tank is clean and free of debris or damage.
  4. Install the HPL in the tank and tighten hand-tight.
  5. Do not install the fuel line fittings.

    Proceed directly to Step 9 for vehicles equipped with the ZW9 option.


    Object Number: 763748  Size: SH
  6. Lower the fuel tank (2) into the tank mounting frame ensuring that the high pressure lock-off solenoid is properly oriented to the fuel line.

  7. Object Number: 763211  Size: SH
  8. Place the straps around the tank.
  9. Install the tank strap upper mounting pins (1) and clips (6).
  10. Notice: Use the correct fastener in the correct location. Replacement fasteners must be the correct part number for that application. Fasteners requiring replacement or fasteners requiring the use of thread locking compound or sealant are identified in the service procedure. Do not use paints, lubricants, or corrosion inhibitors on fasteners or fastener joint surfaces unless specified. These coatings affect fastener torque and joint clamping force and may damage the fastener. Use the correct tightening sequence and specifications when installing fasteners in order to avoid damage to parts and systems.

  11. Install the tank strap mounting nuts (5).
  12. Tighten
    Tighten the tank strap mounting bolts to 47 N·m (35 lb ft).


    Object Number: 491673  Size: SH
  13. Tighten the HPL as specified below.
  14. Tighten
    Tighten the HPL to a nominal torque of 305 N·m (225 lb ft) at 0 degrees. You must compensate for the torque wrench and the HPL crowfoot offset. Refer to the formula below for compensation of your torque wrench.

    Important: Ensure the J 43602 is straight on the torque wrench.

  15. To obtain your dial reading perform the following procedure:
  16. • Multiply your torque wrench length in inches by 305 (225).
    • 18 inch torque wrench example: 18 X 305 = 5490.
    • Add 3 to the length of your torque wrench.
    • 18 inch torque wrench example: 18 + 3 = 21.
    • Divide the first value obtained by the second value obtained. The result indicates the amount of torque your wrench should tighten the HPL to.
    • 18 inch torque wrench example: 5490 divided by 21 = 261.4.
    • For an 18 inch long torque wrench tighten the HPL to 261.4 N·m.

    Object Number: 763013  Size: SH
  17. Install the HPL port fittings (4, 8) with new O-rings. Lubricate the new O-rings with petroleum jelly.
  18. Tighten
    Tighten the fitting to 48 N·m (35 lb ft).

  19. Install the fuel tank pressure (FTP) sensor (2) with a new O-ring. Lubricate the O-ring with petroleum jelly.
  20. Tighten
    Tighten the sensor to 27 N·m (20 lb ft).

  21. Connect the FTP sensor connector (1).
  22. Connect the HPL solenoid connectors (5, 7).

  23. Object Number: 1489671  Size: SH
  24. Ensure that the HPL line fittings and the fuel lines are properly oriented. On ZW9 vehicles the FTP sensor should be at the 12 O'clock position.
  25. Loosen the tank strap bolts and rotate the tank as required in order to align the fuel line and fittings.
  26. Tighten
    Tighten the tank strap mounting bolts to 47 N·m (35 lb ft).

  27. Connect the tee fitting (3) to the HPL fitting (2) with a new O-ring face seal. Lubricate the O-ring face seal with petroleum jelly. On ZW9 vehicles connect the fuel outlet line to the fitting.
  28. Tighten
    Tighten the line fitting to 37 N·m (27 lb ft).

  29. Connect the fuel line fitting (4) to the tee fitting with a new O-ring face seal. Lubricate the O-ring face seal with petroleum jelly. On ZW9 vehicles connect the fuel inlet line to the fitting.
  30. Tighten
    Tighten the line fitting to 37 N·m (27 lb ft).

  31. On ZW9 vehicles proceed directly to Step 30.

  32. Object Number: 794990  Size: SH
  33. Slide the lower tank cover mounting bracket over the HPR and into position.
  34. Install the lower tank cover mounting bracket and bolts (2).
  35. Tighten
    Tighten the bolts to 50 N·m (37 lb ft).

  36. Attach the HPR coolant hoses to the lower tank cover mounting bracket retainers.

  37. Object Number: 757008  Size: SH

    Important: Do not hold the HPR using the HPR cover hex flange. As required wedge a wrench between the HPR and the tank frame in order to keep the HPR from spinning in the bracket.

  38. Install the HPR mounting nut (1).
  39. Tighten
    Tighten the nut to 54 N·m (40 lb ft).


    Object Number: 327075  Size: SH
  40. Install the filter spring (4), filter (3) and seal (2) into the HPR inlet port.
  41. Caution: Natural gas is stored under high pressure. If a leak occurs, the high pressure could cause a personal injury. In order to prevent Compressed Natural Gas (CNG) fuel leaks, always replace the CNG fuel system O-rings during service.

  42. Install the HPR fuel inlet line fitting (6) with a new O-ring. Lubricate the O-ring with petroleum jelly.
  43. Tighten
    Tighten the fuel line fitting to 48 N·m (35 lb ft).


    Object Number: 794992  Size: SH
  44. Install the fuel filter and line assembly.
  45. Tighten
    Tighten the bolts (1) to 27 N·m (20 lb ft).

  46. Fasten the fuel line at the lower tank cover mounting bracket (4) and the tank strap (3).

  47. Object Number: 762011  Size: SH
  48. Connect the HPR fuel inlet line (3) with a new O-ring face seal. Lubricate the O-ring face seal using petroleum jelly.
  49. Tighten
    Tighten the fitting to 37 N·m (27 lb ft).


    Object Number: 763174  Size: SH
  50. Install the upper tank cover mounting bracket (1).
  51. Tighten
    Tighten the bolts to 8 N·m (71 lb in).

  52. Ensure that the HPL manual shut-off valve is open by turning the Allen screw valve counter-clockwise until fully seated.
  53. Caution: The high pressure lock-off solenoid seal is more likely to leak at a lower fuel pressure. Always perform the fuel leak procedure exactly as specified. Failure to follow the proper procedures may result in serious injury or damage to the vehicle or part.

  54. Fill the tank and using the J 45878 inspect the HPL O-ring for leaks at each of the following pressures:
  55. 31.1. 3 447 kPa (500 psi)
    31.2. 10 342 kPa (1,500 psi)
    31.3. 20 684 kPa (3,000 psi)
  56. Connect the negative battery cable. Refer to Battery Negative Cable Disconnection and Connection in Engine Electrical in the C/K Pickup Service Manual.
  57. Prime the CNG fuel system by cycling the ignition ON and OFF several times.
  58. Start the engine and use the J 45878 in order to inspect for CNG fuel system leaks at each serviced fitting.
  59. Install the fuel tank cover. Refer to Fuel Tank Cover Replacement . Install the truck body or side panel as required on ZW9 equipped vehicles.