GM Service Manual Online
For 1990-2009 cars only

Tools Required

J 45878 Combustible Gas Detector

Removal Procedure

  1. Relieve the fuel system pressure. Refer to Fuel Pressure Relief .
  2. Caution: Unless directed otherwise, the ignition and start switch must be in the OFF or LOCK position, and all electrical loads must be OFF before servicing any electrical component. Disconnect the negative battery cable to prevent an electrical spark should a tool or equipment come in contact with an exposed electrical terminal. Failure to follow these precautions may result in personal injury and/or damage to the vehicle or its components.

  3. Disconnect the negative battery cable. Refer to Battery Negative Cable Disconnection and Connection in Engine Electrical in the C/K Pickup service manual.

  4. Object Number: 756969  Size: SH
  5. Disconnect the low pressure lock-off (LPL) solenoid electrical connector (5).
  6. Disconnect the fuel inlet line (1) from the LPL fitting (2).

  7. Object Number: 757010  Size: SH
  8. Remove the intermediate pressure regulator (IPR) fuel outlet line hold-down nut (6).
  9. Remove the fuel outlet line hold down (4).
  10. Disconnect the IPR fuel outlet lines (5, 8) from the IPR (2).

  11. Object Number: 756975  Size: SH
  12. Remove the IPR/LPL bracket nuts (3).
  13. Remove the IPR/LPL assembly from the vehicle.

  14. Object Number: 762368  Size: SH
  15. Remove the bolts (3) that retain the IPR/LPL assembly (1, 4) to the bracket (2).

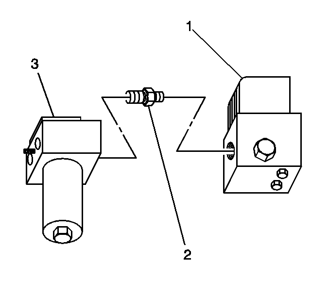
  16. Object Number: 762374  Size: SH
  17. While holding the line union (2) rotate and remove the IPR (3) or the LPL (1) as required.

Installation Procedure


    Object Number: 762374  Size: SH

    Important: Apply pipe thread sealant with Teflon® to the threads of the line union (2). Do not use Teflon® tape.

  1. While holding the line union (2) rotate and install the IPR (3) or the LPL (1) as required.
  2. Tighten
    Tighten the IPR or LPL hand tight plus 1- 3 turns as required to align the IPR/LPL assembly to the bracket.


    Object Number: 762368  Size: SH
  3. Install the IPR/LPL assembly (1, 4) to the mounting plate (2) using the attaching bolts (3).
  4. Tighten
    Tighten the bolts to 12 N·m (9 lb ft).


    Object Number: 756975  Size: SH
  5. Install the IPR/LPL bracket (4) to the engine (2) using the attaching nuts (3).
  6. Tighten
    Tighten the nuts to 12 N·m (9 lb ft).


    Object Number: 757010  Size: SH
  7. Connect the IPR fuel outlet lines (5, 8) to the IPR (2) using new O-rings (3). Lubricate the O-ring with petroleum jelly.
  8. Install the line hold-down bracket (4) and nut (6).
  9. Tighten
    Tighten the nut to 9 N·m (80 lb in).


    Object Number: 756969  Size: SH
  10. Connect the LPL electrical connector (5).
  11. Connect the fuel inlet line (1) to the LPL fitting (2) using a new O-ring face seal. Lubricate the O-ring with petroleum jelly.

    Tighten
    Tighten the fitting to 37 N·m (27 lb ft).

    Caution: Unless directed otherwise, the ignition and start switch must be in the OFF or LOCK position, and all electrical loads must be OFF before servicing any electrical component. Disconnect the negative battery cable to prevent an electrical spark should a tool or equipment come in contact with an exposed electrical terminal. Failure to follow these precautions may result in personal injury and/or damage to the vehicle or its components.

  12. Install the negative battery cable. Refer to Battery Negative Cable Disconnection and Connection in Engine Electrical in the C/K Pickup service manual.
  13. Start the vehicle and inspect for CNG fuel leaks at the serviced fitting using the J 45878 or an equivalent liquid leak detector.