GM Service Manual Online
For 1990-2009 cars only
Makes
🢒
Chevrolet
🢒
2000
🢒
Chevy K Pickup - 4WD
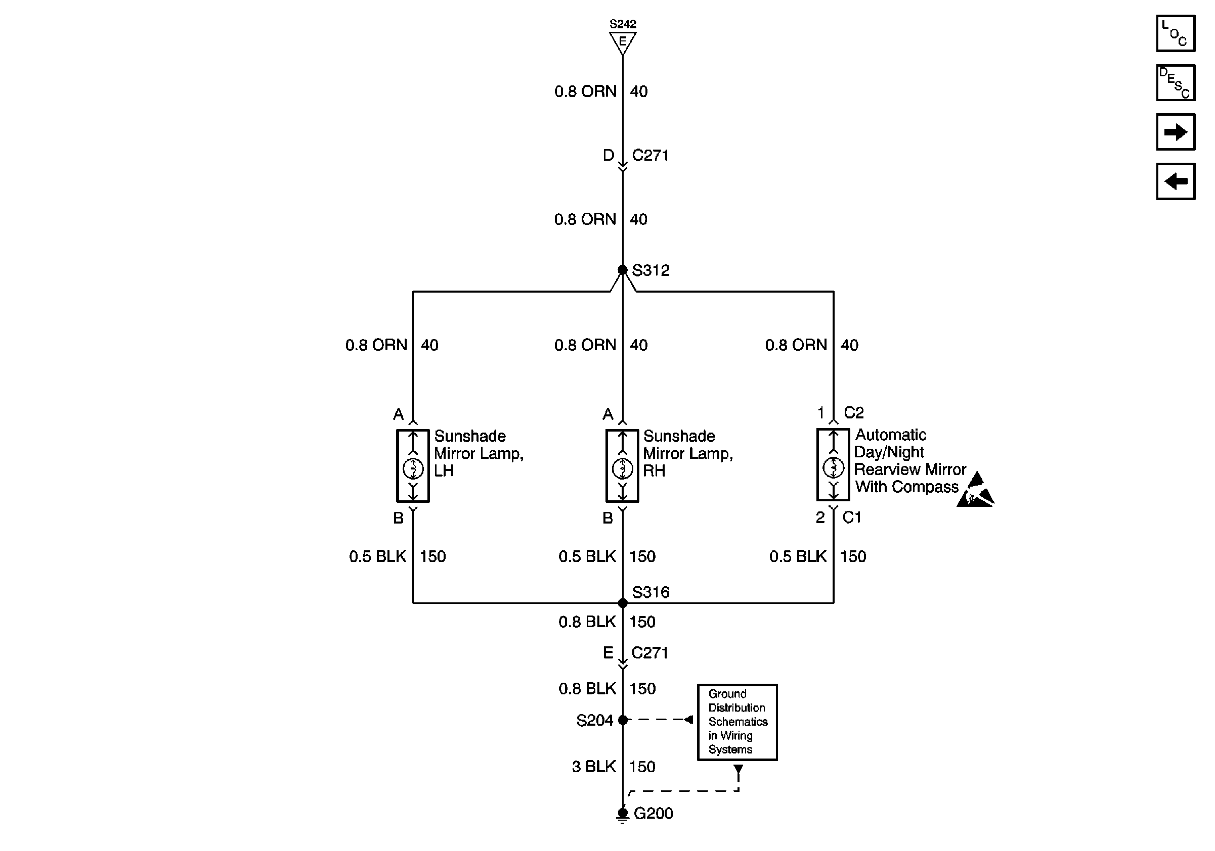
🢒 Illuminated Mirrors
Illuminated Mirrors
Illuminated Mirrors
Lighting Systems Components
Interior Lights Circuit Description Luxury
Dome Lamps and Reading Lamps
Courtesy Lamps and Rearview Mirror Switch
Courtesy Lamps and Rearview Mirror Switch
G200 (1 of 4)